传统的音量控制采用的机械式电位器,易磨损而产生噪声,与遥控电路接口也很复杂。本文介绍的两种轻触式音量控制电路,是用两只轻触按键控制音量的增减,与音响装置和遥控电路接口简单,适合爱好者自己动手制作。

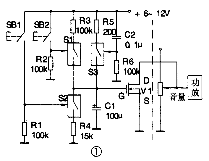
图1是使用VMOS管组成的音量控制电路。音量控制的基本原理是将VMOS管V1作为一个可变电阻并接在音响装置的音量电位器输出端与地之间。V1的D、S极之间的电阻随电压VGS成反比变化,从而可以利用控制VGS实现对音量大小的控制。V1的G极接有3个模拟开关S1~S3和一个电容器C1。其中电容C1起电压保持作用。由于VMOS管G、S极之间的电阻极高,故C1上电压可长时间保持基本不变。模拟开关S1为C1提供充电回路,当S1导通时,电源通过R3、S1给C1充电,C1上电压不断增高,使V1导通电阻越来越小,音量也越来越小;模拟开关S2为C1提供放电回路,当S2导通时,C1通过S2、R4放电,C1上电压不断下降,音量也越来越大;模拟开关S3起开机音量复位作用。开机时,电源经C2、R6微分,在S3控制端产生一短暂的正脉冲,使S3导通,由于RS取值较小,C1很快充到一定的电压,使起始音量处于较小的状态。当按SB1时,S2导通,C1放电,音量增大;当按SB2时,S1导通,C1充电,音量减小。
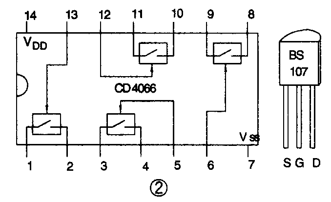
图1中VMOS管V1采用BS107,ST~S3采用一片CMOS四模拟开关CD4066,引脚排列见图2。可任意使用其中的三个模拟开关。

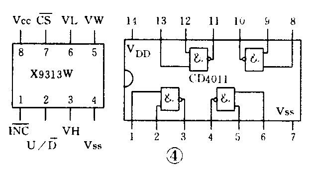
图3是采用专用数控电位器的音量控制电路。X9313W是一片固态非易失性电位器,由内部非易失性存储器记忆可逆计数器的数据,可逆计数器控制31个电阻单元的电阻阵列的接点位置。亦即:VH和VL 之间是31个电阻单元串联,总电阻值为10kΩ。VW相当于滑动触点,由可逆计数器输出的数据控制VW与哪一个触点接通。例如:可逆计数器输出的数据为“00000”时,VW与VL接通;当数据为“11111”时,VW与VH接通。这是两个极端的情况,当可逆计数器数据为其它值时,VW就在VH与VL之间滑动,由此产生了可调电位器的效果。

CS-是片选端,低电位有效,故图3中该端接地,INC-是触发时钟输入,下降沿有效。VW的滑动速度由INC-输入脉冲的频率决定。U/D-是滑动方向控制端,高电平时VW向VH方向滑动;低电平时VW向VL方向滑动。
在图3中,D1、D2组成时钟振荡器,但此振荡器静态时是停振的。按压SB1时,振荡器起振.此时U/D-端为高电平,VW向VH端滑动,所以音量增大;按压SB2时,振荡器亦起振,但此时U/D-端为低电平,VW向接地的VL端滑动,故音量减小。音量增大或减小的速度由1MΩ电位器调整,调好后可用固定电阻代替。
图4是两种IC的引脚功能。

在图1和图3中,由于SB1、SB2的作用只是给受控端施加一高电平,所以与遥控电路接口就变得十分简单。 (李洪明)