X9511是美国Xicor公司生产的一种先进的非易失性数字电位器P\(_{us}\)HPot\(^{TM}\),它改变了以往机械式电位器的操作方式,使产品电路设计数字化。X9511电位器精密可靠,能够用于持久保持数据的场合,用途广泛。
X9511具有以下特点:按钮控制;低功耗CMOS;工作电流最大8mA,等待电流最大200uA;31个电阻单元,有温度补偿,±20%端点到端点阻值范围,电压范围为-5~5V;32个滑动抽头点,滑动端的位置取决于两个按钮输入,慢速和快速扫描方式,自动存储(AUTOSTORE)选项,手动存储选项;滑动端位置存储于非易失性存储器之中,可在上电时重新调用,滑动端位置数据可保存100年;X9511有两个版本,即X9511Z(1k)、X9511W(10k);另有8引脚DIP、SOIC两种封装。
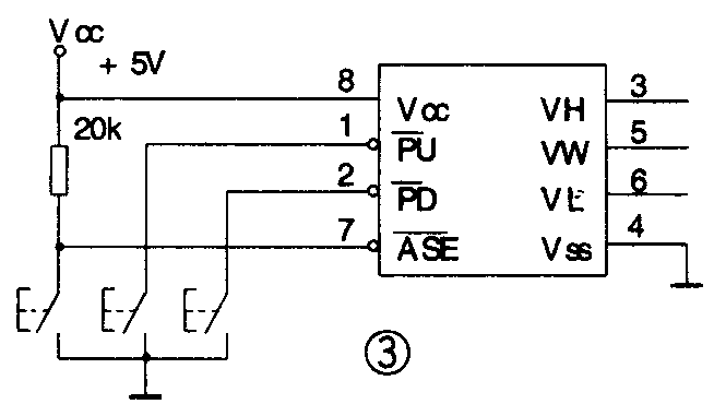
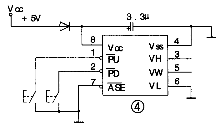
图1是它的功能图,图2是它的外形及引脚图。X9511是一个理想的按钮控制的电位器,它包含了31个电阻单元的电阻阵列,在每个电阻单元之间和任一端都有可以被滑动单元访问的抽头点。滑动单元的位置由PU、PD输入端控制。滑动端的位置可以被存储在一个E\(^{2}\)PROM中,因而在下一次重新上电时可以被重新调用。X9511的分辨率等于最大电阻值的1/31。例如X9511W(10k)每个抽头间阻值为323Ω。


X9511的工作原理如下:
1.X9511有三个部分:输入控制、计数器和译码部分;E\(^{2}\)PROM存储器以及电阻阵列。输入控制部分的工作就像一个升/降计数器,这个计数器的输出被译码而接通一个单接点的电子开关,以便把电阻阵列上的一个抽头点接到滑动输出端。
X9511设计成直接与二个按钮开关接口,以便有效地移动滑动端升或降。滑动端的增大输入端PU-以及减小输入端PD-两者都连接到一个内部上拉,因此它们通常维持为高电位。当由一个外部的按钮开关拉低或者输入一个逻辑低电平时,则滑动端将被切换到下一个相邻的抽头位置。滑动端位置增加或减小的次数取决于按钮被按下的时间长短,当进行一次连续的按下时,在1秒以后,增加或减小的速度加快。因为第一秒钟器件处于慢扫描方式,如果按钮被保持长于1秒钟,器件将进入快扫描方式;当按钮一松开,X9511即返回到等待状态。
当滑动端位于任一固定端点时,就像等效的机械滑动端那样,不会移到超出终端位置,即当计数器达到一个极端时,不会循环回复(当计数器达到全“1”时不会跳到全“0”)。
2.自动存储(AUTOSTORE)
只要芯片检测到V\(_{CC}\)断电而同时ASE-又是使能(保持低)时,计数器的值即被存储到E\(^{2}\)PROM存储器中。当电源恢复时,存储器的内容重新被调用,计数器设置为上次存储的值。
如果要实现AUTOSTORE,典型情况是ASE-被连接到V\(_{SS}\),如果ASE-在上电时保持高电位,而后再被拉低,则滑动端将不对PU-和PD-输入端作响应,直到ASE-被拉高并保持为高。
3.手动(按钮存储)
当ASE-没有使能(保持高电平),可用一个按钮开关把ASE-拉低并释放,以完成一次手动的滑动端位置的存储。
4.V\(_{CC}\)断开时的RTOTAL
一旦V\(_{CC}\)被断开,阵列两个端点之间的电阻(RTOTAL)将会波动。
X9511与机械式电位器比较,有着非常显著的优点:调节更精确;完全没有机械式电位器的电阻碳膜容易变值或接触不良;不受意外影响,如振动、污染等;滑动端位置仅由两按钮决定;易于装配;适合于灯光、音量调节等对数电阻递变的场合。(谢东)

