概述
在工业自动化控制领域中,许多用电设备的电压需要大范围调节,利用固态调压器,可优于手动的接触式调压器。固态调压器运用可控硅调压,通过控制信号的变化,改变可控硅导通角,匀滑地调节负载电压。它适用于调光、调温、调速以及其它功率的自动调节。固态调压器通过采用光电耦合器件使得偏置端、输入控制端与输出端相互隔离,避免了负载电源与输入控制信号间的相互干扰。由于它的输入阻抗高,在利用电压进行调节时,只须输入微小的功率。根据需要,输入端外接电位器,通过调节电位器,同样可实现调压功能。
基本原理
固态调压器由同步信号整流电路、脉冲及锯齿波形成电路、电压比较电路、移相电路等组成。基本原理框图如图1所示。

固态调压器控制对象为50Hz交流负载,它的同步脉冲信号从负载电源中获取,经整流电路、脉冲形成电路即可得到100Hz的重复脉冲。在脉冲形成电路中,通过光电耦合器形成开关电路并实现了变换后的波形与负载电源间的电隔离。
在波形变换电路中,通过重复脉冲的控制作用及调整对电容的充电电流,形成了具有良好线性的100Hz锯齿波。输入控制信号与锯齿波不断地经过运算放大器比较运算,输出与负载电源同步的触发脉冲。改变控制信号的幅度,可使系列触发脉冲上升沿相位发生变化,形成移相脉冲。移相脉冲通过触发驱动电路改变了输出功率件可控硅的导通角,达到了输出端调压的功能。
在驱动电路中,由于引入了光电隔离器件,使得固态调压器的输出端与偏置端、输入端产生了电隔离,避免了相互间的干扰。
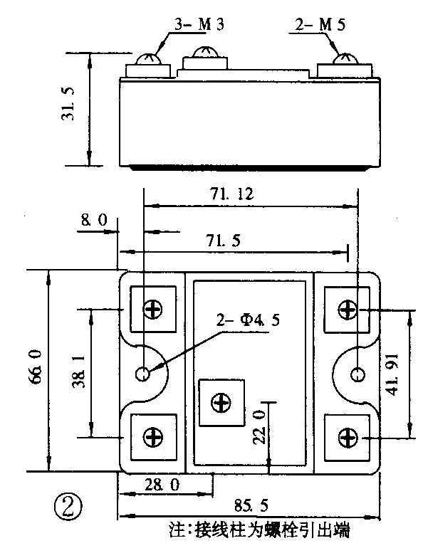
产品外形尺寸及其应用
固态调压器采用密闭式封装、模块形式,其功率件紧靠底板,形成良好的散热通道。输入、偏置端及输出端分别用M3、M5螺钉,便于使用时连接。底板上的两个孔,可方便地将固态调压器安装在散热器及其它物体上。其外形尺寸如图2所示。

它的输入端有三个端子,供输入电压与偏置电压使用。其中一个端子为输入端的公共负极,一个接输入电压,另一个接偏置电压。它的输出端的两端子分别与交流电源及负载相连接。接线方法如图3所示。交流电源、负载通过固态调压器连接后,由于调压器输入端电压变化其输出端电压也相应发生变化,使得负载电压随之改变。
使用过程中,在固态调压器完全导通时,若电流超过20A,则需外配散热器。
1.运用直流电压调节(如图3所示)

偏置电压、输入电压为具有公共负极的两独立的直流电压,电压应具有良好的稳定性。偏置电压设置为定压10V,输入电压在小于偏置电压1.5V左右,即8.5V±0.5V开始调节输出端电压。输入电压与负载电压关系如图4所示。

2.利用电位器进行调节
将1W47kΩ电位器按图5所示连接,此时调节电位器旋钮,即可使固态调压器输出端电压变化。

直流偏置电压10V要求常接。
技术参数
1.输出参数
输出额定电压:220V±15%、50Hz;输出额定电流(完全导通时):10A、 20A、 40A、70A;输出电压降(完全导通时):不于1.5V;输出漏电流(完全关断时):小于20mA;瞬态电压(完全关断时):≥603V(有效值)。
2.输入参数
偏置电压:10V(直流);偏置电流:10mA(最大);输入电压:0~8.5V(直流);输入电流:20μA(最大)。
3.其它参数
介质耐压(输出端与底板;输出端与偏置端、输入端)≥1500V(有效值)
结束语
调功器是利用其内部电路的过零导通特性,通过调节控制信号短形波的占空比,改变其输出系列、完整波形所占的时间;调相型则靠调整同步脉冲的宽度,调节输出所占整个波形的比例。
固态调压器属于调相型,即通过改变可控硅的导通角大小实现调压,这种调压方式的缺点是将导致负载上的交流电压波形畸变,并产生高次谐波,伴随着对外界的射频干扰。因此,在使用时要十分注意。必要时可在输出回路串联一电流相当的小电感加以抑制,保持波形整形,以满足负载要求。
输入电压调到一固定值后,稳定度要好,否则影响输出端电压。通过输入电压控制后的输出端电压值,也会随交流电网电压的波动而波动,不具交流稳压动能。(林海涛)

