编者按:为了配合中国科协青少年工作部与本刊联合举办的“少年电子技师”等级证书认定活动,我们特推出《有声有色的趣味电子制作系列》。该系列选用当前电子领域中的新颖器件——音乐、模拟、语言集成电路,让青少年朋友贴近新技术,从较高层次入门电子技术领域。广州袖珍计算机技术服务中心将组织一批相应的制作套件,中小学电子爱好者可以利用双休日和课外活动时间动手制作,在实践中学习电子科学知识,由此走进五彩缤纷的电子世界,亲自去领略科学的神奇与美妙。我们衷心欢迎广大中小学生、辅导员老师积极参与,希望你们(包括学生家长和所有热心人士在内)多提宝贵意见,让我们共同将此趣味电子制作系列办得更有声、更有色。
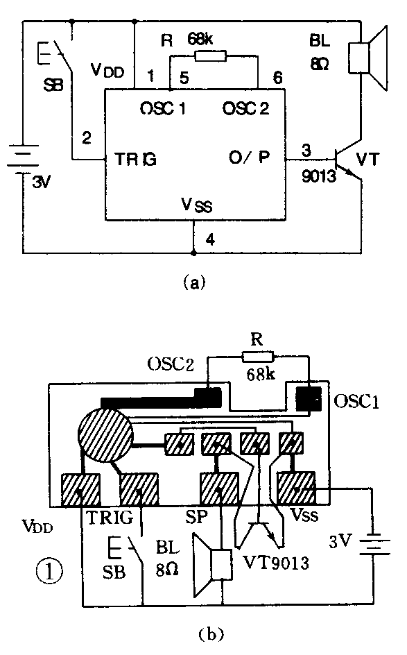
电子音乐门铃是音乐集成电路最典型最普遍的应用之一。音乐集成电路绝大多数采用“软封装”结构,它是一种把集成电路芯片与印制电路结合成一体的半导体集成器件。图1是音乐门铃基本应用电路。图1(a)是电路图,由标准图形和文字符号组成。图1(b)是印制电路板图,由实体示意图和图形符号所组成。

在图1电路中,音乐信号由集成芯片IC(图1(b)中圆形部分)产生。该IC共有6条引脚,分别与6条印制线路连接。其中第1脚和第4脚分别接到电源正(+)极与电源负(-)极,电源通过这2条引脚给IC供电。第2脚和第1脚之间接按钮开关SB,用以控制IC工作,每按一下SB,第2脚就得到一个正触发脉冲信号.使IC输出一音乐信号。第3脚是IC的信号输出端,其输出信号加到晶体三极管VT的基极(b),由VT放大后从集电极(c)送到扬声器BL,使其发出乐曲声。第5脚和第6脚外接电阻R(有的IC把R集成在电路内部,故只有4条外引脚),用来调整音乐信号的节奏快慢。R的电阻值越大,节奏就越慢,反之节奏则越快。通过调整R,可获得悠扬悦耳的乐曲声。
初学者对上述原理,如果一时不能完全理解并不要紧,先有个初步概念就行了,
接下来按图1把元器件逐一插焊到印制电路板上,焊好后应对照图1仔细检查,直到确认没有错误后再接通电源。这时按一下按钮开关,扬声器就会发出音乐声。必要时适当调整一下R的电阻值大小,使得音乐节奏快慢适中。最后把装调好的电路板固定在塑料盒(如肥皂盒,“可乐”瓶等)或工艺品中。至此,一个由自己亲手制作的音乐门铃即告成功。记住:请不要忘了在塑料盒上给扬声器钻些放音孔啊!
在图1电路的基础上,再增加少量元器件,就可以制作出多种功能独特的电子门铃,如:声光音乐门铃、记忆门铃、多曲音乐门铃、对讲门铃、遥控门铃等。如采用“叮咚!您好,请开门”、“欢迎光临”这类语言电路,还可做成“会说话”的门铃(将供应套件及电路资料)。

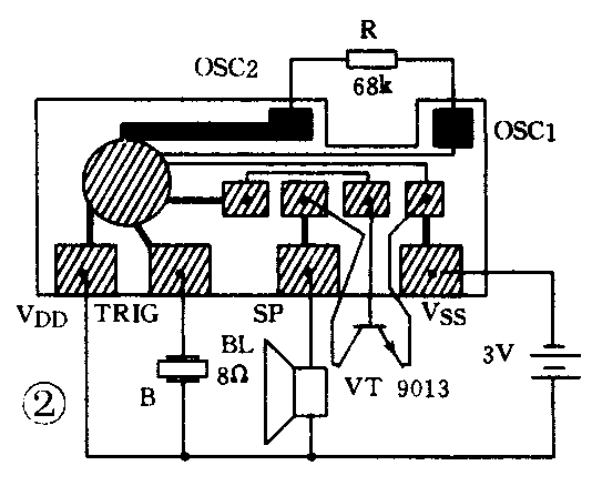
图2所示的音乐门铃,它没有普通音乐门铃所用的按钮开关,取而代之的是压电蜂鸣器(B)。客人来访时用手轻轻敲门,室内的门铃就会奏起欢快的迎宾曲。请同学们把图2的印制电路图改画成电路原理图。图2中的B是压电蜂鸣器。
下期预告:全电子录音机 (王南阳)