4.磁鼓旋转检测
微处理器对于磁鼓旋转与否的检测是通过检测伺服电路中产生的25Hz磁头开关脉冲来实现的。如果收不到磁头开关信号,数秒后录像机就会保护性停机,所以这一部分电路故障的典型故障现象为机器其它功能正常,唯放(录)像数秒自动保护,如果拆开机器检查,保护前磁鼓始终正常旋转。磁鼓旋转检测的检测端口设置在鼓电机组件中,大多数机器采用霍尔元件作为检测器,也有使用光电检测或其它方式的检测器。与其它各类检测系统不同的是微处理器并不直接检测端口产生的信号,而是检测经过处理后形成的磁头开关信号,由于信号经过伺服电路,检测部位相对来说要多一些。图3(a)为松下G33录像机磁鼓旋转检测系统简图,TP2001是磁头开关信号的主要检测点,若TP2001处无开关信号,机器必然保护性停机,可顺序测量IC2101和IC2901的相关引脚来确定信号在何处丢失。例如:一台G33录像机快进快倒磁带正常,按放像键机器运转数秒自保,查TP2001点无磁头开关信号,改测IC2101⑨脚波形,信号正常,由此判断电路板有断路点。对印制电路板进行查看和测量,查出为副主电路板与生电路板相连的插脚虚焊。再如:一台东芝94录像机播放磁带时机器保护,经过对故障现象的观察,判断属于磁鼓旋转检测系统故障,检测微处理器IC601⑦脚无磁头开关脉冲,改测伺服电路中的IC501⑨脚输出信号,正常。顺路查找,确定为倒相电子开关Q518损坏,更换Q518,录放功能均恢复正常。在检修中也有检测信号在伺服电路中断的故障机器。笔者在检修一东芝94CM录像机就曾遇到这种情况,信号在伺服电路中断。其故障现象与上述两例基本类似,不同点是短暂的图像画面失去彩色,且很不稳定。该机检测系统简图见图3(b),当时检测主伺服集成块IC501⑧脚无磁头开关脉冲输出,而其、输出信号FG、PG波形均正常,对IC501外围电路检查未能发现问题,最后怀疑IC501损坏,更换IC501后故障排除。有些新型机器使用的微处理器将伺服电路置于其中,我们仍可通过检测磁头开关信号来判断故障点,如松下J25一类机器我们可以通过测量微处理器IC6001的7波形看有无磁头开关信号,但这里测得的信号是输出信号,输入端为IC6001的。

磁鼓旋转检测系统的检测元件均安置在鼓电机组件中,该元件的主要作用是提供PG信号,由于不同厂家生产的不同型号的录像机鼓电机组件结构不同,因此检测器件损坏所产生的故障现象也不相同。松下各类录像机的检测器损坏所产生的故障现象一般是磁鼓不转,只是在初始阶段晃动几下,其故障特征较为明显,检查范围主要是鼓驱动电路和鼓电机组件,如果鼓驱动电路没有电压异常点,就需要检查检测器——霍尔元件是否损坏。检查时用手旋转磁鼓,利用示波器测量霍尔元件输出端波形,也可使用万用表测其电压波动幅度,还可以将霍尔元件卸下测量4只引脚间的电阻值来判断是否损坏,正常时各引脚间的阻值应基本相同。如确定损坏,只有更换才能排除故障,若置换的霍尔元件与原霍尔元件外形不同,安装时还需注意方向,方向不对磁鼓仍然不会旋转。这时只要将霍尔元件在水平方向旋转90°即可。在东芝、日立等一些厂家生产的录像机磁鼓旋转检测器件损坏后往往磁鼓仍可旋转,甚至还能看到图像出现,例如:一台日立427录像机,使用者反映播放磁带时常中途停机,利用示波器对机器进行监视性检测,发现在停机前数秒检测信号幅度减小以至消失。当检测点为伺服集成块IC601(HD49716NT)时,情况仍然如此,由此判断霍尔元件不良,更换后则不再停机。
5.带盘旋转检测
带盘旋转检测器一般都置于收带盘下,有些机型的机器供、收带盘均装有检测器,所用元件以霍尔和光电器件居多。当机器正常运转时收带盘转动使检测器产生脉冲送往微处理器,微处理器接收到这一信息便认为运转正常,如果收带盘不转,检测器无脉冲送出,微处理器数秒内便发生保护指令。这一部分的故障特征也非常明显,即机器运转正常,但无论播放或快速进倒带均数秒停机。早期机型的带盘旋转检测还有一种功能,对磁带运行量进行计数,这一类机器产生此故障时计数显示便停止不动了。在很多机器中带盘旋转检测信号直接送往微处理器,通常测量微处理器相应输人端口引脚和检测器输出信号波形(或电压波动幅度)基本上可以确定故障点,但有时也会发生意外情况,例如一台松下L15录像机,机器运转正常,但无论放像或快速进倒带均保护性停机。该机的带盘检测系统电路见图4,检修时首先测量IC1501输出端及IC2001波形,波形幅度与正常机器相比偏小,怀疑IC1501不良,更换IC1501,故障依旧,改测IC1501供电电压,其发光二极管的供电电压正常,而光敏管端点电压值不是一个固定值,它随带盘位置的改变而改变,初始阶段因忽略了这一因素所以始终找不出故障原因,后经反复检测发现故障机光敏管端点电压最大值比正常机低近1V,这种机器的光敏管供电电压来自音频电路,并且在录、放两种状态时其供电回路也不同,放像时REG 12V经R4038、R4027给光敏管提供电源,而录像时由于QR4001导通,这一路电压被短路,改由IC4001供电。对这部分电路进行检测,很快便查出电压偏低而造成机器误动作的原因是由于QR4001不良而引起的。对于这一例故障若熟悉电路特点,改用录制方式使机器运转,则机器不再保护,据此立即可判断故障出在音频电路部分。

有些录像机中供带盘和收带盘均设置了检测器,如东芝95C型机器(见图5a),该机还使用运放集成电路IC162(TA7539)对检测脉冲进行放大处理,其电路就显得复杂一些了,但检查方法仍与一般机型相同。在检查中如果测得IC162输入端信号正常而输出端无信号,在排除外围器件出故障的可能后就应考虑更换IC162,如果输入端也无脉冲信号,很可能是因霍尔元件损坏所致。若找不到合适的霍尔元件替换,应急修理时也可将电路进行改动使机器能正常工作,在IC162有信号输出的端点增加一只晶体管进行隔离放大后送往IC501无脉冲信号的引脚,改动方法见图5a虚线部分。松下J25、J27一类机器中也设置了两只带盘旋转检测器,如果其中一只损坏,无配件更换时同样可以使用这种方法使机器正常工作(见图5b)。为使应急修理有可能引起不良后果的机率降低,应将能正常工作的检测器置于收带盘下。笔者在检修日立427一类机器时也曾遇到因带盘旋转检测霍尔元件损坏而不能正常工作的情况,当时找不到合适的霍尔元件替换,为使机器能够运转,曾将伺服电路中的CTL脉冲通过一只电容引入微处理器的相应检测端口,这种方法的缺点是除录制信号外没有信号的磁带不能在机器中运转,而且计数显示速度变快,最主要的是失去了此项保护功能,因此也是不得已而为之。

6.防误抹检测
录像机的防误抹功能是由一只检测开关来完成的。普通录像带置入带仓检测开关受压而闭合,而撬掉防误抹挡舌的录像带置入,检测开关不闭合,按录像键机器则进入保护状态。如果未撬挡舌的磁带置入录像机也保护,则为这一装置故障,常见故障为电路断线,防误抹开关弹片变形等,此故障比较易于查找和修复。值得一提的是有少数机器在录制节目中途突然保护或有时保护有时又能正常的故障现象,这是由于开关触点氧化而造成接触电阻增大所致,打磨触点和校正弹片即可排除故障。在有的录像机中录制信号设置了附加功能,如果出现问题也会产生不能录的故障,但其故障现象往往与防误抹检测失灵所产生的症状有异,因此不必在这一部分电路中多费功夫。例如一台松下L15录像机,其它功能均正常,唯操作录像键时不走带,显示屏显示暂停符号。L15机器防误抹功能的保护方式为将磁带排出带仓,该机应不属防误抹检测系统故障。笔者首次检修这一故障时曾测量了微处理器各相关引脚电压值,并与正常机器处于录像暂停状态时的电压值相比较,数据完全相同。将正常机器暂停状态解除,再次测量并分析电平值改变的引脚电路,从中发现IC20019在暂停状态解除后由低电平变为高电平,IC2001的9是信号输入端口,由此推断故障机始终处于暂停状态应是由于其IC20019的低电平所致。从电路上看IC20019通过电阻R6054接5V电源,另外它还通过R6063接摄像机遥控插孔,经检查为插孔短路。
7.湿度检测
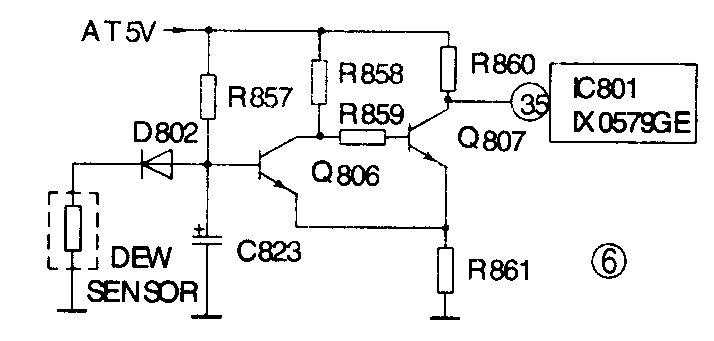
录像机通常都使用湿敏电阻作为检测端口来检查机内湿度。为防止因湿度过大磁鼓表面结露,磁带与磁鼓表面粘连而使磁带运行受阻,微处理器收到检测器送来的湿度过大信号后会关闭各种功能,并在显示屏上显示结露符号。这时我们会发现除磁带能进出带仓外,其它操作功能均不起作用,如果打开机盖可看到磁鼓始终旋转不停。据笔者的维修经验,录像机正常结露一是由于使用前环境温度变化太大,二是江南霉雨季节环境湿度极大,除此之外,录像机若出现“结露”现象应视为故障,需要进行检修或调整。检修时可首先测量湿敏电阻的对地电阻值,测量中对湿敏电阻哈气,正常时湿敏电阻的阻值可从数百欧增大到数千欧甚至数十千欧。若测得阻值始终很大,则说明该处有问题,大都为湿敏电阻虚焊或接地不良,进行处理后机器即可恢复正常。少数为湿敏电阻本身损坏,考虑到湿敏电阻有时不易购买,应急修理可将湿敏电阻引线头直接短路(有些录像机不使用结露检测装置)。如果湿敏电阻正常,就需要检查电路部分,在许多机器中湿敏电阻输出的湿度检测信号经过放大后再送往微处理器,如果中间环节出了问题,录像机肯定会误动作,但是在很多情况下检查电路也查不出有故障的元件,这就属于元件参数变化而造成动作点漂移,可以重新调整解决。图6为夏普K88录像机湿度检测电路,使用了Q806、Q807两只晶体管对湿度信号进行放大,Q806的基极偏置由R857、D802和湿敏电阻分压取得,湿敏电阻是Q806下偏置的一部分,其阻值增大后Q806集电极电位下降,而Q807集电极电位则升高,微处理器IC801(IX0579GE)电压一旦达到动作点,录像机就进入保护状态。在这一电路中改变R857的阻值就可以改变录像机的结露动作点。 (郭一仁)
