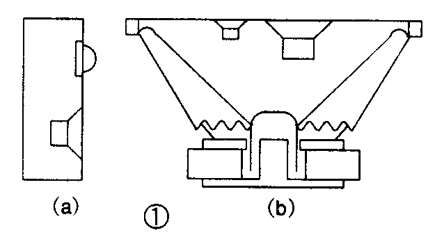
高保真放声系统中,最基本的要求之一就是希望扬声器应具有相当宽广的有效放声频率范围。一般认为,人耳对声波的听觉频率范围是20~20000Hz。那么对理想扬声器的有效频率范围当然也应该是20~20000Hz,至少也应能保证在40~16000Hz的频率范围内扬声器能均匀有效地放声。非常遗憾的是在绝大多数情况下能覆盖如此宽广频率范围且又具备满意特性的扬声器实在为数极少。迄今为止,在Hi-Fi系统中音质和价格均能为人们接受的首选扬声器种类仍是动圈式扬声器。对动圈式扬声器来说,其口径越大越有利于重放低音,但大口径扬声器对高音的重放则极为不利;反之,小口径扬声器虽有利于重放高音而低音效果却不好;那些能兼顾高音和低音的所谓全频带扬声器则既无法得到满意的低音和高音,且无法得到满意的功率和失真。为此我们在实际应用中总是充分利用大口径扬声器有好的低音特性和小口径扬声器有好的高音特性的长处,将大口径扬声器和小口径扬声器通过分频器有机地组合形成组合扬声器系统,使之达到Hi-Fi放声所需的宽频率范围的目的。图1所示的是两种形式的组合扬声器系统,图1-(a)是包括一只大口径低音扬声器和一只球顶状高音扬声器的两分频箱式组合扬声器;图1-(b)是包含一只大口径低音扬声器、一只中等口径的中音扬声器和一只小口径扬声器组成的复合式扬声器,它们都可能得到宽带放声频率。

高保真放声对扬声器(包括扬声器系统,以下仍统称为扬声器)的第二个基本要求是要有较宽的指向性。扬声器的指向性是指当扬声器发声时,在空间不同的方向上有着不同的声特性。扬声器的宽指向性是指在扬声器发声对在其正面比较大的范围内相同距离时有着大体相近的声音响度;同样地,扬声器的窄指向性是指在扬声器的正前方,只要略为偏离轴线一个很小的角度,其声音的大小就有很大的跌落。扬声器的指向性通常用角度来表示,角度大表示指向性宽,角度小则意味着指向性窄。对Hi-Fi放声用扬声器来说,我们希望扬声器正面轴线±60°的区域内都有较为接近的声音响度。扬声器的指向性与其口径大小、振动盆的形状以及所发出声音的频率有失。扬声器的口径越大,工作的频率越高,其指向性角度则越窄。
在现实生活中,人们之所以能辩别出发声体的方位,其原因就在于我们能通过到达人耳的声音大小,以及到达两耳声音的微小差异(相位差)和视觉信息等进行综合判断的。在Hi-Fi放声中,由于缺乏视觉信息,我们要想辩别出诸如交响乐中第一小提琴位置、电影中汽车移动等声源位置的定位或移动,那就只有依靠扬声器发出声音的强弱变化以及两组(或两组以上)扬声器分别发出声音到达双耳的相位差并由大脑加工判别。当然作为Hi-Fi放声声源的LD、CD、VCD等应含有让人们作出准确判断的声音信息量。我们把听音中想象出的发声体叫作声像,声像在想象中的空间位置叫作声像的定位。在Hi-Fi放声中,放声效果的优劣一是看对原始声音逼真度的体现,二是看声像定位的准确与否,而声像的定位在很大程度上与扬声器的指向性有关。
现在我们再来粗看一下扬声器的指向性对声像定位的影响。为便于说明,我们以常见的两分频箱式组合扬声器为例。当我们处于偏离音箱轴线某处(如图2中A点)聆听音乐时,低音信号来自低音扬声器,高音信号来自高音扬声器;而分频点附近的声音信号,由于分频器的特性(如图3)而使得高低音扬声器同时工作。一方面由于高低音扬声器安装存有间距,两扬声器到听音者之间有一定的路程差,听音者首先听到来自近处扬声器的声音。另一方面,由于扬声器的指向性而使得在A处即使来自于同一扬声器(如低音扬声器)的声音信号,由于声音频率不同而声音大小不一样,频率越高声音越小。再加上由于在分频点附近,我们听到的是来自两只扬声器的声音。鉴于上述三种原因而使声像模糊不清,得不到确切的位置。用这种扬声器在聆听立体声时,会使本来应当自左向右驶去的汽车经扬声器放声后得到的印象却是汽车突然在左扬声器出现然后晃晃悠悠地突然跳至右扬声器,然后在右边的某处突然消失掉,这就是我们通常所讲的声像定位不准,听这样的立体声确实使人失望,毫无“立体”之感。由此可见,高低音扬声器安装的相对位置及其指向性在Hi-Fi放声中是非常重要的。


为了克服上述组合扬声器由于高低音扬声器安装位置有间距和由于扬声器指向性不同等因素造成声像定位不准的弊端,我们很自然地想到我们可以尽可能地将高低音扬声器安装间距缩小。作为这种缩小结果的极端,就是将高音扬声器同轴地装到低音扬声器前面,从而形成了传统意义上的同轴扬声器,如图4-(a)所示。不过,仔细地研究可以发现高低音扬声器的同轴安装虽然将两扬声器(或更多扬声器)的上下左右间距减少到最小程度,然而由于高低音扬声器发声中心,如图4-(a)中的A、B点,在轴向仍存有一段距离,这尽管不大的距离仍会或多或少地影响声像的定位。为此众多声学工作者千方百计为缩小A、B两点间的距离而进行了不懈的努力,并取得了进展。英国KEF的“同轴共点”扬声器就是这种扬声器,如图4-(b)所示。这种扬声器由于高低音发声中心为一点,形成了我们通常所说的“点声源”。这样,人们不论在任何位置聆听音乐,从高低音扬声器分别发出的声音到达人耳时无路程之差,而且只要分频点选择得当就可使高低音扬声器的指向性衔接得恰到好处。图4-(c)所示对偶同轴式扬声器也是这种扬声器。这种“点声源”式的同轴扬声器可为声像的准确定位提供极有利条件。有一种说法,“可能有一天,所有的扬声器皆采用同轴共点发声技术”。这种说法是否过于偏激姑且勿论,不过笔者认为这种说法在一定意义上也不无道理。 (张金泉)
