编者按:随着改革开放人民生活水平的不断提高,家用摄录机逐渐进入家庭。摄录机是一种集光、电、磁转换于一体的高科技产品,如何正确认识它的结构与功能,如何掌握它的使用方法拍出好的画面,如何对它进行保养以延长机器寿命等,都是不少读者关心的热门话题。这里约请专业工作者撰写此文,以飨读者。
1.什么是镜头?镜头的倍数对摄录机有何影响?
镜头一般有两种含义,一是指由不同透镜组成的光学器件,即照相机,摄像机等设备上的镜头;另一种是指电影、电视拍摄时的一段固定或活动图像的内容。
摄录机的镜头是由许多光学玻璃镜片及镜筒等部分组合而成的光学装置。它的作用是用来接收被摄物体反射来的光,并使其聚焦投射到摄像器件的靶面上,摄像器件然后将所得到的光信号转换成电信号。
光学镜头的一个基本特性就是焦距,即镜头中心到焦点的距离。根据镜头焦距的长短不同可做成长焦距、短焦距、中焦距和变焦距镜头。长焦距镜头的视场角小,摄取的景物范围窄,画面中的景物显得较大;短焦距(广角)镜头的视场角大,摄取的景物范围宽,画面中的景物显得较小。
摄录机由于要满足各种拍摄的需要都采用变焦距镜头,由于它兼有广角、标准和长焦镜头的特点,还可以连续变化景别,在操作使用上非常方便。变焦距镜头通常用镜头的最长焦距和最短焦距之比来表示变焦范围,称变焦比。也就是人们所说的摄录机镜头的倍数。倍数越大说明摄录机变焦范围越宽。拍摄长焦和短焦的能力越强。例如松下M3000摄录机的变焦比是8,变焦范围在5~40mm,则表示该镜头的最短焦距是5mm,最长焦距是40mm。
2.变焦和聚焦两种概念一样吗?有自动聚焦还用手动聚焦吗?
在摄录机与被摄物距离不变的情况下,用变换镜头焦距来改变视角和被摄体的大小,这就是变焦。摄录机操作上称之为推、拉镜头。
聚焦也可称为调焦。当焦距一定时,摄录机与被摄物的距离发生了变化,被摄物的像平面就不能落在摄像器件的受光面上,被摄物图像便模糊不清,当调整镜头前部的调焦环来改变调焦组透镜前后距离,让焦距稍微有所改变让像平面落在受光面上,使被摄物图像清晰则称为聚焦。因此变焦与聚焦是两个不同的概念。
家用摄录机都有自动聚焦功能,这对于初学者来说免去了调焦的麻烦,方便了操作。但是自动聚焦也不可能完美无缺,当被摄体在聚焦区来回运动时,自动聚焦功能则会不断地根据被测电平来回调整焦点,由于机械传动的惰性,在画面上则可看到被摄物总是在调整焦点,图像模糊。这种情况可用手动聚焦快速调准焦点并锁定使画面清晰。另外利用手动聚焦还可以故意将被摄物的焦点从虚到实,从实到虚,产生一些特别的艺术效果。
3.什么是光圈?有何作用?怎样使用?
为了改变摄录机的透光能力,机头前都装有一个由遮光金属片构成的可以改变通光口径的光圈。通过改变光圈的通光口径的大小,可以控制进入摄录机的光线多少。
摄录机的光圈一般用光圈指数F来表示其大小,其值都标在镜头的光圈上。F指数标称值通常为1.4,2,2.8,4,5.6,8,11,16,22等。这一数列的规律是后一数值正好是前一数值的\(\sqrt{2}\)倍。F指数其值越小,表示光圈越大,透光能力越强。当F指数从4→5.6时,进入摄录机的光通量减小一半,而F指数从4→2.8时,进入摄像机的光通量则增加一倍。
摄录机光圈的调整可以有两种方式,一种是手动调整,一种是自动调整。自动光圈是根据拍摄场景的平均照度而自动调整,每次拍摄只要打开自动光圈就可以不用调整光圈,给操作者带来很大方便。但自动光圈也不能完全代替手动光圈,当拍摄高反差的景物或进行逆光拍摄会有一部分主体景物曝光不足,当表现运动物体如演员从室内走到明亮窗口,自动光圈会快速地闭合或减小光圈,使画面突然变暗。这时如用手动光圈,适当减小或增大光圈,使被摄体正确曝光,会得到主体突出清晰的画面。
4.何为摄录机的快门?电子快门的使用范围?
照相机的快门用来控制胶片的曝光时间,在拍摄运动物体时,一般要选择合适的快门速度,才能使所拍照片图像清晰。
摄录机所拍摄的是连续活动的图像,所使用的是磁带,不存在曝光问题,也就没有与照相机一样的快门装置。但是电视成像在摄像器件的靶面上,摄像器件将光信号转换成电信号是以1/50秒的扫描速度来获取图像,因此也相当于在摄像机上安装了一个1/50秒速度的快门。所以摄录机正常拍摄快门速度是1/50秒。
利用摄录机拍摄高速运动景物时,由于摄录机的惰性,以及扫描速度的限制(相当于1/50秒的快门)在录像机上用慢速重放时,使图像模糊,难以看清。因此摄像机为了拍摄高速运动物体的需要,现在都加有电子快门。电子快门就是利用电子线路在时间上控制CCD芯片上电荷的产生与转移,来获得拍摄高速运动的物体的清晰图像。
电子快门有1/120、1/250、1/500、1/1000、1/2000秒多档级,一般只适用拍摄快速运动物体。使用电子快门时,由于快门速度比正常扫描速度要快,相当于进光量减小,摄像机灵敏度相应下降,图像信噪比降低。因此电子快门应用虽然可提高图像动态清晰度,但降低了摄像机的某些性能。利用高速快门拍摄动态物体,还会使人感到运动不连续,有间断、跳跃感。所以电子快门一般只用于室外高亮度的情况下拍摄快速运动物体,一般拍摄不必使用。
5.摄像中的白平衡如何调整?
我们知道电视图像中,任何一种颜色都是由红、绿、蓝三个基色按不同比例组成的。白色包含这全部的三个基色,白色调好了其它颜色就正了,这就是白平衡。摄像机在出厂前都是调节在3200K色温光照下的白平衡状态,当摄像机拍摄的光照条件发生变化,例如室内碘钨灯与日光灯的色温不同,室外光早上与中午的色温也都不同。如不调整摄像机的白平衡,拍摄的图像将会偏色,因此摄像机白平衡调整是保证被摄图像色彩还原正确的一项重要工作。
家用摄录机没有自动白平衡调整功能,在一般情况下,摄录机的状态开关选在(AUTO)位置时,启动电源开关后,摄录机能自动进行白平衡校正,从而得到较为满意的色彩还原效果。然而,如果在特殊情况下,如强光、光源突变、早晚等情况下,自动白平衡无法获得满意的色彩还原效果,有时为了拍摄颜色的夸张效果,调偏白平衡,这都需要进行手动白平衡调整。
手动白平衡的调整应选用标准白卡纸作为白平衡调整基准,也可选用随机所带的白色镜头盖,先将白卡纸放置被摄光源下,调整变焦镜头使白色物体充满或大于画框的80%,再按动白平衡钮;待寻像器内显示白平衡调整完毕时即可。如果适当夸张黄红色,拍摄日出朝霞或夕阳西下的景象,则要用天蓝色卡纸代替白卡纸调整白平衡,即可达到效果,反之如用淡红色卡纸调整白平衡,可拍摄出偏冷色调的画面效果。
6.摄录机要掌握哪些基本要领?
电视画面拍摄的好坏与摄像人员的基本操作有关,质量优良的画面除了要有美的构图外,掌握基本操作要领非常重要。
稳·电视画面不稳,镜头晃动影响了画面内容的表达,给人一种不安定感。所以在拍摄过程中无论是固定镜头还是运动镜头,摄录机身都要相对稳定。为了能拍摄稳定画面要优先考虑使用广角镜头拍摄,拍摄长焦镜头的特写时,尽可能利用三脚架拍摄。
清·电视图像画面的清晰是对拍摄人员的基本要求。要使每个镜头清晰,必须要准确调焦。无论是拍摄远处还是近处的物体,都要先把镜头推到焦距最长的位置,调整聚焦环,使图像清晰,然后再拉到所需的合适的焦距位置拍摄。在长焦状态下调焦是使用变焦镜头拍摄清晰图像的基本要素。
平·拍摄的图像在摄录机寻像器上看应该是横平竖直。即景物中的水平线应与显示屏横边框平行,垂直线应与竖边框相平行。如果拍摄的建筑物不平直,就会给人一种要倒塌的错觉。
准·准是指录制的内容要求准。即景物的构图准确,被摄主体在构图的主要位置,不能偏离画框,起幅落幅的位置要准,画面色彩还原也要准确。
匀·匀是指摄录机在运动拍摄时速度要均匀,无论是推、拉、摇、移运动过程要流畅,运动的速度不能忽快忽慢或中间有停顿现象。
7.家用摄录机有哪些自动保护功能?
家用摄录机一般都是由电脑芯片组成的系统控制电路,对摄录机各部分设置了较多的自动保护功能,日常使用中经常遇到有以下几种。
(1)遇到故障自动断电保护。摄录机是高集成度高精密的电子产品,一旦内部的机械、电路部分出现故障便会自动断电保护,以免造成大的损失。这一保护只有在故障排除后才能解除。
(2)电池报警。当摄录机的电池被用尽,检测电路被检测出后,寻像器出现电池告警显示,如不及时关断电源拿出电池,则会自动切断电源,防止了电池的过放电。
(3)磁带检测。摄录机的带仓如无磁带,寻像器会自动显示,如磁带走到带头带尾都会自动检测并自动停机。
(4)磁带防误抹。当摄录机使用了一盘被挖掉防误抹挡舌的磁带,摄录机无法开启录像钮。
(5)结露检测。当摄录机从低温移到高温环境工作,如寻像器出现DEW显示,则说明机器正结露。此时机器不能工作,待结露消除后方可工作。
(6)磁头堵塞告警。当使用较脏的磁带和发霉磁带时把磁头弄脏,寻像器显示告诉磁头无法摄录需要清洗。
(7)长暂停自动断电。摄录机在拍摄暂停时磁鼓还在旋转,磁带还在加载状态,当暂停时间超过6分钟时,则自动取消暂停状态关闭电源,保护磁带不被磨损。
8.家用摄录机供电方式有几种?
家用摄录机供电方式有两种,一种是电池供电,一种是利用交流转接器(或称交流适配器)为摄录机供电。
电池供电对于摄录机来说,外出摄像携带、操作都较方便,不足之处是供电时间有限,电池充电时间长影响拍摄。摄录机一般使用的都是镍镉电池。在正确使用的情况下,一个电池使用次数可超过300次,但使用不当,会影响电池寿命,所以使用电池应注意以下几点。
(1)电池的充、放电的周围环境温度应在10~40℃之间,高于或低于此温度都会缩短电池的使用寿命。
(2)镍镉电池应使用专用的充电器充电。因专用充电器对电池充电设有自动保护功能,当电池充满后会自动切断电源,以防对电池的过充电。
(3)电池不要过充、放电。过充电就是电池充满后没有使用,又再一次充电而造成过充电。过放电就是电池放进机器使用,出现电池报警后,还继续使用。
(4)镍镉电池在取出保存之前,最好用到寻像器中出现电池报警符号出现时,然后取出电池,保存在干燥的地方。长期存放,最好每六个月或三个月能充电和放电一次。
(5)不能用导线短接电池的正负极,因电池的内阻较小,短路电流很大,容易烧坏电池。
利用交流转接器供电可以解决电池供电时间短的缺点。一般在室内固定拍摄采用交流转接器可以长时间供电,这样可以节省电池的充放电次数,延长电池使用寿命。使用交流转接器时应注意电源电压是否符合要求。
交流转接器除了可以给摄录机供电外,还有一个功能是作镍镉电池的充电器,利用它可为电池充电。有的摄录机配带的交流转接器上装有射频调制器,它能与摄录机的视频、音频输出连接,输出射频信号供无视、音频输入功能的电视机收看所拍内容。
9.寻像器中字符显示的含意是什么?
我们在摄像过程中通过寻像器可以看到有字符显示,这些字符随着摄录机工作状态的变化而相应改变,因此显示的字符提供着机器当前所处工作状态的信息。现以松下NV-M3000摄录机为例(字符显示见图1),介绍一些主要显示字符所代表的意义。

①摄录工作指示:此处显示机器的工作状态,暂停显示PAUSE,录像显示REC,快进显示6快倒显示7放像显示摄录机插入编辑显示INSERT,后配音时显示A.DUB。
②变焦倍数指示:随着变焦杆的推拉,显示的数字相应变化。
③手动光圈指示:当AUTO/MANUAL开关置手动(MANUAL),按动(IRIS-CLOSE)或(IRIS-OPEN)时,表示光圈减小或增大到F-3~F+3中的某一值。
④电子快门指示:当AUTU/MANUAL开关置手动,按动SHUTTER钮,可选1/120~1/8000 7挡快门速度中的任一挡。
⑤手动聚焦指示:MF显示当前机器处在手动聚焦状态,MF消失表明机器处在自动聚焦状态。
⑥数位变焦指示:数位变焦有两种显示,D.ZOOM1表明画面可被电子变焦范围增至12倍,D.ZOOM2表明变焦范围可增至100倍。
⑦电池电压指示:四道横线表示摄录机电池电压的幅值,随着机器的工作,电池电压下降,横线相应减少。
⑧磁带计时器指示:有三种记时功能,0000显示,磁带工作时记数;M0000显示,有记忆功能,能快速查找磁带M0000位置;L0:00.00显示,可记录磁带实际工作的时间。
⑨带仓装带指示:8示,表示磁带没有装入,带仓装进磁带后显示消失。
⑩加接灯光指示:按AUTO LIGHT自动灯光钮,分别显示AUTO-ON-无显示(关闭灯光),AUTO表示加接灯光在低照度拍摄时自动点亮,ON表示灯光打开,无显示表示灯光关闭。
手动白平衡指示; AUTO/MAUNAL开关置MAUNAL时,按动W.B钮时90示缓慢闪动,表示白平衡没调整,快速闪动表示在调整中,闪动停止表示调整完成。
特技拍摄指示;WIPE或MIX显示,按一定操作可拍摄出静止画面与活动画面的划变或混合效果。TRACER显示可拍摄重影效果。
高灵敏度指示:当环境照度低时按GAIN UP钮,可打开机内自动增益电路拍摄,该机有GAIN×4、GAIN×8两档。
定时摄影和间隔摄影指示:该功能有三种显示,SLF20表示机器能自动在10秒钟后定时摄影20秒;SLF表示能在10秒后定时摄影到磁带结束;INF表示机器能以每一分钟间隔自动摄影大约一秒钟。
录制日期、时间指示:按动DATE/TIME钮,日期、时间显示即可记录在拍摄磁带中,显示消失可不让磁带记录当时的日期和时间。
寻像器内显示字符除有以上功能外,还有一些告警指示功能。如“DEW’闪动表示摄录机内出现结露故障;“表示视频磁头弄脏需要清洗;“1闪动表示电池电压耗尽,需要更换电池;“8闪动表示带仓磁带没装,或已装的磁带的防误抹片被挖无法摄录;“2表示用于自动日期的锂电池电压耗尽需要充电;“END”表示拍摄的磁带已用完;“INDEX”短暂出现表示索引信号被录制。
10.什么是组合编辑、插入编辑?如何进行?
在制作电视录像片的过程中,经常要把拍摄不同素材的镜头组接在一起,这种组接是利用带有编辑功能的录像机对记录信号进行有选择的转录,所以也叫电子编辑。在电子编辑中按磁带编录的方式,又可分为组合编辑和插入编辑两种。
组合编辑的录制方式就是按照一定的顺序依次把不同镜头画面以及相应的声音组接在一盘磁带上,组合编辑原理如图2所示。组合编辑中要求每个镜头与前一个镜头都要无间断、无重叠记录、平滑地连接起来,以保证录像带在播放中各个接点不发生跳动。

插入编辑是在已录有连续控制信号的节目磁带上改换时间长度不同的图像或者声音,插入编辑原理如图3所示。用这种录制方式的前提条件是磁带上必须录有连续、稳定的控制磁迹,也就是说插入编辑只能在已用普通录制或组合编辑方式录制了连续的图像信号的磁带上进行。并且只能在有插入编辑功能的录像机上进行,可按说明书操作,这里不再赘述。

家用录像机一般都有组合编辑功能。但是我们在组接画面的过程中直接使用录像键进行组接会发现,已编好的磁带重放时在接点处图像闪动,而利用记录钮的暂停键组接的画面重放时画面连接光滑流畅。这正是因为家用录像机是利用记录状态暂停钮来实现组合编辑功能的。
家用录像机实现组合编辑的原理和过程如图4所示。具体操作过程如下:

(1)在记录状态按下暂停钮,或者在重放状态按下暂停钮后再按记录键,主导轴电机倒转,让磁带后退3秒再前进1.5秒后进入暂停状态。倒退磁带的目的是给组合编辑提供重放时间,保证两素材节目之间至少有一条完整磁迹是重叠的。
(2)当暂停解除后录像机从重放状态转入记录编辑状态,重放期间要使重放的视频信号与要录的信号场同步,并保证编辑重放转入编辑记录,不会因反馈信号变化引起带速变化。
(3)进入记录状态时防止第二素材节目与第一素材节目重叠引起干扰,让记录电流在记录开始的前几秒钟提升一些,然后再降到正常值。
明白了家用录像机的组合编辑原理,进行一般的组合编辑就非常简单。首先分别把放像机和录像机的视、音频输入、输出连接好,如图5所示。将录像机的信号输入选择AV输入;第二将录像机里磁带先录制10秒钟的蓝底背景后按暂停钮(录、放像机一般都有蓝底背景信号输出),并将记数器复零。第三将放像机放进素材带,快速检索找出所需要的画面的开头也就是编辑入点,记下计数器数字后再倒放像数秒后按放像钮,待放像机进入编辑入点的前两秒钟时释放录像机暂停钮,录像机开始编辑录制,待录制到画面的结尾时也就是编辑出点按下录像机的暂停钮,录像机停止记录又倒带几秒后处于暂停状态。第四重新在放像机找出新的素材,重复上述操作,就可将拍摄素材带编成完整的节目带。

11.什么叫后配音?怎样进行混合配音?
电视镜头编辑完成后,要把节目中的声音(如解说、音乐、效果声等)以插入编辑的方法加进规定的画面处叫后配音。
家用录像机有配音功能(AUDIO DUB)的都能进行后配音,摄录机上有(A.DUB)功能也可进行后配音。录像带的后期配音比较简单,但是人们进行后配音不单是配上解说,有时要在加解说的同时加上背景音乐,这就是一种混合录音的后配音。
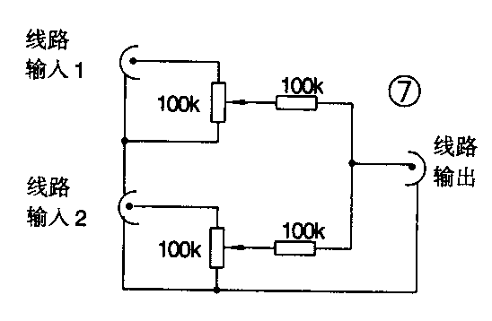
混合录音的声源不是一个,而是多个声源,所以在录像带上混合录音需要先做些准备工作。首先将编辑好画面的录像带复制到一个工作带上,可对着画面在工作带上配上解说。将放像机放出工作带上的解说输出为一路声源,录音机上放出的音乐为另一路声源,然后将两路声源进行混合输出一路配进原录像带的音频声道上。具体连接如图6所示。混合器可以自制一个简易的无源音频混合器,具体连接见图7。用一个小盒子装好,装上输入、输出插口即可。混合配音时只要适当调节混合器上的两个电位器,即输入信号的大小,使解说和音乐强弱有别,就可达到满意的混合配音效果。


在混合录音配音时,一个要注意的问题是音频连接要做到阻抗匹配。因为是家庭录制,设备条件各不相同,输入、输出不一定都有线路输入、输出接口,不同接口连接时要加一个转接电路。像有的收录机没有线路输出(LINE OUT),只有功率输出,欲与线路输入连接时要接一个假负载,如图8所示。再如线路输出需与话筒输入连接时要加接一个衰减器,如图9所示。例如混合器线路输出与摄录机外接话筒输入接口连接进行配音就要加衰减器。如不这样做,将会使信号严重失真,严重时甚至损坏机器。


12.家用摄录机选购应了解哪些性能?
选购家用摄录机首先应知道其录制格式。目前市场上家用摄录机主要有两种格式,一种是VHS-C格式,一种是8毫米格式。这两种格式的摄录机由于带盒、走带方式、机心结构、电路等方面各不相同,因此完全不能互换。
VHS-C格式摄录机使用1/2英寸小型盒式录像带,该带是普通VHS录像带体积的1/4。该机最大的特点是与VHS录像机有很强的互换性,通过磁带转接盒,可把VHS-C摄录机上录制的磁带在VHS录像机上播放。S-VHS-C型摄录机是在VHS-C基础上发展的高带摄录机,摄录时对信号亮度采用超高带处理,清晰度可达400线。由于信号处理电路不同与普通VHS方式不能兼容。为了使用方便S-VHS-C摄录机通常可使用高、低两种磁带。
8毫米摄录机是指它所使用的录像磁带带宽为8毫米,仅为VHS-C录像磁带带宽的2/3。8毫米机由于采用了新技术,不但减小了体积而且图像和声音质量都有所提高。对应于S-VHS-C摄录机,8毫米机也开发了Hi8高档摄录机。由于8毫米摄录机所录磁带不能在广为普及的VHS录像机上播放,因此客观上限制了8毫米摄录机的应用范围。
另外由于各国所采用的电视制式不同,各种摄录机也有PAL制、NTSC制和SECAM制之分。摄录机的交流适配器的电压要求,也应符合我国220V电网电压的标准。这些都是选购时应注意的因素。
摄录机的技术性能也是选购时要了解的重要方面,如镜头的倍数,镜头倍数越大,取景的灵活性就越大。摄录机CCD摄像器件的像素,像素越多,它的清晰度和灵敏度越高。再是摄录机的功能比较,现在机器都是自动白平衡调整,自动光圈,自动聚焦,如果能选带有手动控制功能则使用起来更加灵活。总之摄录机的功能越多,性能越高则价格越贵,各人可根据自己的经济条件和兴趣爱好合理选择。
13.正确使用摄录机的注意要点
摄录机是一种集光、电、磁转换于一体的高技术产品,使用是否得当对于摄录机寿命的影响很大,因此在使用中要注意以下几点。
(1)摄录机不论是否开机使用,都不要长期把镜头对着光源、太阳等极亮的物体。尽管目前摄录机都使用的是CCD摄像器件,相对摄像管来说不怕强光照射,但长期受强光的照射,照样还会灼伤摄像靶面。
(2)不要使用劣质磁带和霉变磁带摄像。因为劣质磁带带基粗糙极易磨损磁头,减少磁头的寿命。劣质磁带会因带盒不规则,易引起机械部分故障。
(3)对于使用家用摄录机来抓拍有价值的录像素材,以供专业编辑机编辑使用时,每次开机启动电源拍摄的第一个镜头前要多录5~10秒。如没有多录5~10秒时,则每次开机的第一个镜头无法在专业编辑机上编辑使用。
(4)摄录机不要长期代替录像机来播放录像带,因为摄录机的磁头使用寿命只有录像机磁头的70%左右,更换磁头又不像录像机那么简单,而且价格也较录像机磁鼓贵,因此是得不偿失的作法。
14.家用摄录机的日常保养
摄录机能否正常使用与经常维护保养密切相关。维护保养得好不仅能使机器经常处在良好的工作状态,而且可减少出故障率,延长机器寿命。家用摄录机的日常保养要做如下工作。
(1)摄录机要经常保持外部清洁,避免灰尘进入机器内部影响正常工作。
(2)镜头是一个十分精密的光学器件,不要用手指、手帕等物擦拭镜头,如有灰尘应用专用清洁剂、吹气球、镜头纸来清洁镜头。
(3)要避免在高温、潮湿和强磁场的环境中使用和存放。环境温度过低和过高,不但使摄录机不能正常工作,甚至可能损坏机器。
(4)摄录机磁头被污物弄脏,应用专用清洗带清洁,也可请有经验的人员用鹿皮沾无水酒精靠在磁头上来回转动磁鼓清洗,切不可在磁鼓上垂直上下擦洗。
(5)对长期不使用的摄录机,要断开电源放置在常温干燥处,特别是霉雨季节,机器要定期通电,进行驱潮处理。一般来说,每一季度应通电一次,每次大约30分钟。
(6)外出长途旅行,摄录机应用专用摄像机包或机箱装好,以减轻机器震动和碰撞,避免损坏设备。
(7)遇到故障应送专业部门修理,不要随意拆卸机器自行修理,因摄录机是精密的机电一体设备,拆卸不当不但影响整机性能,有时还会带来更大的故障。(杨斌 钟穗珠)