放大器在电子线路中的地位是非常重要的,要将微弱的信号放大成可用于发射或用于推动扬声器或使执行部件动作的信号,都离不开放大器。放大器按工作频率分有高频、中频、低频和直流放大器四种;按输出功率分为小信号(电压)放大与功率放大两种;按所用器件分有电子管和晶体管放大器两种,使用较为普遍的是晶体管放大器。
一、放大器基本电路
放大器的基本组态有共射极、共集电极和共基极三种。图1为共射极电路,图中C\(_{b}\)、Cc为隔直电容,它们为交流信号提供通路,R\(_{b}\)为偏流电阻,通过它为基极提供合适的基极电流(偏流)Ib。I\(_{b}\)=(Vc-V\(_{be}\))/Rb,式中V\(_{be}\)对锗管约0.2V,对硅管约0.6V。Rc是集电极电阻,其作用是将集电极电流的变化转为集电极电压的变化。当I\(_{b}\)确定后,可算出Ic=βI\(_{b}\)。其中β为直流电流放大系数,也即是通常万用表上测出的数值。由于三极管常工作于有交流信号输入的情况下,这时用到的是交流放大系数β,它是集电极电流变化量ΔIc与基极电流变化量ΔI\(_{b}\)之比,即β=ΔIc/ΔI\(_{b}\)。一般在工作电流较小时,可以认为β≈β。若VT的β为50,根据图中参数可算出:Ib≈40μA,I\(_{c}\)=βIb=2mA,V\(_{ce}\)=4V。若输入信号Vi的变化为±0.02V,引起I\(_{b}\)的变化为±20μA,则Ic变化为±1mA,而V\(_{ce}\)的变化为±4V,即在0V~8V之间变化,并且当Ib上升时,I\(_{c}\)上升,Vce下降,即输入与输出反相,其电压放大倍数为A\(_{r}\)=-4/0.02=-200。结合图2中波形,可以理解共射极电路的电压放大过程。电路中Rb、R\(_{c}\)的选择有一定要求,Rb减小或R\(_{c}\)增加都将使Vce减小,容易引起输出信号负半周失真;而R\(_{b}\)增加或Rc减小可使V\(_{ce}\)上升,但又可能会引起输出信号正半周失真。共射极电路常用于多级放大器的中间级。


共集电极电路如图3所示,其输出信号由发射极取出,没有R\(_{c}\)而增加了Re,V\(_{c}\)=IbR\(_{b}\)+Vbe+V\(_{e}\) ,又Ve=I\(_{e}\)Re=(1+β)I\(_{b}\)Re,因此:
I\(_{b}\)=Vc-V\(_{be}\)Rb+(1+β)R\(_{e}\)≈V1;R\(_{b}\)+(1+β)Re

由式中看出,发射极电阻R\(_{e}\)以(1+β)倍折合到基极回路,这就意味着对输入信号Vi而言该电路输入电阻较大。由于V\(_{b}\)=Vbe+V\(_{e}\),故其输出电压总是略小于输入电压,并且同相位,但它的输出电阻较低,通常称之为射极跟随器。由于该放大器内阻大,对前级所取电流很小,又因其输出电阻小,对负载的变化不敏感,故常用于输入级、输出级或缓冲级。
图4是共基极电路:
V\(_{b}\)=Rb2·V\(_{c}\)/(Rb1+R\(_{b2}\))
I\(_{e}\)=Ve/R\(_{e}\)=(Vb-V\(_{be}\))/Re≈V\(_{b}\)/Re≈R
V\(_{ce}\)=Vc-I\(_{c}\)Rc-I\(_{e}\)Re≈V\(_{c}\)-Ic(R\(_{c}\)+Re)

由V\(_{ce}\)的表达式可知它的电压放大倍数与共射极电路相当,但输出与输入同相,同时输入电阻较小,约为Re,故常用于高频、宽频带及恒流源电路中。
二、功率放大器
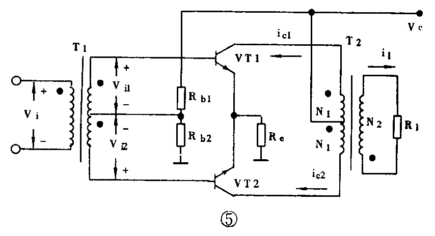
电子线路的末级一般是功率放大器,要求输出功率大、效率高、失真小。早期使用较多的是变压器耦合推挽功率放大器,如图5所示。图中VT1、VT2是按照共射极电路连接的。当有正弦信号电压V\(_{i}\)输入时,通过T1使VT1、VT2的基极得到一个大小相等而极性相反的电压信号Vi1和V\(_{i2}\)。当Vi为正半周时,V\(_{i1}\)为正Vi2为负,故VT1导通而VT2截止,使得T2原边上半绕组有电流i\(_{c1}\)通过;当Vi为负半周时,V\(_{i1}\)为负Vi2为正,VT1截止而VT2导通,则T2原边下半绕组有电流i\(_{c2}\)通过。由于ic1和i\(_{c2}\)轮流通过T2原边的两个半绕组,而且大小相等、相位相反,这样在T2副边的负载上就得到一个接近正弦波的电流i1(各信号波形见图6)。该电路阻抗匹配较好,但体积笨重、频带窄,不利于集成化。目前使用较多的是具有正负电源的互补对称放大电路(常称OCL电路),如图7所示。图中VT1和VT2组成差动放大电路(下一讲介绍),VT4、VT5和VT6、VT7组成复合管,分别等效为NPN和PNP管,构成互补对称电路。该电路在V\(_{i}\)=0时,Vk=0,在有正弦信号V\(_{i}\)输入时,正半周由VT1集电极输出倒相,再经VT3放大后,VT4、VT5导电,经RL和正电源形成回路。在V\(_{i}\)为负半周时,VT6、VT7导电,经RL和负电源形成回路。因此V\(_{i}\)变化一周,在RL上就可得到一个经过放大的全波形信号。



该电路中VT2的作用是保持K点的直流零点,如若K点电位下降,V\(_{k}\)↓→Vbe2↓→V\(_{e2}\)(Ve1)↓→V\(_{b1}\)↑→Ic1↑→V\(_{be3}\)↑→Ic3↑→VT4、VT5内阻↓→V\(_{k}\)↑,实际上这是一条直流负反馈回路。交流负反馈回路由R6、R5、C3组成。(张文锦 洪荣晶)