(莫恩)电子节能灯作为新一代的电光源,具有节电、明亮、易启动、无频闪、功率因数高等突出优点,正得到越来越广泛的应用。“中国绿色照明工程”已将其作为“九五”重点节能项目大力推广。下面对电子节能灯的种类、原理和检修方法作一介绍。
一、电子节能灯的种类和特点
电子节能灯包括节能荧光灯管和高效电子镇流器两个主要部分。节能荧光灯管采用三基色荧光粉制造,发光效率大大提高,光效可达60Lm/W以上,是白炽灯的5~6倍,比普通日光灯提高40%左右。高效电子镇流器采用开关电源技术和谐振启辉技术,工作频率30~60kHz,效率进一步提高。采用电子镇流器的节能灯,不仅彻底消除了普通日光灯的频闪和“嗡嗡”噪声,而且功率因数可达0.9以上,比普通日光灯提高80%左右。
就其结构而言,电子节能灯可分为一体式和分体式两类。
1.一体式:节能灯管和电子镇流器紧密结合为一个整体,并配上普通白炽灯头(螺口或卡口)。一体式电子节能灯体积小、重量轻、使用方便,可直接替换白炽灯(图1a)。

2.分体式:电子镇流器与节能灯管结构上互相独立,用导线作电气连接。维修较方便。吊灯、顶灯等体积较大的灯具一般采用分体式结构(图1b)。值得注意的是,在分体式节能灯产品中,仍有采用普通电感镇流器和启辉器的(图1c),这类产品不具有采用电子镇流器带来的优点。
二、电子节能灯电路原理


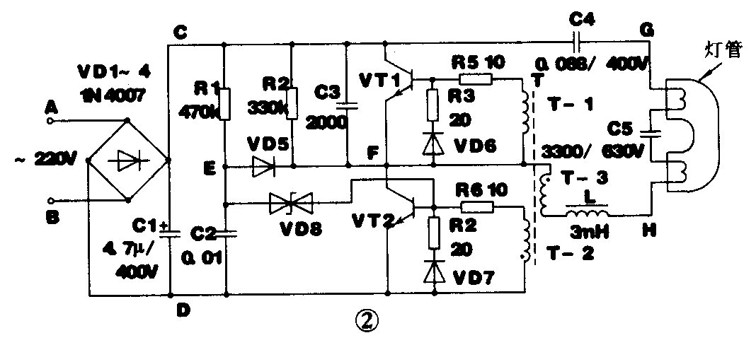
目前市场上电子节能灯品种繁多,但其电路原理却大同小异。图2是一种较常见的电子节能灯的电原理图,其工作原理可用图3方框图来说明。交流220V市电经VD1~VD4桥式整流、C1滤波后,输出约310V直流电压(空载)。功率开关管VT1、VT2和振荡变压器T等组成自激振荡电路,将310V直流电源变为高频交流电源去点亮灯管。R1、C2、VD8组成振荡启动电路,接通电源后,310V直流电源经R1对C2充电,当C2上电压达到双向二极管VD8阀值时,VD8导通,使功率开关管VT2因获基极电流而导通,此时310V直流电源流经C4、灯管上端灯丝、C5、灯管下端灯丝、L、T-3、VT2等,并对谐振电容C5充电。由于振荡变压器T各绕组的耦合作用,VT2很快由导通变为截止,VT1则由截止变为导通,此时谐振电容C5通过灯管上端灯丝、C4、VT1、T-3、L、灯管下端灯丝放电。如此周而复始,VT1、VT2交替导通形成振荡,其频率取决于L、C5串联谐振电路(图2电路约50kHz)。同时在谐振电容C5两端产生一个Q倍于振荡电压的高电压,将灯管内气体击穿而启辉。当灯管点亮后,其内阻急剧下降,该内阻并联于C5两端,使L、C5串联谐振电路Q值大大下降,故C5两端(即灯管两端)的高启辉电压即下降为正常工作电压,维持灯管稳定地正常发光。
三、电子节能灯故障检修
从发光效果看,电子节能灯常见故障可分为三大类:①完全不亮;②灯管两端发红,但不能正常启辉点亮;③灯管虽可点亮,但发光微弱。
1.完全不亮。遇此故障首先应细心检查灯头、电子镇流器、灯管之间接线有无松脱或断线,电子镇流器内部元器件有无虚焊或引脚相碰短路现象。然后分三步检测电路:
① 检测直流供电电路。仍以图2所示电路为例,正常时C、D两点间直流电压为260V~310V,如没有或过低,则应重点检查VD1~VD4、C1等元件。
② 检测振荡电路。电路正常振荡时,VT1、VT2两振荡管的b-e极间均为-0.3V左右的反偏电压,C、F两点间应有220~270V的高频交流电压。如不起振,应重点检查VT1、VT2、R2、C3、C4、L、VD8等元器件。VT1、VT2损坏后如配不到原型号的,可用BV\(_{ceo}\)≥350V、ICM≥0.2A、P\(_{CM}\)≥节能灯功率、fT≥10MHz的其它型号NPN管代用。L如损坏,可用φ0.3mm左右漆包线在原铁芯上绕200~300匝即可。
③ 检测灯管。电路各元件检查均正常,灯管仍不亮,则是灯管损坏。如灯管一端灯丝断,可将其直接短接应急使用(图4)。

此类故障检修流程见图5。

2.灯管两端发红,但不能正常启辉点亮。此故障大多为谐振电容C5击穿所致。电路正常工作时,C5两端应有60V~80V高频交流电压,如C5两端电压为0,则C5已击穿。灯管老化也会造成此故障。此类故障检修流程见图6。

3.灯管虽可点亮,但发光微弱。此现象说明电路已起振,应着重检测高频交流电压值是否符合要求。正常时C、F两点间高频交流电压应为220V~270V,灯管两端应为60V~80V。如过低则说明振荡太弱,原因多为VT1、VT2性能变差、R5或R6变质等。C4击穿也会造成发光弱。此类故障检修流程见图7。
