编者按:为了辅导青少年初学者进行电子制作,本栏开辟了“边做边学”小栏目,通过动手制作,逐步熟悉元器件和电路的基本知识,掌握初步的制作工艺,培养对电子技术的探索兴趣,更快地加入电子爱好者的行列。
利用三极管的放大作用可以制作一个简单实用的有线对讲电话,通话距离大于50m。图1是它的电原理图,图2是实体连接图。附表是元器件明细表。



制作
元器件选择好,并检查无误后就可以动手制作了。在焊接元器件前应做好必要的准备工作。首先用小刀轻轻刮去元器件引线上的氧化层(如果元器件很新,可以省去这道工序),然后将引线蘸着松香焊剂用电烙铁直接把焊锡镀到引线上,以避免出现虚焊,减少安装和调试中的麻烦。对于制作中使用的导线也应做同样的处理工作。如果用的是多股软线,先去掉端头的绝缘外皮,露出3mm左右的导线,把松散的导线用手捻紧,再进行镀锡。初学者从一开始就要养成认真做好准备工作的习惯。
看图制作时需要注意,图中若有两根导线交叉时,如果交叉点上有一黑点,则表示导线在此连接;如果未画黑点,就表示两根导线跨过,不能焊接在一起。这个电路只要照图正确连接,不需调试,即可正常工作。制作时还要注意三极管的管脚排列以及电解电容器的极性。
元器件作用
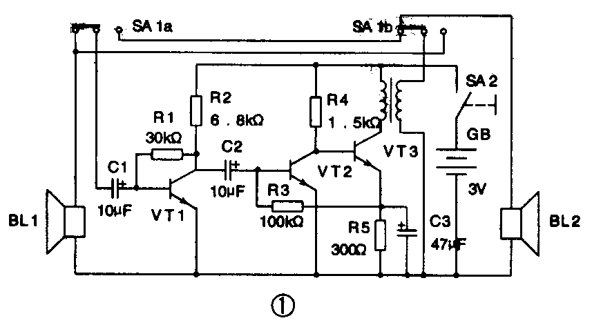
电路中的BL1、BL2除了作扬声器外,还兼作受话器。由收发开关SA1来控制。当开关拨向左边时,主机扬声器BL1起受话作用,接到放大器的输入端,而副机扬声器BL2接在放大器的输出端,起放音作用。当收发开关SA1拨向右边时,情况正好相反。每一时刻只能有一方发话,一方收听,这种形式的电路叫做单工有线对讲电话。
扬声器是一种电声转换器,把电信号转变为声波,又是一种声电转换器,把声音变为电信号。由于电信号非常微弱,不可能直接推动对方的扬声器发声,所以必须进行放大。三极管VT1与电阻R1、R2及电容C1、C2组成了一个电压放大器。R1是三极管的基极偏置电阻,R2是三极管的集电极负载电阻。这两只电阻为三极管的工作提供了一个必要的工作电压。C1是输入端耦合电容器,C2是输出端耦合电容器,它们可以使交流信号通过,同时具有隔离直流的作用,使前一级的直流工作电压不致影响到后一级放大器的工作。
三极管VT2与VT3一起组成了直接耦合放大器。三极管VT3的集电极通过一只音频变压器与扬声器相接。在这里变压器起到了阻抗变换的作用,使扬声器从放大器获得最大的信号功率。 (周海)