光纤式光电开关是光电开关系列中的一大类。它在结构上有两个特点:一是把发光头、受光头和包括放大器、输出电路等部分在内的开关本体分开:二是它的发光头、受光头和开关本体之间的联系采用的是光纤,传播媒介是光信号。为了能与另一种用屏蔽电线作联系、传播媒介是电信号的电分离型光电开关相区别,光纤式光电开关又称为光分离型光电开关。
由于光纤式光电开关有很多突出的优点,它已经发展成为光电开关中品种繁多、性能优异、用途日益广泛的新一族。
工作原理
光纤式光电开关的工作原理和一般的光电开关完全相同。它可分为对射式和反射式,使用的光源有红外光,也有可见光。同样地,它也有发光器、受光器、放大器、光电调制电路、开关输出电路、电源电路和保护电路。在结构上的明显不同是:发光头、受光头都很小,用光纤和开关本体相连。图1与图2分别是对射式和反射式光纤式光电开关的示意图。其中一个是剖视图,一个是原理图。


从图中可以看到,开关本体前端有2个小孔,一个插发光头光纤,一个插受光头光纤。对射式有一发一受两根光纤。反射式则只有一个检测头,检测头前端有2个小孔,一个发光,一个受光。检测头后部有2根光纤,可分别插入开关本体的2个孔内。也有的产品把这2根光纤塞进1个套管内,看起来好像是一根,实际上在与开关本体连接处有一个分叉。
把发光头和受光头分别装在被测物通过路径的两侧。当被测物通过阻挡光路时,受光头接收不到光,光纤传送的光信号突然消失,光电开关就动作,输出一个开关控制信号。它的工作状态也有“亮通”、“暗通”,输出状态也有“常开”、“常闭”,和一般光电开关相同。
光纤和屏蔽电缆相比,有很多优点:(1)损耗极小,几米长的光纤几乎没有损耗;(2)线径小,玻璃光纤直径只有几十微米,塑料光纤直径是零点几毫米,它们加上护套以后的外径也只有两三毫米;(3)体积小、重量轻;(4)传输频带宽;(5)耐高压;(6)耐高温;(7)耐腐蚀;(8)阻燃防爆;(9)抗电磁干扰。
产品性能
台湾和可公司生产的光纤式光电开关有2个型号,即H-FS-N(P)及H-FR-N(P)。其中:“H”是光纤式光电开关的代号,“FS”表示红外光源,“FR”表示红色可见光光源,“N”和“P”分别表示可与NPN型、PNP型晶体管电路连接。
这2种光纤式光电开关内部电子电路全是集成电路,并有短路保护。检测距离为12~120mm,使用12~24V直流电源,输出为3线式,可供负载电流100mA。开关频率每秒达1000次。有多圈电位器作灵敏度调整。有“亮通”、“暗通”选择开关。工作稳定可靠,使用方便,寿命长。
每一个光纤式光电开关都由开关本体和光纤头两部分组成。光纤头从原理上可分为对射式和反射式,从结构分有螺管形、套管形、插头形等,总共有20多种不同的规格型号。
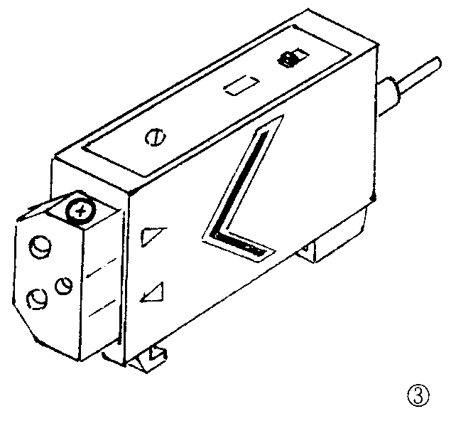
图3是光纤式光电开关的本体,外型为长方体。前端有一个插座,有一发一受两个孔。上部有锁紧的螺丝,机壳侧面有表示发、受的箭头。尾部为电源和输出线。上部为标志牌及灵敏度调整电位器和工作状态选择开关等。

标志牌见图4。从上到下为商标、灵敏度调整电位器、接线说明。中部为指示灯,“NOM”为工作指示,黄色;“ACT’为动作指示,红色。下部为工作状态选择开关,向上为“暗通”,向下为“亮通”。

图5是各种光纤头,有螺管型、套管型和插头型等多种。对射式有一发一受两根,外形和内部结构完全相同。反射式只有一根,共用一个检测头,检测头前端有一发一受两个小孔。目前产品供应的是塑料光纤,螺管型、套管型有聚乙烯护套管,插头型是金属护套管。长度一般为1m,也可应用户的要求加长。

光纤的接续要求是很高的。光纤本身几乎没有损耗,但若光纤的端面不平整就会发生漏泄。此外,安装时如果中心未对准,或发生错位、倾斜等都会产生损耗,所以每只光电开关产品都附带一只光纤剪切刀,见图6。在需要剪切光纤时必须用切刀把光纤切齐后方可使用。

使用要点
1.本产品为直流3线式,见图2。棕、蓝两线分别接电源正、负极。如选N型,负载接棕、黑两线之间;如选P型,负载接黑、蓝两线之间。
2.当将光纤插入开关前端的孔内,在光纤接触孔内的橡皮垫时,能感到轻微的阻力,这时就应轻轻地把它推到底。两根光纤都插入后,再慢慢拧紧上部的锁紧螺丝。
3.裁切光纤时必须使用专用的剪切刀。裁切时把光纤插入未使用过的孔中,在达到需要的长度后,用均匀、缓慢而有力的动作推压刀片切断光纤。切过的孔因刀片受伤不可再用。
4.光纤应该用卡子固定好。不允许光纤互相缠绕。光纤的弯曲弧弯越大越好,其曲率半径应在25mm以上。
5.其它具体操作要求请参阅使用说明书。
应用举例
光纤式光电开关在细小物体的检测应用方面有:识别元器件或集成块的形状、方向;识别电解电容器等元器件的正负极引线;识别元器件、包装品表面的标志文字;检测物品的尺寸等等。在特殊用途方面,则有加热炉内、核辐射腔内、高压电场内以及有腐蚀性气体场合内的物体检测等。下面仅举几例。
1.检测钻头折断的装置
印制电路板在打孔时,因钻孔直径小,一般为0.5~2mm,所以钻头常会折断。图7是用光纤式光电开关检测钻头折断的装置。把对射式光纤式光电开关的发光头和受光头分别安装在钻头的两侧。光电开关调整在“亮通”状态。正常钻孔时,光束被钻头挡住,受光头接收不到光。钻头折断后,受光头接收到光,光电开关就动作,发出告警信号。

2.检测板材的尺寸
用2只反射式光纤式光电开关可以检测反射率较高的金属板的尺寸,如图8所示。PS1的检测头安装在板内上部,略小于标准尺寸,调在“暗通”状态。PS2的检测头在板外,略大于标准尺寸,调在“亮通”状态。在检测时,如板材小于标准尺寸,PS1接收不到光,PS1动作告警;如板材大于标准尺寸,PS2接收到光,PS2动作告警。

实际上这个装置也能用于卷带材料,如纸、塑料、铝箔等的尺寸检测。可以用这2个光电开关的输出信号控制切纸刀横向移动,使卷筒纸的宽度符合标准。也可以用这2个输出信号控制引导走纸的推拉辊,使切出纸的宽度符合标准尺寸。它的工作原理是和本刊上一期“沟型光电开关的应用”一文中介绍的橡胶带的纠偏装置相同的。
3.印制板的叠片检测
图9为印制板加工流水线的局部示意图。右为储料匣,下有气泵举升装置,匣后部为推出杆。匣的两侧装有对射式光纤式光电开关。PS1的一对在匣的后部第一块板的位置上,调在“暗通”状态。PS2的一对在匣的前方第2块板位置外侧,也调在“暗通”状态。

PS1作定位控制。当举升机把印制板上推到顶部挡住PS1的光路时,PS1动作,输出信号使举升机停止。同时又驱动推出杆,将印制板推出跌落到传送带上送往下一工序。
PS2作叠片检测。如因储料匣安装不当或推出杆位不当、动作失误,推出2片以上印制板时,叠片印制板挡住PS2光路,PS2动作告警。由于印制板在正常传送跌落到传送带上时,也会挡住PS2光路,所以PS2的输出电路要加入延时电路。
4.高压电场下断路器的计数检测
我国电力机车使用的是25kV交流电作牵引动力。它是从110kV或220kV三相电网经牵引变电所的变压器降压后送到接触网上的。三相电的二相经分相绝缘器分别送到相邻的2个供电段。为了保持三相电的平衡还使用了自动分相装置,也就是用换相供电的方法。换相时是使用高压真空断路器来开闭电路的。
为了保证行车安全,必须对真空断路器的开闭次数进行监测和计数,以便在达到预期寿命前及时更换。真空断路器的寿命一般为几万次,极限为10万次。由于铁路的提速和运力的提高,使真空断路器的动作更加频繁,这种检测和计数就显得更为重要。
真空断路器是在25kV的高压电场内工作的,任何带电子元器件的检测装置都无法使用,只有用光纤式光电开关才能完成这项任务。把反射式光纤式光电开关的检测头安装在真空断路器的活动触头一侧,用2m 长的光纤把采集到的光信号送到离开高压电场的开关本体。真空断路器每动作一次,光电开关就输出一个电脉冲到计数器进行计数,工作稳定、安全可靠。 (于鹤飞)