本文介绍的滚动式编解码遥控组件T9736/9738,是无法破解、性能高度可靠、外围电路简单、具有多种输出功能的实用组件。
这种组件内部使用了新型的滚动式编解码芯片,型号为TH150/151AB,它具有以下优点:
1.采用12位前置码、数据起始码、32位加密滚动同步码、28位串行客户码、4位按键状态码、2位结束标志码等组合为一帧编码,每按键一次,不重复编码按密匙法滚动一帧,编码量达5.77×10\(^{1}\)7,即使采用现代电子科技也无法破解。
2.编码芯片TH150采用8脚DIP或SOP表面焊接封装,外围仅需操纵键及射频电路即可工作。其内部设有键控电源开关,静态电流小于100nA,使遥控器电路大为简化。
3.解码芯片TH151AB设有首次滚动编码学习记忆及擦除端口,当遥控器被盗或损坏,用户可重新配同类遥控器经记忆后合法使用,旧遥控器随即失效。
4.解码器可记忆15组不同参数编码,也就是每一个接收解码电路最多可配15个遥控发射器。每个遥控发射器可多配任意个解码电路。
5.解码器的4位输出在不增加任何外围元件时,可随意设定为互锁存状态、非锁存瞬态以及普通解码电路需要增加多只CD4013集成电路才能转换实现的双稳输出状态,满足任何执行终端接口需要。
6.解码芯片输出BCD(8421)码,可简单扩展为15位数据通道。
7.内部记忆不怕掉电,其存储数据寿命长达30年以上。因此,由这种新型滚动式编解码芯片组成的遥控组件,给需要保密性强的电子产品带来了生命力,在保安、防范、密匙领域中,它将起到更安全、更方便的作用。
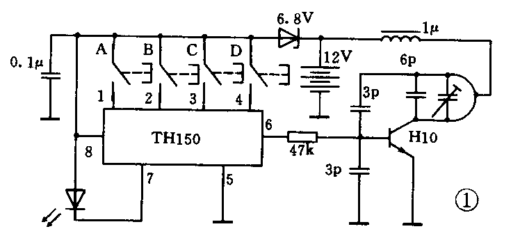
遥控组件由一只称为T9736可随身携带的微型遥控操纵器及一只T9738接收模块组成,由滚动式编码芯片TH150构成的4位无线遥控电路见图1,第7脚所接发光二极管为发送指示,第6脚随按键输出密匙滚动编码脉冲,经47kΩ电阻调制超高频振荡电路后由印制天线发射出去。

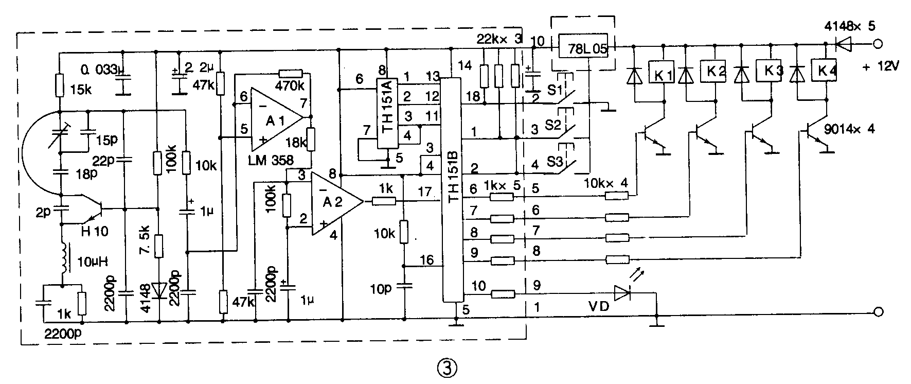
接收模块T9738是一只比火柴盒还小的,包括高频接收、放大、整形、解码为一体的组件,外观见图2。接收模块采用10脚标准IC脚引出,它的A、B、C、D端为4位数据输出,IO端为解码有效措示和功能设置指示。2脚LE为记忆/擦除端,当该脚外接按键短时接地后的5s内,是密码写入记忆状态,IO端所接发光二极管闪亮5次,5s内仍未输入密码即停止记忆功能。该脚持续接地时间大于15s,发光二极管亦持续点亮15s而熄灭,表示内存密码已被擦除。3脚M1端单独接地时,A、B、C、D数据是与操纵按键同步的瞬态输出设置,4脚M2端单独接地时,A、B、C、D数据为4通道双稳输出设置。当3、4脚均悬空或接地时,4位数据均为互锁存输出状态。接收模块各引脚功能已在模块面标明,其使用工作电压分5V及12V两种,亦在型号后面注明“5”或“12”,以方便用户选择使用。T9738内部电路见图3中虚线部分,图中,前级的超高频无线电接收解调、放大整形电路与普通收音机接收电路类似,这里不再赘述。整形后的滚动密码由17脚进入TH151B内部,这时若把2脚LE端对地短接一下,首次输入的编码便作为参考码存入TH151A内部,当再按键输入下一组密码时,解码芯片便依照密匙算法以参考码作同步滚动而解出遥控的数据指令,同时TH151A自动擦除上次参考码,存入本次密码作为新的参考码,使用过的密码永不再用,随操纵键发出的滚动密码时更新,只要用户保护好LE“记忆”端不接地,任凭电子盗贼采用空中截码或用同类遥控器扫描均是徒劳的。


图3右边是接收解码电路实际应用外围电路图(工作电压12V的接收电路内部已设有稳压,外围稳压78L05免接入),A、B、C、D四位高电平输出直接驱动由三极管和继电器构成的执行终端,其执行状态可通过S2、S3随意设置,S1是记忆/擦除按键开关。
TH9738接收模块与TH9736遥控器配合,成为一套滚动式密码遥控组件,有效遥控距离空旷地达50m,每只接收器可配15只同发射频率,同编码芯片的遥控器使用,而每只遥控器可配任意只同接收频率的接收器。
使用注意事项:1.滚动式编解码遥控电路在出厂时已首次经过密码输入记忆配对,可同步解码。 2.当接收解码电路未工作,而乱按遥控器按键512次之后接通解码电路,则接收电路认为发来的遥控密码为非法的,不予解码,这时应重新启用擦除/记忆功能使之合法化。3.遥控器持续按键大于30s,将自动停止发送。(蔡凡弟)