电源是电路的能源。电源的性能和质量在一定程度上决定着电子设备的质量,因此认识电路,应该首先掌握电源方面的有关知识,重点了解直流稳压电源。小功率直流稳压电源的组成可用图1所示的方框图表示,它由电源变压器、整流电路、滤波电路和稳压电路等四部分组成。为了读懂电源单元电路图,下面对这四部分电路逐一进行分析。

一、电源变压器 电路需要直流稳压电源供给的电压有5V、12V、15V等。对于一个具体电路,简单的只需一组电压,复杂的可能需要多组电压,电压范围一般为几伏到几十伏。某些装置则要求较高的电源电压,可能高达数千伏甚至数万伏(如示波器、显像管的加速阳极电压)。电网供给的市电一般是50Hz、220V的交流电。为了取得不同的直流电压,需要用电源变压器先将市电电压变为所要求的电压。电源变压器的主要参数是功率、初级(输入)电压和次级(输出)电压。一般初级只有一组,而次级可能有多组。可在市场上购买成品的变压器,也可根据需要自己制作。
二、整流电路 经电源变压器变压后,输出仍是交流电,需要经过整流电路将交流电变换成直流电。对于小功率电源,完成这一任务主要是靠二极管的单向导电作用,因此二极管是构成整流电路的关键元件。整流电路可分为半波整流电路、全波整流电路、桥式全波整流电路及倍压整流电路等。图2为常用的桥式全波整流电路。

我们结合读图分析图2所示桥式整流电路的工作原理。在e\(_{2}\)正半周时,电源变压器次级A端为正(最高电位点)、B点为负(最低电位点),此时二极管VD2、VD4承受正向电压而导通,VD1、VD3承受反向电压而截止,电路中电流的通路为:A点→VD2→RL→VD4→B点。电流流过R\(_{L}\)时产生电压降,极性为上正下负,形成输出电压U0。在e\(_{2}\)负半周时,电源变压器次级A端为负、B端为正,二极管VD1、VD3承受正向电压而导通,VD2、VD4承受反向电压而截止,电路中电流的通路为:B点→VD3→RL→VD1→A点。电流流过R\(_{L}\)时产生电压降,极性仍为上正下负,所以U0为单向脉动直流电压,其波形如图1Ui所示。
三、滤波电路 整流电路的输出电压都会有较大的脉动成分(见图1)。一般的电子设备,要求供给接近理想的直流电压,而含有较大脉动电压的电源,会使电子设备工作不正常,并引入较大的交流声。所以,通常需采取一定的措施尽量减小整流后输出电压的脉动成分,尽量保留其直流成分,以接近平滑的直流电压。实现这一措施的电路就是滤波电路。
电容和电感是基本的滤波元件,利用它们在二极管导通时,储存一部分能量,二极管截止时再逐渐释放出,从而得到比较平滑的波形。其中电容滤波电路在小功率电源中应用较多,这种滤波电路是在整流电路负载两端并联一个电容(该电容常采用容量较大的电解电容)。
当接入交流电源时,在e\(_{2}\)的正半周,二极管VD2、VD4受到正向电压的作用而导通,e2通过VD2、VD4对电容C进行充电,随着e\(_{2}\)正半周电压逐渐升高,电容上的充电电压也随之增大,当e2达到峰值\(\sqrt{2}\)U\(_{2}\)时,电容上的电压Uc也近似达到2U2。当e\(_{2}\)从最大值开始下降时,由于电容上的电压Uc大于e2,二极管截止,电容C就要向负载放电,负载电流等于电容C的放电电流。电容放电时其两端电压逐渐下降。当e\(_{2}\)在负半周时,电压反方向上升,出现二极管VD3、VD1正极电位超过负极电位使这一对二极管导通,电容又得以充电,补充其放电损失的电荷。以后的周期将不断出现充电放电过程,由于充电迅速,放电缓慢,负载上的电压波形如图1Ur所示。通常选择放电时间常数RLC比交流电的周期T大3~5倍,就能得到比较满意的滤波效果。该电路与无滤波电容的整流电路相比,纹波大大减小,输出直流电压(平均值)提高,一般U\(_{L}\)≈(1.0~1.2)U2。
四、稳压电路 滤波电路输出的直流电压虽然比较平滑,但仍有一定的纹波成分,更主要的是当市电电压发生波动(允许有±10%的波动量)以及负载变化时也将使输出电压不够稳定,因此滤波电路后面还需加稳压电路。所谓稳压电路,它是通过某种器件(稳压管、晶体管、场效应管、集成稳压器,等等)自动调整其电流或电压,使负载上直流电压保持基本不变。
稳压电路接调整器件与负载是串联还是并联关系,可分为串联型和并联型两种。根据调整器件的工作状态又可分为两种:如果调整器件工作在线性放大状态,则称线性稳压电路;如果调整器件工作于开关状态,则称开关稳压电路。这里我们主要介绍线性稳压电路。
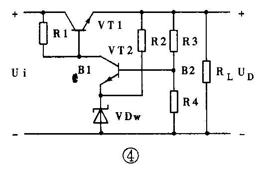
晶体三极管VT1是稳压电路中的调整元件,当电网电压波动或负载电流发生变化,引起电路输出电压发生变动时,它都能及时加以调节,使输出电压保持基本稳定,所以称它为调整管。由于调整元件(调整管)是与负载串联的,所以称之为串联稳压电路。晶体三极管VT2是比较放大管。输出电压U\(_{0}\)的变化量△U0经取样电路——分压电阻R3与R4,取出△U\(_{0}\)的一部与由稳压管VDW提供的基准电压U\(_{W}\)进行比较,并经VT2放大后送到调整管的VT1的基极,推动VT1作出相应的调整。
从图4可以看出,当输出电压U\(_{0}\)下降时,通过R3、R4分压,VT2的基极电位UB2也下降了。由于基准电压U\(_{W}\)使VT2的发射极电位保持不变,UBE2=U\(_{B2}\)-UW随之减小。于是VT2的集电极电流入I\(_{C2}\)减小,从图4可以看出,当输出电压U0下降时,通过R3、R4分压,VT2的基极电位U\(_{B2}\)也下降了。由于基准电压UW使VT2的发射极电位保持不变,U\(_{BE2}\)=UB2-U\(_{W}\)随之减小。于是VT2的集电极电流IC2减小,U\(_{B1}\)=UC2增高,使I\(_{C1}\)增加,管压降UCE1减小,从而使输出电压U\(_{0}\)保持基本稳定。VT1的放大倍数越大,调整作用就越强,输出电压就越稳定。
当输出电压U\(_{0}\)上升时,同样道理,又会通过上述反馈作用使U0减小,保持输出电压基本不变。
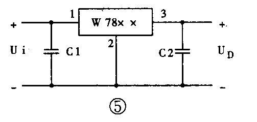
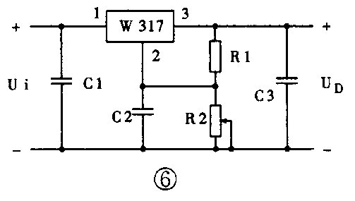
近年来,随着集成电路技术的发展,上述串联型稳压电路已能制作在一个半导体基片上,构成集成稳压器。目前应用较多的有:三端固定集成稳压器,它有输入、输出和公共端三个端子,输出电压固定不变,其工作电路如图5所示;三端可谓集成稳压器,其三端为输入端、输出端和调节端。在调节端外接两个电阻可对输出电压作连续调节,其工作电路如图6所示。 (洪荣晶 张文锦)



