一、音乐集成电路的封装形式
1.较封装形式
将音乐集成电路IC芯片直接焊接在印制板上(见图1)。为保证焊接细金属丝不受外力损害,防止外界强光照射芯片表面干扰IC的正常工作,芯片上涂覆了黑色保护胶。

2.塑封形式
这种封装形式同普通集成电路一样,采用双列直插式,在维修时易于检测和更换。
二、音乐集成电路基本结构及其原理
音乐集成电路投其复杂程度可以分为三类:第一类是奏出单一乐曲的电路:第二类是奏出两首以上乐曲的电路;第三类是音乐集成电路与其它电路组合完成更多更为复杂的功能。现分述如下:
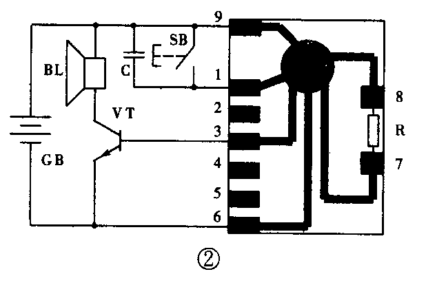
1.第一类电路

这类电路的基本结构形式如图2所示。电路中管脚9接电源正极,管脚6接电源负极,管脚3输出音频振荡电压,接在三极管VT的基极,也可在此管脚与基极之间加一限流电阻,音频信号经放大后从三极管VT的集电极输出,带动扬声器发出悦耳的音乐。管脚1为高电平触发端,此管脚每得到一个高电平,扬声器就会奏出一段音乐。使用时每按一次按钮SB,在1端就得到一个高电平,扬声器就奏出一首乐曲。电容C是为了防止干扰导致的误触发。管脚7和管脚8之间接入一个振荡调节电阻R,可以调节乐曲演奏的速度,通常取R值为68kΩ,当电阻大于68kΩ时,乐曲演奏速度将变慢,反之则变快。
电路元件的选择:音乐集成电路可选KD或CW系列,如选用CW9311;三极管VT选用3DG130,β≥100;振荡电阻R选用RJ型,0.125W、68kΩ;电容C选用0.01μF;电源GB选用两节5号电池;扬声器BL选用0.1W、8Ω。
2.第二类电路

这类音乐集成电路存有多首音乐,而且设有多个触发端,给不同的触发端输入触发信号时,会有不同的音乐信号从音频输出端输出。图3所示为双触发端音乐集成电路KD-156,a端为正触发端,当有正信号加在这一管脚时,产生鸟鸣声:b端为负触发端,当有负信号触发时,发出叮咚声。电路中R1、R2为振荡调节电阻,R1阻值的大小决定了鸟鸣声的快慢,R1小鸟鸣声节奏快,反之则侵,通常为1MΩ;R2阻值的大小决定了叶咚声节奏的快慢,作用原理与R1类似,通常取270kΩ。R3为限流电阻,防止注入晶体三极管基极电流过大而烧坏三极管,其阻值通常为1kΩ。音频信号输出经限流电阻连接到三极管的基极,经三极管放大带动扬声器发声。电容C1和C2是为了防止设触发,C3用来消除振荡。
3.第三类电路
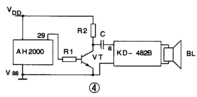
此类电路由音乐集成电路和其它电路组合而成。例如将数字电子钟集成电路与音乐集成电路结合,可实现整点奏出乐曲功能。这类音乐集成电路的内部电路比较复杂,有专用音乐发生器、存储器和控制器等,内存多首乐曲。它有一个触发端,每接收一个触发信号,就会奏出一首乐曲,多首乐曲的奏出顺序固定不变,循环往复。外部电路与第一类音乐集成电路类似。这类电路的难点在于如何将它与其它电路联接。下面以数字钟电路AH2000与音乐集成电路KD-482B组合为例介绍这类电路的原理(见图4)。KD-482B是十二曲打点音乐集成电路,内存有12首世界名曲主旋律,每触发一次,依次演奏一首,循环往复。AH2000数字钟集成电路,可以接一些外围元件和液晶显示屏构成一个数字式电子表。AH2000与KD-482B结合后可以实现整点奏出音乐的功能。

获取整点触发信号是此电路的关键。进一步分析可知:液晶显示采用段静态驱动方式,显示屏的结构是一个显示段对应一条电极,每一数字的7个笔划由7个对应电极组成(见图5)。在数字电子钟中,显示1小时即60分钟之内的各个十位数只能是0、1、2、3、4、5,每当分钟十位数由5变为0时,即到整点,这时应使音乐集成电路奏出音乐。显示屏上显示的“0”到“5”这6个数字中,只有数字“0”和“1”所对应的七段码中的g段不发光,当数字“5”变为“0”时,正是七段码中的g段由发光变为不发光的时刻,也就是整点时刻,此时音乐集成电路的触发端a应有触发信号。在数字钟集成电路AH200与音乐集成电路KD-482B之间加上图4所示的电子开关VT即可实现上述功能。图4中AH2000的29端是分钟十位数的g段电极输出端,a端为KD-482B的触发端,R1为开关管VT的基极限流电阻,R2为集电极电阻,C为隔直电容。当g段由高电平变为低电平时,在a端产生正脉冲,即有效触发信号;当g段由低电平变为高电平时,在a端产生负脉冲,为无效触发信号;当g段保持原电平时,在a端没有触发信号。综上分析,图4电路只有整点时刻才有音乐奏出。

三、故障诊断方法
产生音乐的电路只要按所给电路原理图选配元件并正确焊接后,均能正常工作。电路产生的故障多为没有音乐奏出,下面以图2为例介绍常用的故障诊断及排除方法。
1.无电压
(1)电池电压检测
用万用表直流电压5V挡,红表笔接电池正极,黑表笔接电池负极,读数低于2.4V,表明电压不足,应更换电池。
(2)电池与线路板未良好联接
用万用表直流电压5V挡,红表笔接线路板正极性端,黑表笔接线路板负极性端,读数若为“0”或者表针不停地来回摆动,表明接线柱与线路板断路或产生虚焊,应重新焊接。
2.有电压、无音乐
(1)触发按钮接触不良
取下电池,用万用表R×100Ω挡,检查按钮按下后两触点间的阻值是否为零,若不为零,则为异常,应用酒精清洗两触点接触表面。
(2)激振电阻断路或短路
取下电池,焊下激振电阻的一个引脚,用万用表R×10kΩ挡,测量激振电阻阻值,若表针趋于“∞”或“0”均为异常,应s更换。
(3)是否有振荡电压
用万用表直流电压2.5V挡,黑表笔接电源负极,红表笔接三极管集电极,有0.3V振荡电压为正常,否则为不正常,可进一步检查以下各部件。
①扬声器
a.用万用表R×100Ω挡,测量扬声器两个引线,若测量值趋于“∞”,则为异常,应更换;若为10Ω左右,应做b步骤的检查。
b.用万用表R×10Ω挡,用表笔接触扬声器的两个引线端,有“喀、喀”声为正常,否则有故障,应更换。
②晶体三极管
用万用表R×100Ω挡,测量集电结、发射结的正反向电阻,如果测量正向电阻趋近“∞”,说明管内开路;如果测得反向电阻很小或趋近于“0”,说明三极管被击穿或短路;如果测量的电阻值偏离标准值过大,说明三极管有质量问题。上述三种情况均表明三极管有故障,应予更换。
③音乐集成电路
a.总电阻检查
取下电池,用万用表R×100Ω挡,红表笔接集成电路正极性端,黑表笔接负极性端,应有电阻400Ω左右为正常,显示“0”或“∞”均为有故障;用红表笔接集成电路负极性端,黑表笔接正极性端,显示“∞”为正常,否则有故障,应更换集成电路。
b.振荡输出阻值检查
取下电池,用万用表R×100Ω挡,红表笔接集成电路正极性端,黑表笔接振荡信号输出端,应有750Ω左右电阻为正常,否则为有故障,应更换集成电路。 (苟琪)