光电开关中有一种外形特殊的产品,被称为沟型或槽型光电开关。它的检测端开有一个槽,被测物在槽内通过并被检测,因而特别适用于板材、卷带材料的检测。
工作原理
沟型光电开关属于对射式,一般对射式光电开关都有一个发光器和一个受光器,它们分别被装在被测物通过路径的两侧,因此也称为对射分离式光电开关。当被测物通过而阻挡光路时,光电开关动作,输出一个开关控制信号。对射式光电开关由于有优质的光学系统,采用光电调制和电子放大技术,因此能实现长距离检测。检测距离通常为几十厘米到几十米。
沟型光电开关把发光器和受光器都装在检测头内。它的检测端开有一个槽,发光器和受光器就分别装在槽的上面和下面(见图1和图2)。所用的光源有红外光和可见光两种。当被测物从槽内通过阻挡光路时,光电开关动作,输出一个开关控制信号,接通或切断负载电流,完成一次控制动作。如果是用红色或绿色可见光作光源,它还能检测和识别色标。当被测物从槽内通过时,不同颜色产生的反射率差,使光电开关动作,输出开关信号。


沟型光电开关由于外形和结构特点,它的检测范围被严格限制在槽内,因此检测距离较小,一般只有几厘米。但由此带来的优点是:外来光的干扰被减到最小,检测性能更加稳定可靠。另外它还有检测和识别色标的能力,因此特别适用于检测薄形材料,在金属板材、木板和层压板、纸张、印刷品、纺织品、塑料薄膜、食品袋的加工过程中得到广泛应用。
产品性能与使用要点
1.产品性能
台湾和可公司的沟型光电开关有3种型号:KP-ER-01N(P),KP-EG-01N(P),KP-ES-05N(P)。其中“KP”为沟型代号,“ER”为红色光源,“EG’为绿色光源,“ES”为红外光源,“01”表示检测距离1cm。“N”和“P”表示输出电路类别,N型可和NPN型晶体管电路连接,P型可以和PNP型晶体管电路连接。这3种光电开关的检测端都开有一个槽,发光器和受光器分装在槽的上下。尾部有电源和输出线,侧面有连接说明、指示灯和灵敏度调节电位器(见图2)。
这3种光电开关内部有光学系统、发光器、受光器、放大器、光电调制电路和开关输出电路,内部电路全部是集成电路。使用10~30V直流电源。输出为改进的4线式,亮通或暗通、常开或常闭可由用户在接线时自选。可供负载电流100mA,开关频率每秒100次,灵敏度可调。工作稳定可靠,使用方便,寿命长。
2.使用要点
(1)本产品如和晶体管电路连接,应按实际电路要求选用N型或P型。如果是和继电器等没有极性要求的负载连接,则N型、P型均可。
(2)本产品的输出为改进的4线式。是在原来3线式的基础上增加一级输出级、多了一根输出线而成为4线式,使接线更为灵活方便。
图3为电源与输出连接图。以N型为例,见图3(a)。电源接粽(1)、蓝(4)两线,如用户要求“亮通”,即有光时动作,负载接通,应把负载接在棕(1)、黑(2)两线之间;如要求“暗通”,即遮光时动作,负载中通电,则应把负载接在棕(1)、绿(3)两线之间。可见,用户需要不同的输出状态时,是通过接线选择不同的连接方法解决的。

如使用的是P型,电源与输出连接图见图3(b)。
(3)安装好后应在现场先进行灵敏度调节,使开关在最佳动作阈值下工作,保证工作稳定可靠。
(4)如用作色标检测,有关工作原理和注意事项见本刊上期“聚焦式光电开关的应用”一文。
(5)其它注意事项见本刊1996年第11期“光电开关的应用”一文。
应用举例
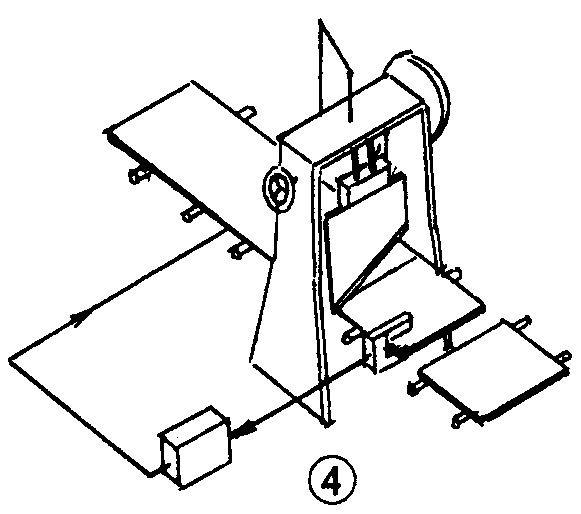
1.板材和卷带材料的剪切
把沟型光电开关装在剪床上可对板材和卷带材料进行剪切加工(见图4)。图中沟型光电开关装在剪床前端,当板材传送过来在槽内通过阻挡了光路时,光电开关动作,输出开关控制信号,使传送带暂停,剪床压板滑下压住板材,切刀下降切下板料。这种装置可对金属的板材和卷带材料、木板、层压板、纸张、橡胶带、塑料板等进行剪切加工。同样的方法也可用于板材的冲压落料加工。这种方法自动化程度高,安全可靠。

对印有商标的薄膜材料也可用能检测色标的沟型光电开关作定位控制,进行剪切加工(见图5)。图中的光电开关是可见光源的沟型光电开关。当检测到商标上的色标时动作,发出控制信号进行剪切加工。

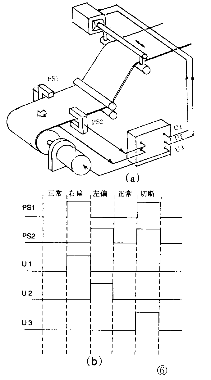
2.卷带材料的横向走偏校正
纸、布、铝箔、塑料薄膜、橡胶等卷带材料在加工过程中,因厚度不匀或牵引力变化会引起横向走偏,如不及时校正,就会影响下一道工序的加工甚至损坏卷带材料。横向走偏校正装置有机械、机电、液压、光电等多种类型。机械型、机电型一般都是接触式的,光电型的虽然是非接触式的,但因使用光学透镜,光电放大技术,结构和电路比较复杂,费用较高。
下面介绍用沟型光电开关控制的机电式校正装置,它的优点,一是非接触式的,不损坏卷带材料;二是结构和电路都比较简单,费用不高,工作可靠。
图6是用沟型光电开关的横向走偏校正装置。用2个沟型光电开关装在橡胶带、塑料薄膜等卷材的两侧,左侧为PS1,右侧为PS2。安装时调整它们的位置,使卷材在正常位置时正好把2个光电开关的光束都挡住。连接光电开关的负载使它们工作在“亮通”的状态。因此卷材不走偏时,PS1、PS2都输出低电平,负载电路成“常开”状态。

如卷材走偏,例如偏向有,则左侧PS1的光束就挡不住,PS1就动作,输出高电平,经继电器等负载的转换,得到一个驱动电压U1,用这个驱动电压控制卷材上端的推拉杆,把杆往左拉,使卷带走正。如卷材偏向左,则PS2动作,输出高电平,转换成驱动电压U2,把推拉杆往右推,使卷材走正。见图6波形图。
如卷材已切断,则PS1、PS2同时动作,都输出高电平,把PS1和PS2的输出送入与门,从与门输出端得到控制电压U3,用这个控制电压切断卷筒电视的电源,使卷筒停止转动。
3.印刷品漏印检查
为检查印刷工序中有无漏印,用淘型光电开关和扩散反射式光电开关配合组成漏印检查装置,见图7。图中沟型光电开关PS4作定位控制。假定印刷的是透明薄膜上的商标图案,因此2个商标图案之间的缝隙通过PS4的槽时,PS4透光动作,输出高电平。3个扩散反射式光电开关PS1~PS3装在对着有颜色的图案部份。PS1~PS3的输出送入一个或门,或门的输出和PS4的输出送入一个与门,与门的输出与告警电路相连接。

如果没有漏印,则PS4有输出时,PS1~PS3都不动作,说明工作正常。如有漏印,则PS1~PS3中总有一个有输出,与门就有输出,发出告警信号。 (于鹤飞)