编者按:如同积木一样,再复杂的电路也是由一个个小单元电路“拼凑”而成,所以只要对各单元电路有比较熟悉的了解,读懂电路也就不难了。本刊特设“单元电路”小栏目,旨在初学者阅读后,能初步掌握常用的单元电路知识,看懂不太复杂的电路图,对家电电路的工作原理有一定的了解,对家电的一般故障能作出分析并能进行简单的维修,为以后的自学和提高打下基础。本刊将从本期开始,由浅入深、循序渐进地介绍各种常见单元电路的工作原理和分析方法,并结合实际,配合单元电路介绍常见的家电产品电路。
一、什么是电路图
简单地说,电路图用来表示电路的组成和电路中各元器件之间相互连接的关系,它能帮助我们了解电路的结构及工作原理,是电路分析、实验与装配的重要依据。看不懂电路图就是“电子盲”,就难以深入学习和掌握电子技术。
随着科学技术飞速发展,电子产品(设备)日新月异,结构也越来越复杂。有了电路图,我们就能够更好地掌握、使用和修理这些新设备。所以,学习电子技术,掌握和应用电子设备,必须学会看懂电路图。
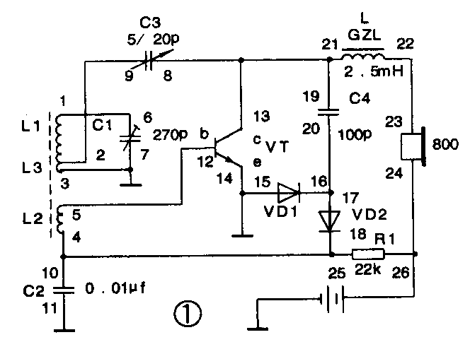
电路图有原理电路图、安装图和方框图三种。图1~3分别是单管来复式晶体管收音机的原理电路图。安装图和方框图。
1.原理电路图(图1)

原理电路图是用各种符号和线段表示电路中各个元器件的连接情况(符号代表各种电子元器件,线段代表连接关系)的一种专业图形。各个元器件旁注明了元器件的参数值。借助原理电路图分析电路中电流的来龙去脉,即电流怎样在元器件和导线里流动的,可了解电路图对应设备的工作原理。通常所说的电路图往往就是指的原理电路图。
2.安装图(图2)

安装图也称布线图。原理图只说明了电路的工作原理,看不出各元器件的实际形状,在设备中是怎样连接的,位置在什么地方,安装图可以说明这些问题。由于实际的安装图比较复杂,目前电路中元器件的安装一般采用印制线路板,所以安装图就是在线路板图上用实物图或符号画出每个元器件的位置及焊在哪些焊接孔上。对于一些较简单的电路,一般还可以画出对应的实体图。
3.方框图(图3)

方框图是把一个完整电路(或整机电路)划分成若干部分,各个部分用方框表示,每一方框再用文字或符号说明,各方框之间用线条连接起来,表明各部分的相互关系。所以,方框图是用来表示某一设备的电气线路是由哪几部分组成的以及它们之间的关系。每一部分可以用一个方框表示它的功能,不必画出元器件和它们之间的具体连接情况。方框图是为说明电路的工作原理服务的。一个电路划分成几部分,各部分的关系清清楚楚,就可以掌握全局。图3是上述单管收音机的方框图,它有再生、高放、来复低放、双二极管检波等功能。方框图常常用来说明集成电路的功能,因为集成电路非常复杂,对于集成电路我们只需了解其中的功能情况,把集成电路看成是具有某一功能的器件,只需掌握集成电路各个管脚的定义以及输入输出关系就可以了。
要了解和读懂电路图,应从认识各种电子元器件开始。基本元器件有电阻器、电容器、电感器、变压器、晶体管和集成电路,首先应了解它们的名称、规格、种类、外形、表示符号、功能、结构和连接使用方法。电路图是由各个单元电路组成的,每个单元电路实现其中的某一个功能,在图1中,有电源单元电路、放大单元电路、振荡单元电路、检波和调制单元电路等等。
不管多复杂的电路,都是由少数几个单元电路组成的,好像孩子玩的积木,总共就那么几十种,可是到了孩子们的手中,却可以搭出几十乃至几百种平面图形或立体模型,真是千变万化。同样道理,无论多复杂的电路,也只是由少数几个单元电路组成的,因此初学者只要切实了解常用的基本单元电路,学会分析和分解电路的方法,看懂一般的电路图就不困难了。
二、怎样看懂电路图
一张电路图就好比是一篇文章,各种单元电路就是句子或段落,各种元器件就是组成句子的词和词组,所以要想看懂电路图,还是要先从认识元器件开始。看电路图必须首先熟悉电路图中各符号所对应的元器件,了解其基本功能,根据工作原理画出方框图,并找出单元电路,这样就能了解整个电路的大致工作情况,为最后看懂整个电路图打下基础。下面仍以单管收音机为例,介绍看电路图的要领。
1.看电路图时必须注意以下几个问题
要记住“接地”符号的意义,图中两个或两个以上的接地符号之间就等于用导线接在一起。图1中,11、14、7可认为是接在同一点,“接地”点是电路中的参考点,常称为零电位点。
要熟悉各种单元电路的功能和特点。例如对各种放大、振荡和检波等基本电路熟悉了,看收音机电路图就比较容易了。
要多看常用电子设备的电路图,多看电子杂志、报刊和图书中介绍的电子装置的电路图,并将有典型意义的电路图画下来。看多了,画多了,就会熟能生巧。
2.收音机的三大任务
调谐(选台):收音机是接收无线电广播信号并且将声音还原出来的设备。从千百个不同载波的无线电广播节目中,任选一个,便是收音机调谐电路的主要任务。
解调:从无线电信号中还原音频信号的过程称为解调,它是调制的反过程。对调幅波的解调,称为检波。
还原:收音机最后要通过扬声器或耳机把音频信号转化为声音。
3.直接放大式收音机电路分析
图1是直接放大式收音机(来复再生式单管收音机)的原理电路图。
图中L1、L2和L3为磁性天线线圈。L1和C1组成输入调谐回路。L2为磁性天线次级耦合线圈,通过耦合,可将L1、C1选出的电台信号送入晶体管。L3为再生线圈。为了使电路简单,晶体管VT作高频放大兼来复低频放大。VD1、VD2组成双二极管检波电路。GZL为高频扼流圈。R1为VT的基极偏置电阻。C2为交流旁路电容,C4为交流耦合电容。
高频放大:由天线和磁性天线感应到的高频电台信号,经调谐电路L1、C1选频,一定的L1、C1值,只能选择相应频率的电台信号,因此改变C1值,就可以选出所要接收的电台信号。
调谐:把调谐电路的谐振频率调到与所要接收的电台频率一致。经L2耦合到处于放大状态的晶体管VT的基极,经过放大,由集电极输出。
检波:由VT集电极输出的高频信号,高频扼流圈GZL对其阻抗很大,而耦合电容C4对其阻抗很小。高频信号大部分通过C4加到双二极管检波器检波(见图4)。双二极管检波电路,也称倍压检波电路,其工作原理如下:当外来已调幅高频信号在负半周时(上负下正),信号按框图内实线方向经二极管VD1,向电容C4充电,此时C4上的电压极性为上负下正;而当信号为正半周时(上正下负),如图中虚线就是信号电压和电容C4上已充得的电压串联,通过检波二极管VD2,再流过负载R1,从而取得低频信号,而将不需要的高频信号由C2滤除。

来复低频放大:R1两端的低频信号,通过L2又加到晶体管VT的输入端,这时晶体管工作为低频放大管,将低频信号放大,由其集电极输出。可知,信号两次经过晶体管放大,一次为高频放大,一次为低频放大,所以称为来复放大。
声音还原:VT集电极输出经过两次放大后的音频信号,GZL扼流圈对其阻抗很小,而C4对其阻抗很大,故音频信号很容易通过GZL送到耳机放音或加到下一级放大器的输入端。
再生电路:来复放大虽然使信号的增益显著提高,但整机灵敏度仍很低。电路中C3和L3起再生作用,经高频放大后的信号,有一部分送回L3,由于L3和L1绕向相同,从而使回路的高频信号进一步加强,这就是再生。
从上面这个简单的收音机电路的分析可以看到,一个收音机电路可以分成几个部分,也就是几个单元电路,如果我们切实地了解了单元电路的工作原理,那么不管多么复杂的电子设备,只要把它分解成一个一个的单元电路(实际上很多电器都附有工作原理图方框图),就能够一步一步地搞清它的工作原理。(洪荣晶 张文锦)