本文介绍的抽屉报警器,在主人开抽屉时,不会发出报警声;其他任何人开抽屉,都会及时报警。所以此报警器对开抽屉的人有“识别”能力。
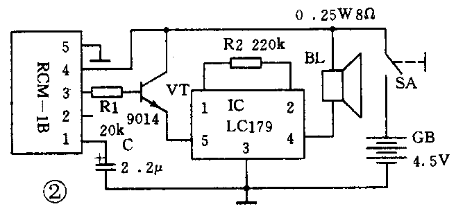
报警器可以分成发射和接收两部分,其电路分别如图1和图2所示。图1中的RCM-1A和图2中的RCM-1B是内藏天线的配套使用的无线收发模块。它们的功能是:二者分别接通电源后,在作用距离范围(8m~15m)内,RCM-1B的2脚输出高电平,3脚输出低电平,当RCM-1A与RCM-1B之间的距离超出一定范围(8m~15m)时,2、3脚电平翻转。平时,开关SA受抽屉推力作用而处于断开状态,图2整个电路断电不工作。图1所示的发射器放在抽屉主人的衣袋内,当主人打开抽屉时,虽然图2电路接通了电源,但由于RCM-1A的控制作用,使RCM-1B的3脚为低电平,晶体管VT截止,IC的电源端5脚和电源之间不通电,扬声器BL不响。但当盗贼拉开抽屉时,由于RCM-1A远在作用距离之外,RCM-1B的3脚输出高电平,VT导通,IC得电工作,BL发出模拟警笛的报警声。


IC选用LC179或LCW06-2型双列直插八脚塑封报警专用集成块;VT用9014或3DG8型管子,β>100;SA用小型自复位常闭触点微动开关,如KWX型等,亦可用磷铜片自行制作;R1、R2分别为20kΩ和220kΩ的1/8W碳膜电阻;BL为8Ω、0.25W小口径动圈扬声器;RCM-1A/B是由西安华翔科技所提供的无线收发模块。
安装时,将整个图2所示报警器装在塑料盒内,其电源开关SA的安装,要求它在抽屉关闭时的推力作用下处于断开状态;拉开抽屉时,自动接通电源。固定扬声器处的板面上要用手电钻开出若干个放音孔。调R2阻值,使放音节奏尽量急促有力。
图1所示的发射器连同两节七号电池可装在火柴盒大小的盒子内,放在衣袋中。其工作电流只有100μA左右,为了省电也可设一微型电源开关。接收部分除主人开抽屉和报警时通电外,一般处于断电状态,且通电时电流也很小,只有0.8mA左右,耗电甚微。
这种报警装置用途很广,凡是由专人控制的对象(如金柜、保密室防盗门等)都可方便地采用。(迟健男)