光电开关分为对射式和反射式两大类。反射式中有一种特殊的变型叫聚焦式光电开关。它的光学系统中有一个透镜,能把发射的光聚集在特定距离的某一点上。当被测物通过聚焦点时,它不仅能检测出光的亮暗变化,还能识别物体的颜色,因此常被用来检测和识别色标,在食品、医药、印刷、纺织等行业中得到广泛应用。
工作原理
聚焦式光电开关是利用红色或绿色可见光对不同颜色物体反射率的差别进行工作的。开关内有一个发光器和一个受光器,检测头前端有一个透镜,发光器发出的光经过透镜在焦点上聚成一个光点。被测物通过焦点时把光反射回来,也通过这个透镜送到受光器,经放大后由输出电路输出开关信号,见图1。

聚焦式光电开关使用的光源有红色和绿色两种可见光。不同颜色的物体对红光和绿光的反射性能见图2。

假定我们用红色光源的聚焦式光电开关去检测白纸上的绿色标记。当该纸在聚焦点上移动时,开始是白色,因为白色光对红光的反射率高,光电开关的受光器能收到光而动作,输出晶体管饱和导通,输出高电平,负载中有电流流通,这时输出是常闭状态。随着白纸移动,当绿色标记移到焦点位置时,因为绿色对红光的反射率低,见图2(a),光电开关收到的光弱,由于光从亮突然变暗,输出晶体管就从导通变成截止,输出变为低电平,负载中没有电流,输出成断开状态。这种输出状态的突然变化,说明光电开关已经检测出标记的颜色变化。也就是说,用红色光源的聚焦式光电开关,能检测出白纸上的绿色色标。
如上所述,聚焦式光电开关就是利用两种颜色的反射率的差别进行检测的,两种颜色反射率的差别越大,检测效果越好。所以,用红色光源的聚焦式光电开关能测出白底绿点、白底黑点或红底绿点、红底黑点的色标;当然也可以是绿底白点、黑底白点等色标,见图2(a)。用绿色光源的光电开关就能测出白一红、白一黑、绿一红、绿一黑的色标,见图2(b)。
同时,从这两张曲线图也可看到:用红色光源的聚焦式光电开关不能测白底红点的色标,用绿色光源的不能测白底绿点的色标。因为这两种颜色的反射率基本相等,光电开关的输出不会变化,所以无法识别。
由于聚焦式光电开关有识别颜色的特殊功能,又因为它有聚焦性,使外来光和背景光的干扰减到最小,从而能检测表面反射率较低的物体。因此它除了能作常规的对光的亮暗突变进行检测外,还常被专门用于色标的检测和识别。在食品、医药、印刷、纺织以及包装业中作计数、分类、质量检测、定位控制和同步控制等用途。
产品性能与使用要点
1.产品性能
本文以台湾和可公司的产品为例。该公司生产的聚焦式光电开关有3种型号:N-ER-01N(P),N-EG-01N(P),N-ER-03N(P)。其中:“N”是聚焦式光电开关的代号,“ER”表示红色光源,“EG”表示绿色光源,“01”表示检测距离为1cm,“N”和“P’表示输出电路类别,N表示可与NPN型晶体管电路连接;P表示可与PNP型晶体管电路连接。
这3种光电开关内部都有光学系统、发光器、受光器、放大器、光电调制电路和开关输出电路。内部电路全部是集成电路,并有短路保护和过载保护。使用12~24V直流电源,可供负载电流100mA,开关频率每秒100次,灵敏度可调,输出状态可用开关自由转换。工作稳定可靠,使用方便,寿命长。
它的外形为长立方体。前端有一个透镜,尾部为输出和电源线,下部有安装孔,见图3。开关顶部有与使用有关的说明标志牌以及开关、信号灯等,见图4。


标志牌上部为发光、受光标志以及接线说明。中部为动作指示灯:“OUT”灯亮表示受光器接收到光。下面有2个开关,左侧是放大量控制开关,扳向“+dB”时可使输出信号增强。右侧是输出状态转换开关,“NOR”表示正常位;“INV”表示反相,可使输出状态从原来的低电平转换成高电平或从高电平转换成低电平。最下面的是灵敏度调节电位器。
2.使用要点
(1)本产品作色标检测应用时,要求色标不小于3mm×3mm。
(2)安装固定好后,应按现场实际使用情况,根据底色和色标的反射率差,调节灵敏度电位器,使光电开关在最佳阈值的状态下工作。以后在每次更换新的底色和色标时,都要重新调整。
(3)本产品输出为3线式,输出状态可以用扳动标志牌上状态转换开关的位置来转换。如使用的是N型,负载应接在棕(1)、黑(2)之间,见图5(a)。状态转换开关在“正常(NOR)”位时,聚焦点上没有检测物(没有反射光)时,“OUT’灯不亮,光电开关不动作,输出低电平L,输出是断开状态;当聚焦点上有反射光时,光电开关动作,“OUI”灯亮,输出高电平H,输出成闭合状态。这种工作过程和状态称为“亮通”或“常开”。

如用户把状态转换开关扳到“反相(INV)”位上,则全部状态与上相反:无反射光时“0UT”灯亮,输出高电平H,输出变成闭合状态;有反射光时“OUT’灯灭,输出低电平L,输出成断开状态。这种工作过程和状态被称为“暗通”或“常闭”。可见用户只需变换这个开关的位置,就可以自由选择和变换工作和输出状态。
如用户使用的是P型,电路连接见图5(b)。负载应接在黑(2)、蓝(3)之间。
(4)如检测的是透明薄膜上的色标,应在薄膜下衬垫镜子或镀铬金属板以加强反射性能。
(5)用户应按检测物的底色和色标来选择光电开关的光源。
(6)其它注意事项见本刊1996年第11期“光电开关的应用”一文。
应用举例
1.瓷砖漏喷彩釉的检测
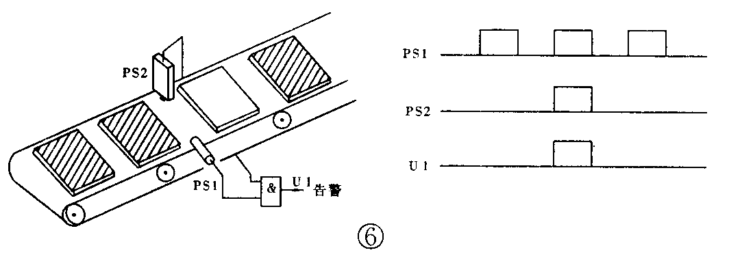
图6为检测瓷砖是否漏喷彩釉的装置。图中PS1为扩散反射式光电开关,装在传送带侧位,瓷砖到位时动作。PS2为聚焦式光电开关。如瓷砖为红色,应选绿色光源的EG型。当瓷砖通过时,如已喷釉则反射光弱,PS2不动作;如漏喷釉则因瓷砖底色为白色,反射光强而使PS2动作。PS1和PS2的输出接到与门输入端,与门输出用作告警信号或驱动剔除装置。

该装置还可用于印刷品的漏印检测、色标漏印检测、商标漏贴检测等。
2.包装袋自动封装切割
图7为自动包装机,用于灌装颗粒状或粉状食品。卷盘1上的塑料薄膜经导辊2和牵引装置3牵引到翻领成形器5,被拉伸成筒形。由纵封装置6热压后成塑料薄膜直筒,然后用横封装置7把下端封死后就可灌装食品。食品灌满后再把上端封死并切下,灌装工作即结束,食品袋落下由传送带送走。实际上横封剪切装置7是同时完成已灌装袋顶端封口、下一个空袋底部封口和滚刀切割分离3个工步。因此当灌好的食品袋落入槽内的同时又可进行下一个食品袋的灌装工作。全部操作都是自动和有序进行的。其中的关键操作横封剪切操作是由聚焦式光电开关4控制的。当光电开关检测出商标上的色标后发出控制信号,使横封剪切装置动作,可见聚焦式光电开关所起的重要作用。

3.流水线上物品分类计数
图8为成品流水线上的分类计数装置。两种物品包装盒上印有红色和绿色两种色标,用聚焦式光电开关识别和分类,PS1为红色光源,可识别绿色色标;PS2为绿色光源,可识别红色色标。这2个光电开关的输出经存储后分别用来控制气泵P1和P2。在同步信号(由扩散反射式光电开关PS3、PS4产生)控制下,将成品分别推入各自的传送带。然后由PS5、PS6(扩散反射式光电开关)进行计数汇总。

南京华威电信电气有限公司是台湾和可公司总代理。和可公司的产品在国际市场享有良好声誉,被欧洲用户列为50家可信赖公司之一。现可供产品有:电感式和电容式接近开关、光电开关、固态继电器、电子定时器、微电脑数字温控器、工控PLC、PLC人机界面等工业自动控制产品。本公司对广大用户提供技术咨询和服务,承接工程设计、安装和调试。公司地址:南京市长乐路牵牛巷10号2楼。邮编:210006。电话(传真):(025)-2207469。(于鹤飞)