这里介绍的时间可调的新颖双向流水彩灯控制器,适用于商店橱窗、小型舞厅及家庭装饰。
电路原理
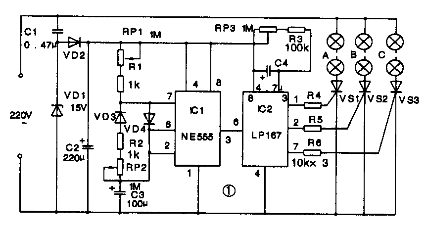
电路见图1,它由方波脉冲振荡器、彩灯控制专用集成电路及电源电路等几部分组成。

电路的核心器件主要是一块彩灯控制专用集成电路LP167,它内部集成了整流放大器、压控振荡器、三位环形时序计数分配器及三个开漏极输出器等,其管脚排列示意和内电路功能框图见图2。

LP167各引脚功能:第1、2和7脚为3个开漏输出端A、B和C,它受内部压控振荡器和环形时序计数分配器控制,可依次输出高电平,以驱动可控硅;3脚为内部压控振荡器控制端,外接振荡电阻、电容,改变3脚外接电阻电容数值,可改变压控振荡频率;5脚为整流放大器的输入端IN,改变5脚输入音频信号的幅值,也可改变其压控振荡器的频率,在本电路里该脚悬空不用;6脚为循环方式控制端CON,当6脚悬空或接低电平时,为正向时序,即A、B、C输出高电平时序为:A→B→C→A…;6脚接高电平时,为逆向时序,即A、B、C端出现高电平的时序为:A→C→B→A…;4脚为电源负端,即接地端GND;8脚为电源正端V+。
时基电路NE555接成占空比可调的方波脉冲振荡器,当3脚为高电平,7脚悬空时,正电源经RP1、R1和VD4向电容C3充电,经t1=0.7(RP1+R1)C3时,使时基电路的6脚电平上升到2/3V\(_{DD}\),IC1复位,输出端3脚与7脚输出低电平,这时C3储存的电荷就通过RP2、R2和VD3向7脚放电,使IC2的2脚电平不断下降,当经t2=(RP2+R2)C3时,2脚电平降至1/3VDD,IC1置位,3脚又输出高电平,7脚悬空,此时正电源又通过RP1、R1和VD4向C3充电……。这样周而复始,形成振荡,IC1的3脚轮流输出高电平与低电平。由于IC1的3脚直接与IC2的循环方式控制端CON即6脚相连,从而使IC2的输出时序交替发生变化。当IC1的3脚输出低电平时,IC2的6脚也为低电平,输出为正时序,即可控硅导通时序为VS1→VS2→VS3→VS1……,所以彩灯串A、B、C依次点亮,只要将灯串在空间作适当排列就可以形成正向流水效果。调节RP2因改变C3放电速率,故可控制正向流水时间长短。当IC1的3脚输出高电平时,IC2的6脚也为高电平,输出为逆向时序,可控硅导通时序为VS1→VS3→VS2→VS1…,所以灯串按A→C→B→A……顺序闪亮,即倒流水。调节RP1,因改变C3充电速率,故可控制逆向流水时间长短。改变RP3可改变压控振荡频率,从而达到调节灯串流水速度的目的。
元器件选择与制作
IC1用NE555、μA555、SL555等时基集成电路。IC2为常州半导体厂生产的LP167彩灯控制专用集成电路,其极限电参数和直流电参数分别见表1和表2。


LP167推荐工作条件电源电压V\(_{+}\)=10V~20V;交流输入电压峰峰值Vip-p=0.5V~V\(_{+}\);输出电流Io=15mA~50mA;工作温度t=-10℃~+70℃。
VD1为15V、1/2W稳压二极管,如UZ-15B、2CW62等;VD2为IN4001型普通硅整流二极管;VD3、VD4可用1N4148型硅开关二极管。VS1~VS3可用1A/600V小型塑封单向可控硅,如MCR100-8型等。每路灯串功率最好不超过100W,若每路灯串功率较大,应相应加大可控硅VS1~VS3的电流容量。
RP1~RP3可用WH5型小型合成碳膜电位器,其余电阻均为RTX-1/8W型碳膜电阻器。 C1要求采用CBB-400V型聚丙烯电容器,其余电容均为CD11-25V型电解电容器。

图3为印制电路板图,印制板应采用环氧树脂敷铜板制作,纸基极因易受潮使绝缘电阻变小故不宜使用。因本机采用了专用集成电路,加上电路设计合理,读者只要按图正确装配,一般不用调试,通电即可正常工作。使用时只要调节电位器RP3使彩灯串流水速度合适,再调节RP2与RP1即可分别调节正流水与倒流水的时间。采用图示数据,正反向流水时间均可在70s内连续可调。若要再加大调节范围,可以根据需要增大电容C3容量。(陈有卿)