扬声器在音响系统,尤其是在较大型的扩音系统中,是所有器材中最薄弱的环节。说它薄弱,不仅仅指在音质方面扬声器是最不易满意的器材,还在于它相对其它器材而言又是最容易损坏的一种。如果排除扬声器生产工艺等因素造成的可靠性缺陷以外,冲击、失真和过荷是导致扬声器损坏的三大原因:
1.音响器材的开、关机,话筒的意外跌落等事件都会给扬声器以突发性冲击,造成扬声器的损坏。
2.操作人员不熟练或偶然的操作失误,扬声器超负荷运行也是造成扬声器损坏的一大原因。
3.因为经费的限制,或者误认为“为了保险”而使用小功率的功放驱动扬声器,其结果却往往事与愿违,小功率功放也可能会损坏扬声器。这是因为在大信号时因功放动态范围不够使输出信号严重失真,严重时几乎将正弦波削为矩形波。此时功放的平均输出功率增加则可能加重扬声器的负荷,而且由于构成短形波的大幅度的高次谐波也可能使扬声器尤其是高频扬声器损坏。
4.数字录音技术的出现有可能重现大的动态范围,象CD机、LD机的音频动态范围可以轻而易举地达到100dB以上。面对如此巨大的动态,如果在音响系统中未适当采取限制措施,而扬声器在配置时又没有留有能满足这么大动态范围的功率余量的话,在峰值音乐信号出现时,扬声器可能会损坏。对扬声器的保护措施有多种形式,譬如说对器材配置时的考虑,扬声器数量的考虑,工作人员的培训等措施的考虑都可以有效地保护扬声器不受损坏,我们所要谈的是如何提高扬声器的自身保护能力。
在这里,并不打算涉及扬声器功率过载的“有源保护”方法,仅就“无源保护”方案加以探讨。扬声器的无源过载保护,如同电子线路保护一样大致有两类,一类是“断路保护”方式,另一类是“限流保护”方式,现介绍如下。
一、断路保护方法
1.断路保护最简单的方法就是在功放与扬声器之间串接一保险丝,如图1所示。只要保险丝规格选择得当,当信号电流超过扬声器允许极限时,保险丝熔断,扬声器就会得到保护。

2.断路保护的另一种方法是在功放和扬声器间串接一继电器,见图2。当过大的信号电流通过后使继电器断开从而保护了扬声器。

上述两种扬声器的断路保护方法虽简单易行,但在技术上和实际中却存在一些问题:
1.上述断路方法保护标声器是以终止扬声器工作为前提的,这对正在兴致勃勃欣赏节目的观众来说,与扬声器的损坏本质上并没有差别,它同样使人扫兴。
2.在保险丝断开或继电器断开的瞬间,都会对功放和扬声器产生一定冲击。正如前面所说,任何意外的冲击都有可能招致扬声器乃至功放的损坏,尤其是对高频扬声器更可能是这样。
3.保险丝断开后的更换既费时而又麻烦,而继电器触点的动作又是产生噪声的来源。
由于存在上述问题,这种简单的保护方法已不多见用了。
二、限流保护方法
限流保护方法就是设法限制通过扬声器的信号电流大小,使扬声器得到保护的方法,下边分别作些介绍。
1.白炽灯保护电路
白炽灯中的灯丝冷态时电阻值很小。例如,一只具有12V21W规格的白炽灯泡在26℃时的冷态电阻为1.60Ω。在灯丝通电后,其阻值随两端电压的加大而增加。如果将这类灯泡接入功放输出电路,如图3,随着功放输出的增大使灯丝电阻变大,由于灯丝的分压作用使加于扬声器上的信号电压得到一定衰减而被保护。

必须注意的是并非所有白炽灯泡都可作为扬声器保护器件,例如:用于市电220V的灯泡尽管有较高的耐压能力,但因冷态电阻太大和允许通电电流太小而不适用。一般来说,只有那些冷态电阻较小(1Ω左右)、允许通过电流较大(1A以上)、体积较小的低电压大功率白炽灯泡才可能用于扬声器保护电路。不过,由于白炽灯泡的体积以及固定灯泡的机械结构复杂等原因,这种扬声器保护电路目前采用的并不广泛。
2.PTC元件保护
图4是具有正温度系数材料PTC元件的电阻一温度的典型特性曲线。由图看到,在24℃时,该PTC元件具有较小的电阻值(0.61Ω),此时的电阻值又称为零功率电阻。在环境温度变化不大的时候,PTC元件的电阻值变化也不太大。但是当环境温度达到128℃后(相当图中的A点),由于PTC元件材料晶格的变化,其电阻值随温度的增加趋势加剧,图中A点到B点温度范围内平均上升速率达7.78Ω/℃,在B点达到919Ω之多。如果将此PTC元件用于图5所示的扬声器保护电路,由于从A到B点的温差很小,而电阻变化又极大,因此当PTC元件从A到B的工作状态可在极短时间内完成,且在B点时由于电阻极大使扬声器的工作电流极小而声音很小,此时PTC元件的作用就相当于一个开关将扬声器与功放的输出断开了。又因为PTC元件的可逆性,所以在保护电路中PTC元件又被称之为可逆开关,或自动开关。


三、一种实用的PTC元件扬声器保护电路
由于PTC元件所特有的正温度特性以及用于保护电路时所具有的简单、实用、可靠和价廉等突出优点,被广泛用于各种音响保护电路。图6是一种较为实用的PTC元件扬声器保护电路。当PTC元件的工作温度超过A点后很快上升到B点,使扬声器因得到的功率很小而几乎“无声”。在这种情况下,扬声器是得到了保护,然而本该是高潮的节目信号却得到了相反的结果,这显然也不是我们所期望出现的现象,为了克服这种现象的出现,在实际扬声器保护电路中,可在PTC元件RF的两端并上电阻Rc。在常温状态下,并联电路RF//Rc的阻值取决于PTC元件的零功率电阻RF。由于RF很小。功放输出可以认为全部加在扬声器上,扬声器正常工作。在功放输出加大以后,因电流加大导致PTC元件发热RF值增大,RF增至一定的值后并联电路RF//Rc的阻值取决于Rc的数值,这就相当于功放输出电路中扬声器与Rc相串联,加在扬声器上的功率因Rc而衰减。只要Rc的数值选择合理,它既能保护扬声器,也能保证扬声器的声音不会出现功放输出增加反而变小的反常现象。当然,由于Rc的衰减使功放的大信号输出加到扬声器上稍有“压缩”,但这种“压缩”可以控制在听众不知不觉之中,丝毫无损于音乐节目的总体效果。

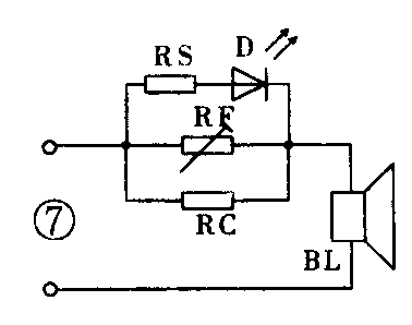
图7将RF//Rc并联电路上再并上一支路,该支路由一个发光管D和电阻Rs串联而成。只要计算得当。使得PTC元件即将处于保护时发光管D点亮。或者反过来说,当操作人员发现发光管D闪亮时即知道扬声器已处于保护之中,如果发光管D偶然“点亮”此时操作人员也不必介意,然而发光管较长时间亮着则意味着扬声器已长期处于被保护状态,此时操作人员必须意识到功放的平均输出功率偏高,要适当减小输出。图8是另一种带功率过荷指示的扬声器保护电路,这里不再叙述。


扬声器的无源保护方法可有多种形式,其中采用PTC元件限流保护方式在目前看来是一种价廉物美的方法,这是由于PTC元件独具的优点所决定。归纳起来,利用PTC元件的保护电路有以下一些优点:PTC元件是一种无触点的开关式元件,工作时无动噪声、无火花,安全可靠;当异常电流消失或切断电源后,可自动恢复正常工作状态。
但是,在采用PTC元件的扬声器保护电路时,我们也必须注意到:扬声器的保护只是一种技术上的防护措施,它决不可能代替扬声器自身的可靠性,更不可能代替扬声器应有的技术指标(例如功率指标),这是两个范畴,切不可混淆;可以说,扬声器的任何保护措施都是对大动态音乐信号的压缩,问题是这种压缩必须恰到好处,至少必须使听众没有明显的感觉。因此在保护电路设计时,对保护点设置的考虑必须合理,对保护元器件的选择必须认真,既要达到保护扬声器的目的,也要保证音质不能受到损害,当然也要保证保护电路工作的可靠性;上面所介绍的扬声器保护方法均属于短时间功率过荷保护,它并未解决也恐怕难以解决因冲击等意外事件引起的损坏。因此操作人员切不可因扬声器加了保护电路而有丝毫的麻痹大意。(张金泉)