例1故障现象:一台NV-M8000摄像机插入带盒能够正常拍摄,几分钟后倒回原处重放,电子寻像器上黑白图像正常,但机器经常发生自动停机卸载故障,停机卸载后电源指示灯仍亮,重新按重放键,机器又能正常重放,过一段时间后又出现上述故障现象。
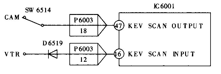
分析与检修:能够正常拍摄,几分钟后倒回原处重放,电子寻像器上有正常的黑白图像。说明该机各部分电路工作基本正常。由上述故障现象分析,初步判断故障存在于键盘操作或系统控制电路中。为了迅速确定故障存在的部位,插入带盒,按下重放键,观察到机器出现自动停机卸载时面板上REC、PLAY和PAUSE/STILL指示灯同时闪亮一下。大家知道,NV-M8000摄像机只有处在摄像状态,即把CAMERA/VTR操作选择滑盖盖住操作按键,安装在滑盖底部CAMERA/VTR开关断开时,上述3个指示灯才能同时点亮,因此说明故障存在于CAMERA/VTR开关或键扫描脉冲控制电路中。该电路如附图所示。拆开机壳和操作面板,用500型万用表检查接插件P6003电压,电压为4.4V,检查脚电压,电压为4V,按下重放键,当机器出现上述故障现象时发现脚电压从4V上升到4.2V,说明该机在VTR状态时IC6001脚至之间存在接触不良故障。检查印制板线条及焊点没有发现异常情况,检查CAMERA/VTR开关SW6514发现内部接触不良。遇到这种情况,可从开关缝隙滴进无水酒精,然后反复扳动开关清洁内部触点,机器工作可恢复正常。

例2故障现象:一台NV-M3000摄像机插入带盒,按下各功能键均为正常,按出盒键很难弹出带仓,但在摄像或重放时带仓又经常被自动弹出。
分析与检修:插入带盒后按各操作键均为正常,说明该机系统控制电路工作基本正常,由上述故障现象分析,初步判断故障在带仓锁定机构或键盘操作电路中。弹出带盒,卸出带仓盖,然后压下带仓并观察带仓下降到位后锁定机构已将带仓正常锁定,偶而晃动机器,发现带仓被自动弹出。退出电池重新压下带仓,晃动机器上述故障现象不出现,说明该机带仓弹出控制电路存在接触不良故障。拆开外壳,卸下操作面板,用500型万用表检查出盒按键两引脚之间在路电阻,电阻为30kΩ,晃动机器电表指示阻值从30kΩ变为0,故障存在出盒按键开关内部。从电路板上焊下按键开关,揭开表面透明胶带,观察开关内部,发现接触簧片按压后不能复位(凹面已向上,簧片不能与开关触点接触),晃动机器时簧片又在开关触点上滑动,偶而触碰触点,开关接通,带仓被自动弹出,于是出现上述故障现象。更换出盒按键开关后机器工作恢复正常。
NV-M3000摄像机出盒按键开关损坏后市场上很难买到配件。该按键开关虽然与一般录像机上使用的按键开关形状相同,但厚度相差较大,因此用录像机上的按键开关直接代替是不可能的。有人在维修时将变形的接触簧片取出翻个面重新安装好继续使用,用这种方法修复是不可靠的,主要原因是:既然按压按键后簧片产生变形而不能复位,那么将簧片翻个面后重新安装好继续使用,按压几次后有可能又被翻回原状而出现上述故障现状。遇到这种情况,最好的办法是买一只市场上容易买到的录像机上使用的轻触按键开关,将其内部簧片取出代替,故障才能彻底排除。(黄福森)