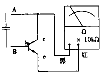
在没有专门测量仪表的情况下,电容器有无容量常常是用万用表的欧姆挡大致估测,即利用电容器的充、放电作用,根据表针摆动角度的大小来估测电容量的大小。但是这种方法只适用于电容量大于几千pF的电容,当电容器的容量小于2000pF时,即使使用“R×10kΩ”的电阻挡,表针也几乎不动,难以测定电容器的好坏和容量大小。若利用晶体管的放大作用,按附图连接,就可以测量电容量小到几百pF的电容。将万用表置于“R×10kΩ”挡,晶体管选用硅管3DG6,将待测电容两极与图中A、B两点相碰,然后再交换电极,看表针是否两次均是摆动一定角度而后又回到∞处,从而可判定电容有无容量,指针摆动角度越大,表明电容量越大,若两次指针均不摆动,表明电容器无容量。(魏秉国)
