三、ACV挡的故障检修
DT890A型数字万用表ACV挡的电路如图5所示,这是典型的平均值响应仪表,即AC/DC转换器输出的是平均值电压V\(_{0}\)-,而仪表显示值则按被测正弦电压的有效值来标定。
ACV挡不能测量,故障大多是因误测高压而将TL062损坏后造成的。TL062属于高输入阻抗、低失调电压的双运放,其中一个运放构成线性AC/DC转换放大器,另一个运放供蜂鸣器挡使用。VD5是整流管,正半周时VD5导通,VD4截止,信号流程是IC3a→C10→VD5→R7→R8→RP2→COM(模拟地)。负半周时VD5截止,而VD4导通,电流泄放回路为:COM→RP2→R8→VD4→C10→IC3a。显然,当VD5开路损坏时也会造成信号中断,无法测量,需更换一只1N4148型高速开关硅二极管。RP2是ACV挡的校准电位器,调整它可使AC/DC转换电路的总增益为2.22倍,经整流后获得的V\(_{0}\)-在数值上等于被测交流电压的有效值。如果发现各交流电压挡的显示值严重超差(均偏高,或偏低),应检查RP2的滑动触头是否松动、移位,引起误差。校准方法是将仪表拨至200mmV AC挡,输入100mV(有效值)正弦电压,然后调整RP2使显示值为100mV。
ACV挡的输入阻抗高达10MΩ,为抑制外界干扰,大都采用屏蔽罩(有的在后盖贴有金属箔作屏蔽层)。若低压挡在测量过程中严重跳数,则应检查屏蔽罩是否拧紧或屏蔽层引线是否断开。此外,当VD3接触不良而开路时,仪表的非线性失真会增大。
普及型数字万用表(如DT810、DT830B/C/D)为简化电路和降低成本,采用简易AC/DC转换器,由二极管1N4004(1A/400V)组成半波整流电路,再经过滤波电容获得平均值电压。此类仪表不用运算放大器,也未设置调整元件。常见故障是整流管损坏,更换时管子的耐压值不得低于400V,以便能承受220V交流电的峰值电压。需要指出,为安全起见还应增加一只保护二极管,接于整流管正极与模拟地之间,负半周时可为电流提供泄放回路,对整流管起到保护作用。有的仪表未加,建议用户自己焊一只保护二极管,型号仍选1N4004。
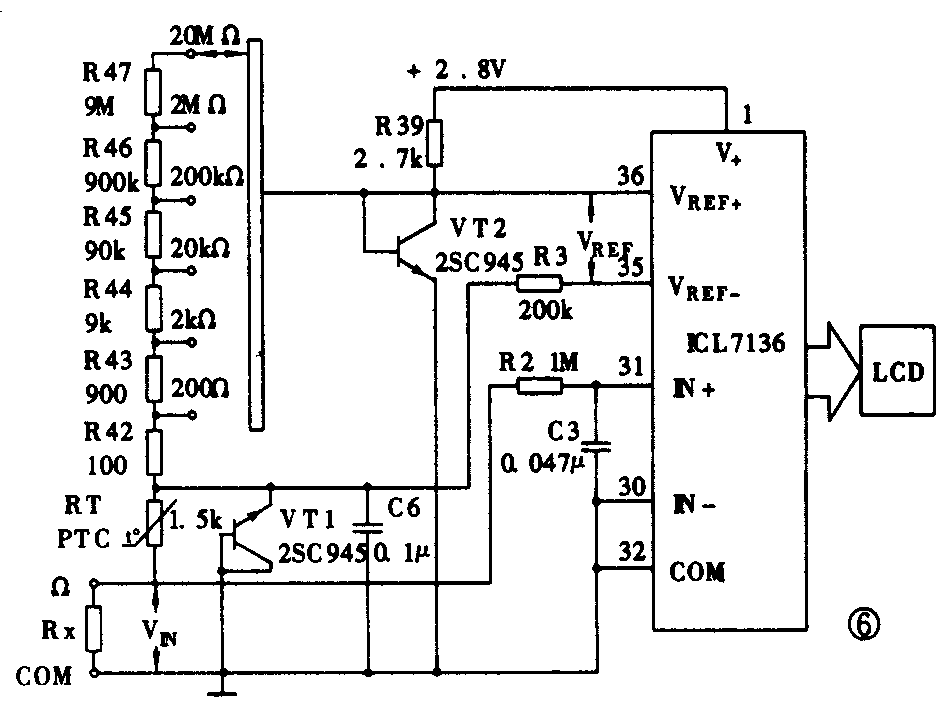
四、Ω挡的故障检修

DT890A型数字万用表采用比例法测量电阻值,电路如图6所示。ICL7136内部2.8V基准电压源经过R39提供测试电压。这里借用分压电阻(R42~R47)作为标准电阻R0,再和正温度系数热敏电阻(PTC)RT、被测电阻RX形成串联电路。以V\(_{R}\)0作为基准电压,而将VRX作为输入电压V\(_{IN}\),故RX=R0·VIN/V\(_{R}\)0从而实现了Ω/V转换。
Ω挡的故障率很高,绝大多数是由于误用电阻挡去测量220V交流电压而造成的。常见故障是量程开关的触点烧损、簧片变形、印制导线熔断(印制板上有烧焦处)。修理时首先用无水酒精棉球擦去污垢,再用镊子、尖嘴钳、电烙铁等工具修复簧片和触点。在不影响使用的情况下,可用导线将熔断的印制导线接通。然后检查保护元件(RT、VT1)是否损坏。RT在室温下的电阻值为1.5kΩ。一旦误测电压时,输入电压便经过RT→VT1→COM,把VT1的发射结反向击穿,电压钳位于6V左右,可保护7136不受损坏。与此同时,RT阻值急剧增大,起到限流作用,确保VT1处于软击穿状态。只要撤去输入电压,VT1就恢复正常状态。VT1可用JE9013代替;但RT绝不能用负温度系数热敏电阻(NTC)代替,否则起不到保护作用,还容易损坏A/D转换器。
电阻挡在开路时不显示溢出符号“1”,主要原因是机心受潮,印制板漏电。可用灯泡或置于暖气旁烘干机心,再用无水酒精棉球擦净印制板上焊接标准电阻的区域以及接入RX的区域,消除漏电现象。对20MΩ挡而言,即使轻微漏电,也会造成明显的测量误差。容易被忽略的是仪表面板受潮或沾上污垢,也会在V/Ω与COM插孔之间形成漏电。

DT890B型数字万用表还增加了200MΩ高阻挡,电路如图7所示。该挡的特点是将被测电阻RX与基准电压的电路相串联,使V\(_{REF}\)随RX而变化,TSC7106的输入端则接一固定电压VIN。这样既扩展了电阻挡的量程,又避免仪表在测高阻时发生跳数。需要指出,200MΩ挡属于参考挡,仅适宜测量20MΩ~200MΩ的高阻,且测量误差在±5%以内属正常现象。还应说明,该挡在表笔短路(RX=0)时显示10个字的固有误差,亦属正常现象。有的操作者还误以为仪表出现故障。仅当超出10个字时,才能视为故障。该挡出现严重跳数时,说明附近存在强电磁场干扰,应尽量远离干扰源。该挡的保护电路由RT和VT4构成。精密分压电阻R52、R53的阻值改变,会引起测量误差。更换时,二者需要选配,阻值误差不得超过±1%。-完- (沙占友)
