本文介绍一种质优价廉的彩灯控制专用集成电路SZ-9201。它共有四路输出,可呈现彩灯的“跳跃”、“流水”、“全亮”三种状态。适合于制作闪光玩具、电子礼品、橱窗装饰、舞会彩灯装饰、广告牌显示等。
SL-9201 IC系CMOS工艺制造,具有低功耗,宽工作电压(3~7V DC),内置抗压器。其输入、输出均设保护电路。并且可直接驱动可控硅元件带动大功率彩灯工作。SZ-9201 IC采用双列直插式8脚塑封,其外形及引脚排列如图1所示。①脚(V\(_{SS}\))——接电源负极端;②脚(OSCI)——内部振荡器输入端;③脚(OSC\(_{O}\))——内部振荡器输出端;④脚(VDD)——接电源正极端;⑤脚、⑥脚、⑦脚、⑧脚(Q1、Q2、Q3、Q4)——触发信号输出端。

SZ-9201 IC内部由振荡器、分频器、输出驱动器等电路组成。其四路输出波形如图2所示。

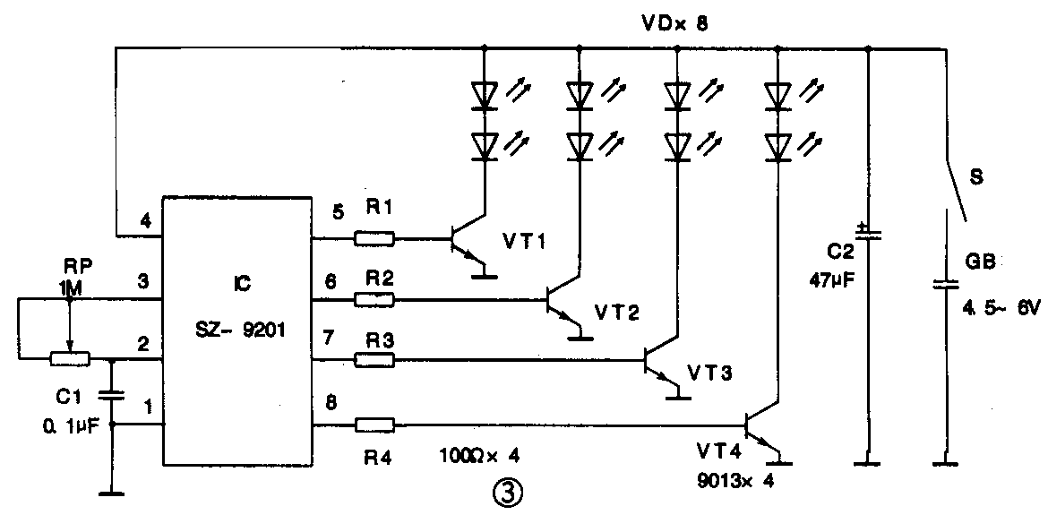
SZ-9201 IC的直流应用电路十分简单,其电路工作原理如图3所示。

接通电源开关S,IC SZ-9201便开始工作。从IC⑤~⑧脚输出的方波脉冲轮流使三极管VT1~VT4导通,从而带动发光二极管VD闪烁发光。调节RP可以控制IC内振荡器的工作频率,从而控制⑤~⑧脚输出方波的脉宽。当振荡频率很低时,其脉冲较宽,发光二极管呈“跳跃”闪光;当振荡频率适中时,发光二极管是“流水”状闪光;当振荡频率很高时,脉宽很窄,肉眼看起来,快速闪动的发光二极管就呈“全亮”状态。
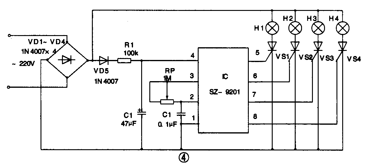
SZ-9201 IC的交流应用电路工作原理如图4所示。

220V交流市电经二极管VD1~VD4整流后,VD5隔离,由R1降压,C1滤波。由于IC内部已设置了电源保护电路及稳压器,故无需稳压。由IC⑤~⑧脚输出的方波脉冲轮流使单向可控硅VS1~VS4导通,故带动大功率彩灯群闪烁发光。同样,调节RP可使H1~H4作“跳跃”、“流水”及“全亮”三种花样。该电路适用于舞厅、橱窗装饰、广告牌等。(陈国华)