本孵化温控仪取材容易,制作简便,精度可以达到±0.3℃。
一、电路工作原理
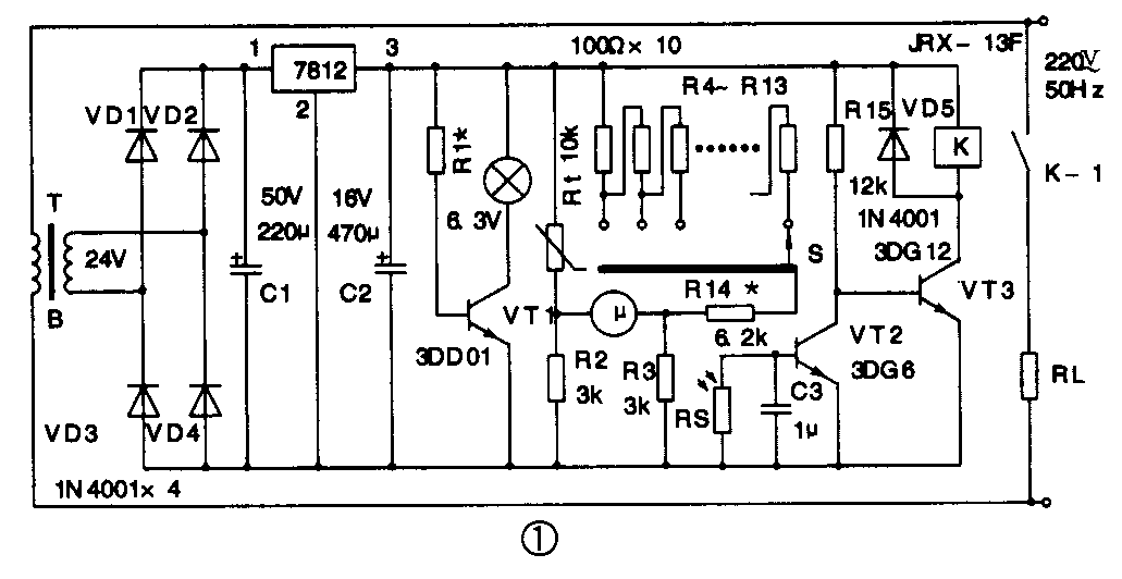
电路见图1。测温电阻RT等组成测温电桥。当温度达到控制点时,电流表表针挡住通往安置在刻度盘下面的光电池的光线,由光电池控制的开关电路截止,加热器断电。加热器断电以后,温度只要有哪怕是0.3℃的变化,也会造成表针的偏转,只要表针一偏转,光线就会照射到光电池上,使开关电路导通,加热器得电,从而使温度精确地稳定在控制点上。

二、制作方法
1.电流表表头的改制
选一块质量上乘、灵敏度高(不低于50μA)的电流表表头,拆下表面板罩及刻度盘,在刻度盘的中间位置用φ2.5mm的钻头,钻两个孔,用小刀将两孔切通,形成一个窗口,见图2。再将刻度盘复位,在刻度盘的窗口对应位置上,划好安放光电池的位置,再取下刻度盘,在划好的位置上安置好光电池,见图3。另在表壳上钻两个φ1mm的孔将电池线引出。然后将刻度盘复位固定。在表针上粘一片挡片。挡片材料的选择一是要轻,二是要用黑色。由于表针承受能力极微,必须用非常轻的材料,比如在轻薄的纸上着色,稍用一点胶水(一定要少)粘在表针对应窗口的位置上。粘的时候,要在表针的下面垫上厚纸片,防止将表针弄弯,见图4。粘上挡片以后,还要在窗口边上制作一个限位卡,将表针卡在窗口上,使之不能越过窗口。限位卡可以用原来的满刻度定位卡折弯改制。接着将面板罩装上。用铝片做一直角,将白炽灯座固定在直角上,再将直角固定在表面板上,使灯泡对准表针挡片。同时用铝箔作一V型反光板扣在灯泡上,使白炽灯成聚光状态射向表针挡片。至此,一只由表针控制光电转换的电流表表头的改制就算完成了。改制好的表头,表针不能与刻度盘接触,要能自由摆动。整个改装过程都要格外细心才行。



2.测温电桥的制作
测温电桥单独制作在一块电路板上。待整机调试完毕以后,再将电桥测温板密封,安置在孵化箱内。这样可以使整个桥路电阻都处在同一温度下工作,避免了电桥冷端所带来的误差。
电桥部分采用金属膜电阻。R2、R3要保持一致。热敏电阻采用负温度系数型。
3.电源电路和开关电路的制作
本机要求直流电压要特别稳定,否则会影响温度控制精度。电源变压器T的功率裕量也尽量取大一些,以不低于十几伏安为好。
本机表头的光源由6.3V白炽灯提供,光照强度由VT1控制,调整偏置电阻R1,使光线强度在不受阻挡的情况下,能使光电池产生的电压触发VT2导通为止。其余按图组装即可。
三、整机调试
孵化箱采用两组加热器,其中一组作为固定加热,只要孵化箱一投入使用,就一直接通电源。使用功率掌握在即使处于高温季节,也不超过37℃为准。另外一组加热器受本机控制,使用功率尽量小,这样可以降低控制仪加电断电工作频率。当然也不宜过小,过小时,将不能及时恢复箱内正常温度(开箱时温度会下降很多)。这样设置有两个好处:一是可以降低控制部分故障情况下的温度大幅度波动;二是可以降低控制元件的功率,使控制部分在小电流状态下工作,以减少故障。
调试时,先将测温电桥板置入箱内,注意不能靠近均温风扇叶和通风口。将R14用两根线引出箱外,用一个15kΩ和另外一个100Ω电位器串联来代替R14,将100Ω电位器置于中间位置。将两组加热器人工控制加电,用水银温度计测量箱内温度,当温度达到38℃时,调整15kΩ电位器(将挡住开关S置于中间挡位置),使电流表表针上的挡片刚好挡住刻度盘上的窗口,粗调工作完成。接着进行细调工作。方法是将粗调后的机器接入电路投入使用。此时箱内一定会稳定在38℃上,这个温度可能不太精确。需用体温表多次测量这个温度,根据所测数值调整100Ω电位器,使控制温度比较精确地稳定在38℃。这个过程需要反复进行。调整好温度以后,用固定电阻接入R14位置。将整个测温电桥板密封置入箱内固定。
至此,一台以38℃为中心的精确温度控制仪便告完工。在使用中可以根据孵化进程调整挡位开关S,对控制温度进行细微的调整。使用时,仪器一定要水平稳定放置,不允许有倾斜和震动。(李殿兵)