AN7086S是日本松下公司新推出的单片录放集成电路,广泛应用于具有录放功能的随身听中。AN7086S内含放音前置、录音前置、录音驱动放大电路、功放输入放大级、功放1、功放2以及声控、功放静音、录放转换、ALC等控制电路。
AN7086S功率放大器的主要特点是有OCL和BTL两种工作方式。当用BTL工作方式时,输出功率比较大。在录音电路中,突出的特点是具有声控录音功能。AN7086S采用24脚双列扁平封装,工作电压范围1.8~4.5V,推荐工作电压V\(_{CC}\)=3V,静态电流典型值20mA,当VCC=3V,R\(_{L}\)=8Ω时,BTL工作方式的输出功率P0=250mW以上。
图1是集成电路AN7086S的应用电路图。图1中,S1是录放开关,图示位置为放音状态;S2是声控开关,图示位置为暂停位置,另外两个位置依次是声控打开、声控关闭。

AN7086S集成电路工作原理如下:当17脚为低电位时,该集成电路处于放音状态。磁头信号从24脚输入放音前置放大器,①脚是放音前置负反馈。磁头信号经放音前置放大后从②脚输出经音量电位器调节后从③脚进入功放输入放大器。放音状态时,功率放大器工作在BTL方式。功率从⑧、两脚输出。当17脚由低电位变为高电位时,该集成电路由放音状态转为录音状态,放音前置断开,录音电路接上。话筒信号由输入录音前置,放大后分成两路:一路输入录音驱动放大器,由输出给磁头;另一路由②脚输出给音量电位器。音量电位器在录音状态下有两种功能:一是调节录音时的监听音量;二是声控录音时调节声控录音启动电平。音量电位器调得比较小时,需要输入话筒的声音大,当大于设定值时,⑥脚输出由高阻变为低阻,与⑥脚连接的三极管导通,启动电机运转,达到声控录音目的。
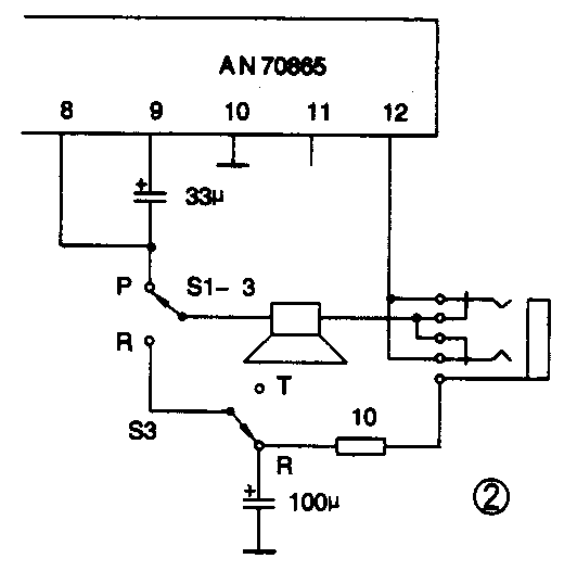
AN7086S集成电路主要是为单片录放随身听设计,因此在话筒录音时,为了防止扬声器对话筒的声反馈引起啸叫,在内部控制电路作用下,功放1关闭,⑧脚变为高阻输出,扬声器无声。录音监听信号来自脚功放2的OCL输出。在图2的应用电路中可用耳机监听。由于AN7086S在录音状态下的这个特点,使得该集成电路用于收录放机时,当从收放状态转为收录状态时,功放也从BTL转为功放2的OCL工作方式,输出功率因此降低。为了使扬声器也能发出声音,需利用收音/磁带转换开关中的一组开关,将扬声器切换到功放2的OCL输出端,接线原理图如图2所示。

AN7086S的引脚功能以及从V\(_{CC}\)=3V时各引脚工作电压查阅器件随附资料或有关手册可知。实测AN7086S的功率输出如下:VCC=3V,负载R\(_{L}\)=8Ω,总谐波失真10%时,输出功率P0=260mW,最大削波输出320mW。使用耳机的OCL输出时,当RL=16Ω,总谐波失真10%时,输出功率P\(_{0}\)=40mW,最大削波输出45mW。(韩家明)