全自动洗衣机实现模糊控制的关键控制器件是程控器中的单片机和洗衣机上的传感器。单片机相当于人的大脑,具有类似人脑的应变能力。传感器相当于人的感觉器官,能取得洗涤的各种信息。单片机根据传感器得到的信息作出判断和决策,从经过模糊数字处理后的数百种以至数千种模糊程序中选择出最合适的一种,决定出水位、洗涤剂投入量及洗涤程序,从而实现洗衣机智能化。
国产模糊控制洗衣机上的检测器有布量(兼布质)传感器、水位传感器、温度传感器,用于小天鹅、合肥三洋、松下—金鱼等模糊控制全自动洗衣机上。另在小天鹅XQB55-88NF上还应用了光传感器。几种传感器的布置如图1所示。

一、布量(兼布质)传感器
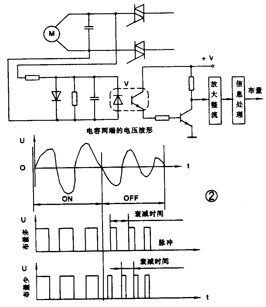
洗涤衣物的多少、质地的软硬,都将直接影响电机负载力矩的大小。因此在洗衣桶内放入衣物,当无水或者在加少量水的状态下进行几次正反向运转,根据电机停转时定子绕组两端感应反电动势的产生时间就可以用来检测布量和布质。布量传感器的测量电路及反电动势波形如图2所示。

洗涤电机带动负载运行切断电源后,经时间t才停止运转。在这个过渡过程中,转子的剩磁形成一个旋转磁场,定子绕组切割磁力线,在绕组中产生感应电动势,此感应电动势与电源电动势反相。这个交变的感应电动势加在光电耦合器V上,使其每周导通一次,形成一个低压脉冲,经放大整形后输入单片机。当布量大时,布的阻抗大,t短,形成的脉冲个数少;当布量小时,布的阻抗小,t长,形成的脉冲个数多。单片机根据输入脉冲个数就可以推算出布量的多少,布质的软硬。为了测量准确,一般都使电机正反向运转几次,进行几次检测,取累积反电动势脉冲数,或取每次检测的平均反电动势脉冲数。
二、水位传感器
模糊控制洗衣机采用电子式水位传感器,这种水位传感器由单片机控制,可以自动准确地控制水位。
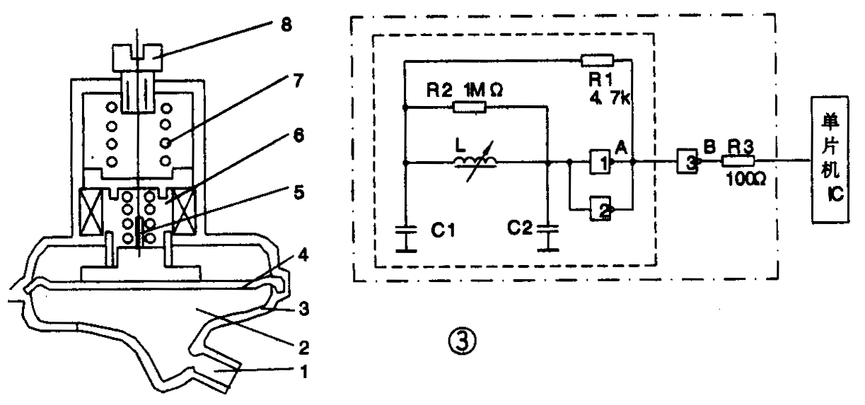
水位传感器结构和电路如图3所示,图中:1进气口、2气塞、3外壳、4橡胶隔膜、5磁芯、6电感线圈、7弹簧、8调整螺钉。其中,橡胶隔膜的作用是密封气室,将由于洗衣桶内水位引起的气体压力变化转变为形变,使固定在隔膜上的磁芯发生位移;弹簧的作用是以一定弹性力压在橡胶隔膜上,将压力的非线性变化转变为磁芯的线性位移变化,同时对磁芯的抖动现象起阻尼作用;磁芯的作用是产生磁场,通过它上下的移动来改变电感线圈的电感量;电感线圈与电容组成LC振荡电路,通过电感线圈电感量的变化改变其振荡电路的振荡频率;调整螺钉可以调整水位传感器的精度。

电路中点划线框内部分安装在水位传感器外壳上,虚线框内由反相器1和2、电阻R1和R2、电容C1和C2、电感线圈L组成基本LC振荡电路。反相器3将振荡电路输出的非数字脉冲信号变换成数字信号输入到单片机IC中。
LC振荡电路接通电源后便开始振荡。若洗衣桶内无水,则A点输出一个周期为20kHz左右的固定频率的振荡信号,通过反相器3使B点输出周期相同的方波信号。当洗衣机注水时,洗衣桶内水位上升,水位传感器气室内气体压力F增大,该压力与水位高度成正比,F作用在橡胶隔膜上,F力克服弹簧阻力推动橡胶隔膜及磁芯一起向上移动,位移大小为△X=F/K(K为弹簧弹性系数),这样就使固定在外壳上的电感线圈的电感量L逐渐增大。根据LC振荡频率公式f=1/2πL·C\(_{1}\)·C2/(C\(_{1}\)+C2)可知,L增大,将使电路振荡频率下降。
对于不同的水位,LC电路都有对应的频率脉冲信号输出,经B点输入单片机接口。当水位传感器输出的脉冲信号与选定储存在单片机中的频率相同时,单片机判定已达到了要求水位,停止注水,开始执行洗涤程序。
三、水温传感器
水温传感器安装在洗衣桶下部,以热敏电阻为检测元件。测定启动洗衣机开关的瞬间温度作为气温,测定注水结束时的温度为水温。所测温度转变成信号输入给单片机,为模糊推论提供信息。
四、光传感器
光传感器又叫红外光电传感器或浑浊度传感器,由相对设于排水管两侧的红外发光二极管和光电三极管(光敏三极管)构成(图4)。发光二极管透过洗涤液向光电三极管发光,由光电三极管将收到的光信号转换为电压,再由单片机读出其电压值,以此检测出洗涤液的污染浑浊程度。

由于直接检测衣物污染状况是困难的,因此,测出洗涤液的污染状况,就能反映出衣物的污染程度和污染性质。当衣物污染严重时,洗涤液中含的污垢颗粒密度大,严重浑浊;反之,衣物污染轻微时,则洗涤液不太浑浊。另外,根据达到相同浑浊度所需的时间不同,可判断衣物污染性质,即属于“泥污染”还是“油污染”。洗涤开始时,将清水状态下的发光二极管发光强度定为初期设定值。洗涤后,衣物的污染物逐渐溶于水中,水的浑浊度就逐渐提高,光的透过率随之逐渐下降。
光的浑浊度信号记作P,经不断地检测P值,可判断衣物的污染程度和污染性质。P值平稳时的值越大,说明衣物污染越重;检测时间越长,说明油污染严重。因此,根据达到稳定浑浊度所需的时间,就可判断衣物污染的性质。单片机根据检测到的P值,经模糊推理后就可计算出需要的洗涤时间。
现在,国内外正在对应用在洗衣机上的各种传感器进行研制开发,已应用的传感器主要是上述介绍的四种。
随着模糊控制技术的不断发展和应用,一个生产名符其实的“模糊控制全自动洗衣机”的时代即将到来。(周德林)