一、自激多谐振荡器
1.工作原理
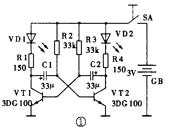
自激多谐振荡器是一种阻容耦合式的矩形波发生器,简称多谐振荡器。短形波含有丰富的奇次谐波,多谐振荡器由此得名。图1是带有两个交替闪亮发光二极管的晶体管多谐振荡器,由于电路的元器件左右对称,因此每只发光二极管亮与灭的时间也相等。该振荡器由两级倒相放大器及相互间用电阻电容器耦合在一起形成正反馈环路而构成的。例相放大器1由晶体管VT1及它的负载——发光二极管VD1和VD1的限流电阻R1,耦合元件R3、C2组成;同样倒相放大器2由VT2、VD2、R4及R2、C1组成。倒相放大器1的输出端——VT1的集电极经耦合元件R2、C1与倒相放大器2的输入端VT2的基极相连,同样VT2输出信号经R3、C2耦合至VT1的信号输入端,形成两级倒相放大器相互之间强烈的正反馈,产生自激振荡,使VT1、VT2轮流导通和截止,起到电子开关的作用,使VD1和VD2点亮与熄灭。如用示波器观测VT1、VT2集电极输出信号的波形,是占空比为1:1的矩形波,见图2。图1中耦合元件R3、C2的乘积和R2、C1的乘积分别决定波形图中一个周期内两个矩形波的宽度。显然,R3·C2和R2·C1也就是定时元件R、 C的时间常数大小,决定多谐振荡器振荡的周期或频率。若改变振荡频率,通常改变定时电容器C1、C2的大小,或微调定时电阻器R2、R3的电阻值。若R3·C2与R2·C1不等,将产生在同一周期内两个宽度不等的矩形波,使发光二极管亮灭时间不再均等。


2.元器件选择与制作
图3、图4分别为多谐振荡器的印制线路板的焊接面图及元器件面图,图5是焊成的实体示意图。为便于调试,先焊R1、R4,再焊发光二极管及晶体三极管,检查无误后,接通3V电源,此时发光二极管VD1、VD2应都不亮,用万用电表测量VT1、VT2的集电极与地之间的电压,除去VD1或VD2上压降,V\(_{CE}\)约15V,说明VT1及VT2处于可靠的截止状态。如果电压偏低或很小,检查晶体管管脚是否焊反或管子特性是否良好。然后再将VT1、VT2的上偏置电阻器R3及R2焊上,此时VT1及VT2处于深度饱和导通状态,VD1及VD2同时点亮,用万用电表测量晶体管集电极与发射极之间的饱和压降VCE(sat)应尽可能小,低于0.5V。只要晶体管VT1及VT2有截止和导通这两种工作状态,也就是在振荡中的两种准稳态,再焊接上耦合电容器C2及C1后,电路便能自行起振,用万用电表量晶体管集电极对地的电压时,表针应在0.5V~1.5V之间摆动,周期约1.5s。至此,多谐振荡器调试完毕。



图1电路中,VT1及VT2可选择硅NPN型小功率三极管,如3DX、3DG、9013、9014等或开关管3DK等,电流放大系数h\(_{FE}\)应大于60,否则要将R2及R3减小至18kΩ。若用6V供电,应将发光二极管的限流电阻器R1及R2增加到390Ω~750Ω。耦合电容器C1及C2选用额定工作电压10V以上的小型电解电容器。
多谐振荡器电路较为简单,无须外加触发信号便能直接起振及产生矩形波,广泛应用于脉冲或数字电路中,缺点是频率稳定性差,受电源电压波动及环境温度等影响较大。本文所介绍的多谐振荡器,若去掉发光二极管,加大晶体管的负载电阻,减小RC定时元件数值,能产生音频、超音频振荡,能驱动接在集电极与地之间的压电陶瓷片,即可将振荡电流能量转变为声能,用于发声或超声波控制装置中。
二、直放式收音机
本文所介绍的是一种袖珍中波收音机,电路采用直放式——在检波之前用集成电路块做高频放大,不需要像超外差式收音机那样复杂的变频及中频放大电路。该机用一块纽扣电池供电,用耳机收听,适于初学者制作。
1.工作原理
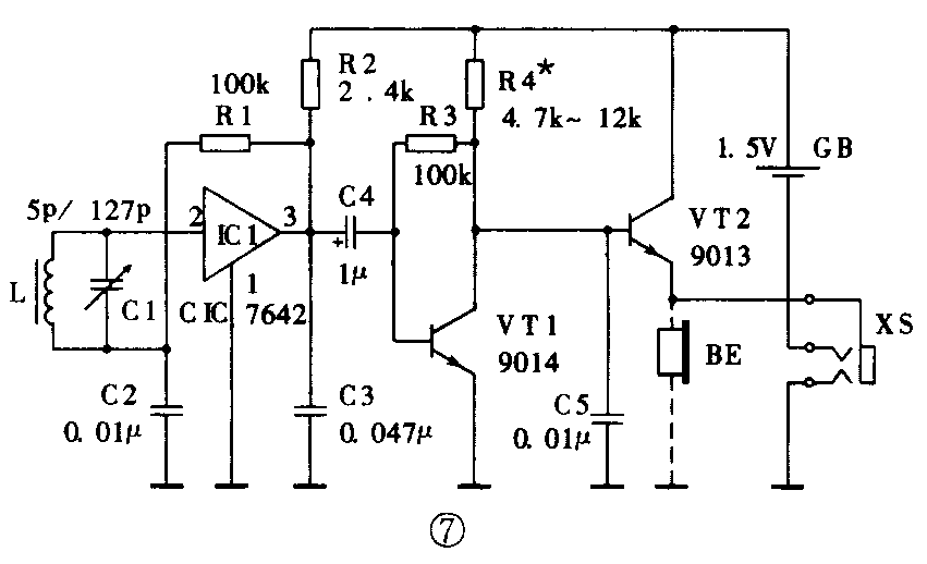
输入调谐电路由绕在天线磁棒上的电感线圈L及可变电容器C1并联而成,根据调谐功能,L称调谐线圈,C1称调谐电容器。电子爱好者常把天线磁棒及套在上面的调谐线圈一起称做磁性天线或天线线圈,它能够集聚、接收所在空间中的无线电波,在线圈两端感应出微弱的高频信号电压。调谐可变电容器C1,就能选择出所需的广播电台节目信号——已调幅的载波高频信号。调谐电路产生的高频谐振电流(电压),直接输送到集成高频放大电路IC1的输入端2脚,并通过高频电流容易通过的起旁路作用的电容器C2入地而构成高频耦合回路,将谐振的电台信号送到下一级进行高频放大。
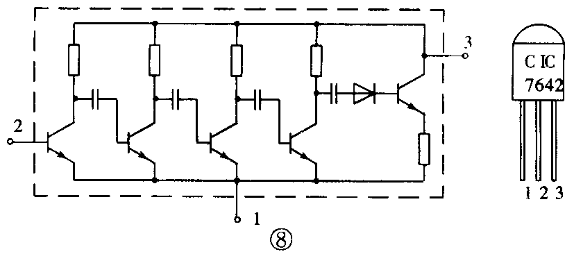
集成高频放大及检波器是由集成电路IC1及其外围元件R1、R2,C2、C3组成。IC1采用性能优良的微型收音机专用集成电路CIC 7642T,其内部构造见图8,右边为外形封装及管脚引线图。由此可知,CIC 7642T内部由数级高阻抗、高增益的高频放大电路及检波电路组成。L、C1产生的谐振电流,经IC1内部的数级高频放大及检波后,由IC1的3脚输出。IC1输出的信号包含有残存的载波高频电流,通过旁路电容器C3入地而滤去,音频信号则通过耦合电容器C4输送到下一级VT1进行放大。此外,R2及C3对IC1内部的数级高频放大器来说,又兼作电源去耦电阻及电容器,防止电池内阻过大造成电压波动而引起放大器反馈振荡啸叫。R1为IC1的偏置电阻,形成较强的电压负反馈,使工作点稳定。在R1选定为100kΩ时,工作点无须再进行调试。C2除为调谐回路高频信号提供接地通路之外,还隔断IC1的2脚的偏置电流不被短路入地。

直耦合功率放大器由晶体三极管VT1、VT2及R3、R4,C4、C5组成,输出负载为耳机BE。由晶体管VT1等组成前置放大部分,音频信号通过C4耦合到VT1的基极,R4为VT1的负载电阻,以提取放大信号的电压,放大后的信号由VT1的集电极输出,输送到VT2的基极。R3为VT1基极电压负反馈式偏置电阻器,使VT1获得稳定的工作点及减少音频信号放大的失真。C5旁路较高频率的音频电流,使耳机中的声音圆润而不尖噪。晶体管VT2接成共集电极电路,也就是组成射极跟随功率输出部分,这种电路能大大降低输出阻抗,以直接驱动低阻抗耳机工作。通过耳机完成把电能转变成机械能的电声转换,使耳机BE发出清晰优美的语言或音乐。R4此时又兼作VT2的偏置电阻器,以确定VT2共集电极电路的工作点。
2.元器件选择
天线磁棒采用扁长的AB型天线磁棒,材料为R400——起始导磁率μi为400的软磁铁氧体中波天线棒,尺寸厚3mm,宽7mm,长35mm。天线线圈采用高强度聚酯或缩醛漆包圆铜线,铜心标称直径0.15mm,漆包线最大外径0.18mm,近似SWG线号38号,长约3.2m。具体绕制方法如下:为防止天线磁棒粗糙表面蹭破漆包线绝缘层,需要在上面套上一个线圈管,用普通牛皮纸信封剪下宽32mm纸带,在天线磁棒上绕二层,剪下多余长度后用少许胶水粘封好。天线线圈L采用单层密绕形式,即从头至尾一圈紧挨一圈绕成一个有145匝的绕组。绕制线圈的难点是线圈引线头、尾的固定,通常采用图9的方法用压线带套住线圈端引线。纸的压线带是剪成宽3mm~4mm、长50mm牛皮纸纸条,平放在扁天线磁棒上,将10mm的一端折叠,让漆包线头从裹住的折叠处穿出,然后将纸带压平,在上面用上述的漆包线紧挨折叠处继续密绕10匝左右,以压住压线带,然后将纸带头端折出,并拉紧纸带头,将线圈起始引线端头固定住。用手缠绕余下匝数时,手捏漆包线不要左右摆动,以免线圈间距疏密不等或重叠压摞,一般每绕25匝~50匝,用手把各匝间轻轻推紧。在将绕完时要保留10匝左右,将压线纸带尾端折叠压平,在上面密绕余下的10匝,并将线圈漆包线尾端从纸带折叠处穿出,同样拉紧压线带头将漆包线尾端固定住。

调谐电容器C1选用固体介质单连可变电容器,外形尺寸为15mm×15mm×8mm,电容量为5p/127p。C2、C3最好选用高频特性好的,如CC1型圆片瓷介电容器,C5可选用CT1型瓷介或涤纶电容器。三极管VT1选用低噪声高增益的9014,也可以用3DG201A,电流放大系数h\(_{FE}\)为100~150 VT2选用饱和压降VCE(sat)≤0.5V的3DX201B等硅低频小功率三极管,h\(_{FE}\)为100~150,也可选用9013或9014。耳机选用低阻抗(32Ω)轻便微型单耳塞式耳机。耳机插座是配φ2.5mm插头的专用耳机插座,外形尺寸为 5mm ×5mm×12.5mm,它恰好能卡入印制线路板的凹槽内。耳机插座上有三个引出焊片,焊接前用万用电表测量这三个焊片之间都不应相通,插入耳机插头后,插座上电源开关自动闭合,也就是插座侧面的两个焊片之间接通。
3.焊接
本文所介绍的直放式收音机的外形采用甲壳虫式造型,其印制线路板的焊接面图与元器件面装配图分别见图10、图11。先装耳机插座及单连可变电容器,如尺寸合适能插在线路板上,就将耳机插座三个引出焊片向座外弯成90°压平,与印制线路板敷有铜箔的线条接触后焊牢。单连可变电容器要紧贴线路板,并用电烙铁将露出线路板面的可变电容器上两个固定塑料销头烫平,可变电容器便被固定在线路板上了。IC1要待全部元器件焊接完,特别是天线线圈焊接完毕之后,再利用电烙铁余热焊好。具体焊接方法及要求不再赘述,请初学者参考本刊上期辅导参考资料有关内容。完成的线路板实物示意图见图12。线路板的电源引线选用7股φ0.12mm导电芯的聚氯乙烯绝缘电线,正极用红色线引出,长约35mm,另一端与成T型的电池卡弹簧片焊接,负极用长约70mm白色或绿色线引出,端头与I型弹簧片相焊。



4.调试
通电之前再检查一遍焊接,特别是电源引线是否无误,然后用万用电表测量线路板上电源输入端的电阻值:量程放在“R ×1k”挡,用黑表笔接触T型正极电池卡弹簧片,红表笔接触Ⅰ型弹簧片,此时由于没有插耳机,电源开关断开,万用电表表针应不动;插上耳机之后,电源正负极引线端的电阻值约为10kΩ,否则要检查耳机插头座上三个焊片是否与线路板铜箔条之间脱焊,耳机插座上电源开关是否处于对应的断开或接通状态,线路板上铜箔条是否有短路的地方。若无上述故障,再将万用电表拨至“R×1”挡,测得电阻值为四五百欧姆,这时在耳机内能听到汽船叫声或电台节目声音,说明收音机焊接无误。注意用“R×1”挡测量电源输入端时表笔不能接反,否则表内电池反接到集成电路IC1上使其无法工作,或有可能造成器件损伤。最后用万用电表的电流挡(5mA)串接在用纽扣电池供电的回路中,测得收音机的总工作电流为2mA~3mA,说明收音机工作基本正常。本文所介绍的收音机调试点只有一个,即VT2的偏置电阻R4,其电阻值大小关系到收音机的音质及耗电情况,其电阻值过小,使VT2发射极电流增大,大大减少纽扣电池的使用时间;电阻值过大,又会使VT2的工作点偏低,造成输出信号截幅失真,在耳机中产生222啦沙哑的声音。通常在选用阻抗为32Ω的耳机时,R4为6.2kΩ,VT2发射极对地电压,也就是耳机两端电压约为0.07V,VT1集电极对地电压为0.7V。IC1的偏置电阻一般选用100kΩ,IC1的3脚对地电压约0.9V。
5.总装
在收音机外壳的底盖上,磁性天线横立着卡在底盖上四个销钉处,并用914等粘结剂胶粘牢。整个收音机线路板靠底盖上两个销钉固定住,然后将底盖翻过来,看到大圆孔中可变电容器动片的旋转轴,将调谐用的旋钮固定在轴上,试转动旋钮,可变电容器的动片随之旋进或旋出而无旷量。在底盖上有一个固定纽扣电池的小圆盒,在其盒边上有一高一低两个细小销钉,将线路板正极引线上的T型弹簧片上的小孔套在高一点的销钉上卡住,Ⅰ型弹簧片上小孔套在矮一点的销钉上。纽扣电池选用标称电压1.55V,能在较重负荷下放电的氧化银电池,如型号SR44(357),最大外形尺寸φ11.6mm×5.4mm,将纽扣电池凸面向下压入圆形电池盒内。在耳机插头插入插座后,电源接通,转动调谐旋钮,使收听到的本地电台节目信号最响。用上述的纽扣电池,每天收听3小时,可用15天以上。
三、语音电子门铃
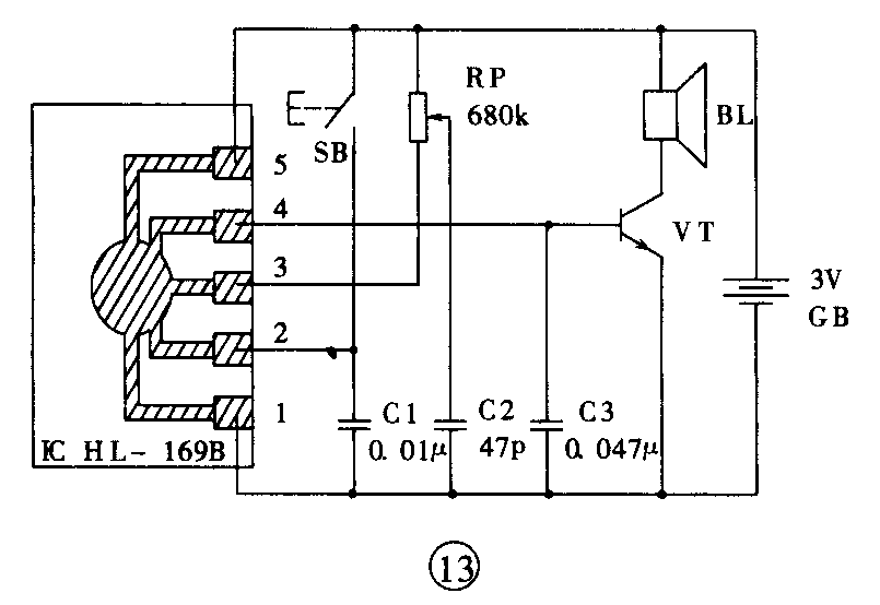
通常电子音乐门铃按下按钮后,能自动奏出一段电子音乐或发出“叮咚”声。本文所介绍的语音电子门铃除发出“叮咚”声之外,还能够说出清晰的“您好,请开门”的语音,这是由于门铃的集成电路内部储存语音信息,受到触发,就将这一简短语言播放。本文应用HL系列语音集成电路,其中A类(HL-169A)储存有某一种动物叫声,如鸡、猫、狗、猪、马、牛、狮子、猴、狼及恐龙等叫声。B类(HL-169B)储存有语音,如“您好,请开门”、“欢迎光临”、“请随手关门”、“您好,主人不在,请简短留言”,还有“请注意近视,快坐好”,甚至是英语等。该系列语音集成电路块尽管内部储存信息不同,但外围电路基本相同,如图13所示。如用作语音电子门铃时,IC1应选用与门铃用语有关的HL-169B。

1.工作原理
在图13中,语音集成电路IC的1、5脚,分别为IC电源输入端 V\(_{SS}\)及VDD,2脚为IC播放语音的触发端,当电铃按钮开关SB闭合后,加在2脚上的高电平触发IC放音。 C1为旁路电容器,防止SB引线过长受外界脉冲电波干扰而误触发。电位器RP是IC外接振荡电阻,接在IC的V\(_{DD}\)与振荡器引出端3脚之间,其动接点位置决定重放语音速度的快慢,即决定了语音音调的高低。C2为IC外接振荡回路的一部分,与RP配合,决定播放语音速度的快慢。4脚为IC语音信号的输出端,为获得一定音量,输出的信号输送到晶体三极管VT的基极,放大后的集电极电流直接驱动扬声器BL发声。C3为旁路电容器,以滤除语音中混杂的高频成分,使扬声器还原出的语音干净圆润。
2.元器件选择
IC采用软封装的有5个引出端的HL-169B,根据需要及爱好选用有关语音或动物叫声。IC的外形见图14,注意管脚是在IC正置时以左往右数。SB选用专用门铃常开按钮开关,C1、C2及C3可选用一般的CT1型或独石瓷介电容器。在对门铃音质要求不高时,C1和C3可省去不用,但C2对IC重放语音速度快慢影响较大,需要与振荡电阻RP配合,在图13中,当RP为680kΩ时,C2选用47pF;当RP为330kΩ时,C2选用91pF。有时C2不用,但RP要换上1MΩ的固定电阻器。VT选用硅NPN型小功率三极管,集电极最大允许电流I\(_{CM}\)在300mA以上,集电极、发射极之间的饱和压降VCE(sat)要小于0.5V的功率三极管,如8050、9013、3DX201B等,电流放大系数hFE大于150为好。扬声器BL选用标称尺寸50mm或58mm、额定功率0.25W、阻抗8Ω的小型圆形扬声器,如型号YD50-1、YD58-2等。电源采用两节五号电池供电。
3.制作
IC及外围电路的印制线路板的焊接面及元器件位置见图14。线路板需要自制,尺寸52mm×25mm,基板为厚0.8mm~1mm的单面敷铜板,绝缘底板最好选用透亮的环氧树脂板。由于线路简单,可以用刀刻法剥去敷铜板上多余的铜箔而留下预留部分。具体做法如下:先用坐标纸按照IC(HL-169B)实际尺寸及参照图14布线描绘好线路,再将线路用复写纸拓在敷铜面上,或直接将坐标纸贴在裁好的敷铜板上,最后用足刀及限位直尺沿线路板上栅条状预留部分四周刻划,直到敷铜箔透光为止,铲去铜箔栅条之间多余的部分,钻孔后,用细砂纸打亮即成。注意语音电路片下面的铜箔要撕去。如无条件用钻在线路板上打孔,元器件可直接焊在铜箔面相应的焊位上,否则元器件还要从背面插入后焊好。IC可以采取直立式与线路板上铜箔条对齐后直接焊在铜箔条上,或用铜丝从焊盘孔引出从背面焊接,注意IC管脚不要焊反。IC也可以采用卧式放置,用铜丝将管脚与铜箔条搭接后焊牢。

语音电子门铃线路板安装在门铃盒或微型成品音箱,若自制,盒的外形尺寸为100mm×65mm×25mm。印制线路板靠角上φ3mm圆孔固定在盒内塑料销柱上,元器件面朝上,用装在电池卡上的两节五号电池供电,盒内装配情况见图15。本机由于在不按钮的静态工作电流仅几微安,因此取消了电源开关。门铃按钮根据需要用长软线引出。按下门铃按钮后,电路总工作电流约100mA。电路需要调整的是可变电阻器RP,当其动接点向与IC引出端3脚相连的位置滑动时,语音重放速度变低,成深沉的男低音;反之动触点向VDD方向滑动时,速度变快,语音成尖厉的“鸟语”;只要仔细调整动接点位置,直至扬声器发出纯正的女声:“您好,请开门”,有趣的调试即告成功。(完)

编者附记:三级“少年电子技师”等级证书认定活动的有关情况及辅导参考资料详见本刊1997年第3~6期。 (孙心若)

