编者按:集成电路的种类之多,可以说是多不胜数。为了让初学者能由浅入深地逐渐掌握集成电路的用法,本刊特设“IC漫谈”小栏目。从本期开始,将陆续刊登常用数字、模拟集成电路的使用知识及其趣味应用,使初学者通过学习能举一反三,学着设计出自己构思的应用电路来。
门电路几乎是构成一切数字集成电路的基本电路,种类不多(只有三种),但其通用性极强,不仅可以构成任何数字逻辑电路,而且可以自成体系,设计出各种各样的应用电路。三种门电路是根据我们最常用的基本逻辑语言设计出来的,即众所周知的与、或、非电路。
1.与门 它在逻辑上表示两个或两个以上条件都同时能满足时才执行某种逻辑功能的逻辑电路。图1给出了与门电路的符号及其对应的等效电路,显然,只有当两个开关SA1和SA2都合上时,灯泡EL才会被点亮。

对应着与门电路图来说,就是只有当与门的两个输入端A和B都为高电位时,它的输出端C才会变为高电位。如果一个与门有三个或更多的输入端,则若要使其输出端为高电位,必须使这几个输入端都同时为高电位才行。
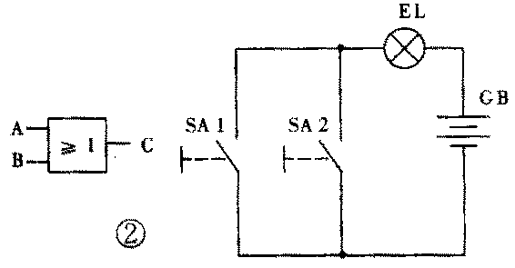
2.或门 或门在逻辑上表示只要几个条件中的任何一个条件成立,则或门就输出高电位。它的逻辑符号及等效电路如图2所示。从图2中你可以看到,只要两个开关SA1和SA2的任意一个开关合上,灯泡EL就会被点亮。对应着或门电路来说,就是当或门电路的输入端A和B中的任意一个为高电位时,其输出端C就会变为高电位。

3.非门 非门在逻辑上的含义是把原来的正向条件变成反向条件,即其具有否定——非的意思。用非门电路的逻辑语言来说,就是:如果非门的输入端为高电位,则其输出端将是低电位,若其输入端为低电位,则其输出端便为高电位。对应的图示方式见图3。

看着图3,我们立刻就会总结出它的逻辑功能:按下开关SA时,灯泡不亮;不按SA时灯泡反而能亮。
我们知道,“高入低出”或“低入高出”正好相当于一个反相放大器,所以这种非门电路也常被变通地用作反相器或小信号高增益放大器。好了,既然我们已经对门电路有了一个比较清楚的概念,下面就可以来看看用它设计的一些趣味电路的例子了。
表决机
表决机最能说明与门电路的工作原理,我们现在来设计两种表决机。
1.全数通过表决机
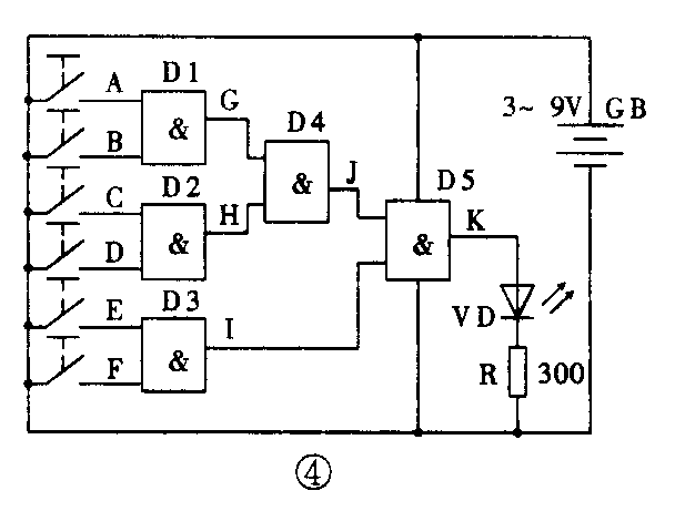
这就是说,要让大家通过表决来决定一件事要不要执行,而且只有大家全都通过时,表决结果才算有效。我们设计的电路图见图4。这个表决机是由5个双输入与门组成的(当然也可以由一个6输入端的与门电路来构成,但为了初学者能更多地理解与门的工作原理,我们宁愿使用多个简单的与门电路来实现一个较为复杂的电路)。A、B、C、D、E、F是6个输入端,代表6个参与表决的人,K是表决结果的输出端。我们设计的目的是:只有当6个输入端上都加上高电位时,输出端K才能变成高电位。为了证明这一点,我们可以反证一下:要想K端为高电位,与门D5的两个输入端I和J必须同时为高电位;而为了使J端为高电位,与门D4的两个输入端G和H也必须同时都是高电位;而为了使G和H为高电位,与门D1和D2各自的两个输入端A、B和C、D也得同时为高电位;同样道理,为了使I为高电位,与门D3的两个输入端E和F也得同时为高电位。其结果是什么呢?那就是:为了使输出端K为高电位,表决机的6个输入端A~F都必须同时为高电位才行,这正是我们设计的目的。

这个表决机的使用非常简单:6个表决者各把持一个开关,对所要表决的事件同意时就按下去,不同意的话就不按,如果全都按了,K端就输出高电位,于是指标灯VD也就亮了起来。
2.过半通过表决机
不用你说,我也知道你对上面那个表决机不太满意,因为它不符合实际应用。下面我们就来设计个“真的”,使之成为当多数人同意时便显示通过状态的表决机电路。请参看图5。这次我们用非门电路来设计所需要的功能。大家知道,非门电路的特点是,当输入端的电位为高电位时,其输出端便输出低电位,而当其输入端输入了低电位时,其输出端却输出高电位。那么输入端要高到什么程度才算是高电位呢?这正是数字电路的特点:它对输入电压并无严格要求,大体上只要超过了电源电压的一半以上,就可算作是高电位了。我们就利用它这个特点来设计这个“过半数有效”的表决机电路。

我们直接来考证一下,看图5的电路能不能达到我们预期的设计目的。图中共有10个人可参与表决,每人控制一个开关。现在假定任何一个人都没有按下开关,那么电源电压就通过电阻R11满压地加到非门D的输入端上,毫无疑问,这时非门肯定要输出低电位。假如有任何5个人同时按下了各自的开关,则因为有5个100k电阻并联通地,所以相当于有一个20k的电阻与R11分压,只把电源电压的一部分加到非门的输入端上。这部分电压有多高呢?简单一算就知道是0.526E,其中E是电源电压。也就是说,当有半数的人按下了开关时,加到非门输入端上的电压并没有下降到电源电压的一半以下,因此非门就仍将保持它原来的状态不变。也就是说,赞同的人数达到一半而没有超过一半时,表决机是没有输出的。
现在假定有6个人同时按下了各自的开关,看看会有什么样的结果。在这种情况下,有6个100k电阻并联到地,其总阻值是100k/6约 16.7k,它和R11的18k电阻对电源电压分压后加到非门输入端的电位有多高呢?计算的结果是0.46E。这个值小于电源电压的一半,所以非门的输出端将因此而变为高电位,与它相连接的发光二极管VD自然也就会亮起来了。这正符合我们设计的初衷。
电容测试仪
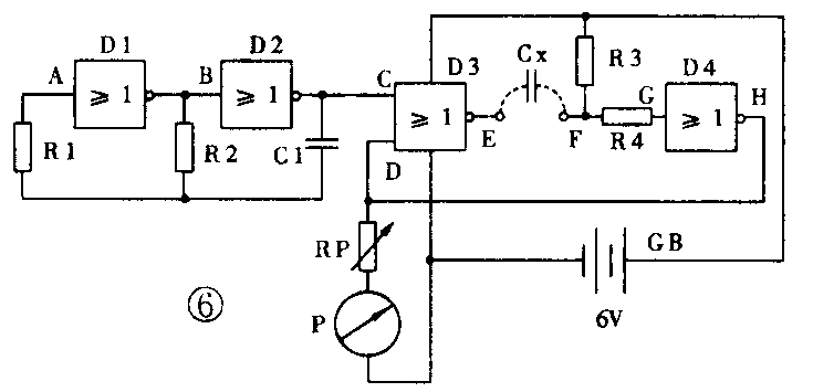
上面的两个例子中,我们使用了与门及非门,下面再举一个使用或门电路设计的应用电路的例子。不过我们得先说明一下,这里我们使用的不是纯粹的或门,而是把它和非门作在一起的组合电路——“或非门”,它的符号见图6。可以说它是两个(或多个)输入端的非门,任何一个输入端上有高电位时都会使其输出端变为低电位,仅当各个输入端都是低电位时,它的输出端才会是高电位。因此,当把或非门的几个输入端连接到一起时,它等效于一个真正的非门。这种灵活性常常能给设计上带来不少方便,在下面的设计中我们会看到这一点。

图6所示的电容测试仪电路中,发挥了或非门的灵活性,将其既当或非门使用,又当非门使用。D1、D2被连接成非门,构成了一种多谐振荡器,用来产生一定频率的脉冲。D3、D4分别用作或非门及非门,构成一个单稳电路。所构成的这两部分电路,合在一起就组成了我们设计的电容测试仪。
为了说明其原理,我们先来看看它的右半部分,即按有被测电容Cx的单稳电路部分。假定现在已经接上了Cx,由于R3与电池正极相连,所以由或门模拟的非门D4的输出端H必然是低电位,它的输出又连接到或门D3的一个输入端D上,因此,如果另一个输入端C上不是高电位,这个或门的输出端E便是高电位。从而Cx上的电荷量是0(因为它两端的电位相等)。
现在,我们使C点得到一个正脉冲,于是E点将立刻变为低电位。由于电容器两端的电压不能突变,所以F和G两点的电位都立即会下降到0V。与此同时,H点的电位也就变成了高电位。这个高电位又加到D点,使E点持续保持为低电位。此后,电源通过电阻R3对Cx充电,Cx上的电位便逐渐上升。当它升高到超过了或门的翻转点(1/2E)时,H和D两点的电位便变成0V,这个过程就不再继续。刚才所说的持续时间决定于Cx的大小,Cx越大,这个持续时间就越长,因此,如果能够测定这个时间,或者在这个时间里H端的电荷量,也就等于间接地测定了Cx的大小。为了能方便而可靠地测量H端的电荷量,我们应该有规律地不断给C点加入一个又一个的正脉冲,然后通过一个电位器RP和一个微安表PA来测定从H端输出的脉冲的平均值,再把这个平均值换算为电容量即可。不难想象,如果Cx越小,则这个平均值也就越小,电流表的指示也就越小,反之亦然。
我们当然不能用手动的方式去做这件事,因此才使用了一个脉冲振荡器,即C点以左的部分。限于篇幅,关于这种振荡器的工作原理就不在这里赘述了。需要说明的倒是如何调整和使用这个电容测试仪:
1.确定满度时的Cx值,即我们想要测试的最大容量是多少。比如是0.1μF。
2.按照公式 R3Cx=2.5R2C1初步确定R2、C1和R3的大小。设取用R3=10k,C1=0.01μF,Cx=0.1μF可以算出R2=40k,取规范值43k(不取更接近的39k是为了能读出稍高于0.1μF的正误差的被测电容Cx)。
3.调节电位器RP,使当Cx=0.1μF时表头满度。
4.改变R3和RP的值可以调整需要的量程范围。
门电路的应用电路多得不胜枚举,还可以用它设计出各种窗口电路、延时电路、讯响电路、控制和报警电路等等,愿笔者抛出的砖能引出您洁美的玉! (秋实)