本活动以直径8cm~15cm的地雷模型(可用纸或塑料制成)为探测目标,其外观见图1。假雷为空壳,真雷内分别装有磁铁(磁性雷)、金属(金属雷)或小发射机(电子雷)。参加者用自制的探雷器辨其真假,探出真雷多、实用时间少者优胜。

这项活动有4个特点:1.电路简单,因而造价低,这样,一般中、小学教师都能辅导和组织而且大多数学生也“玩”得起,适于大面积推广;2.场地要求低,所有的中、小学都有条件开展;3.探雷器稍加改动就是一件日常用品,如电子门铃、袖珍收音机;4.所有的收音机和测向机都能探电子雷,因而这项活动有一定的兼容性。
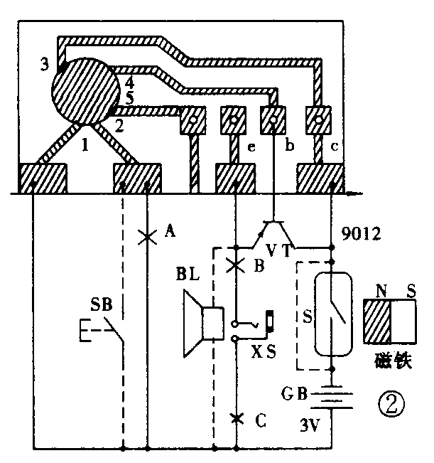
磁性雷探测器
电路见图2。用常开型干簧管S控制电源的通断。当它靠近真雷,被真雷顶部的磁铁吸合时,电路接通,音乐片通过3、4脚输出音响信号,经三极管放大,驱动耳塞机发声。音乐片可用KD-9300系列或KD-15系列,三极管VT可用β值大于100的9012型。该电路中若将A处断开并串入按钮SB,将干簧管去掉并两端连通,再断开B、C处,以扬声器代替耳塞机(如虚线所示),就成了一个电子门铃。要说明的是:作探雷器时,干簧管不可串接在A处,因为那样干簧管吸合一下,音乐片电路被触发一次,它所存储的曲目会全部读出一遍,占用较长时间,妨碍探雷器连续使用。如果出现自激(只有啸叫声),可在音乐片3脚与2脚之间并联一只1μF的电解电容。

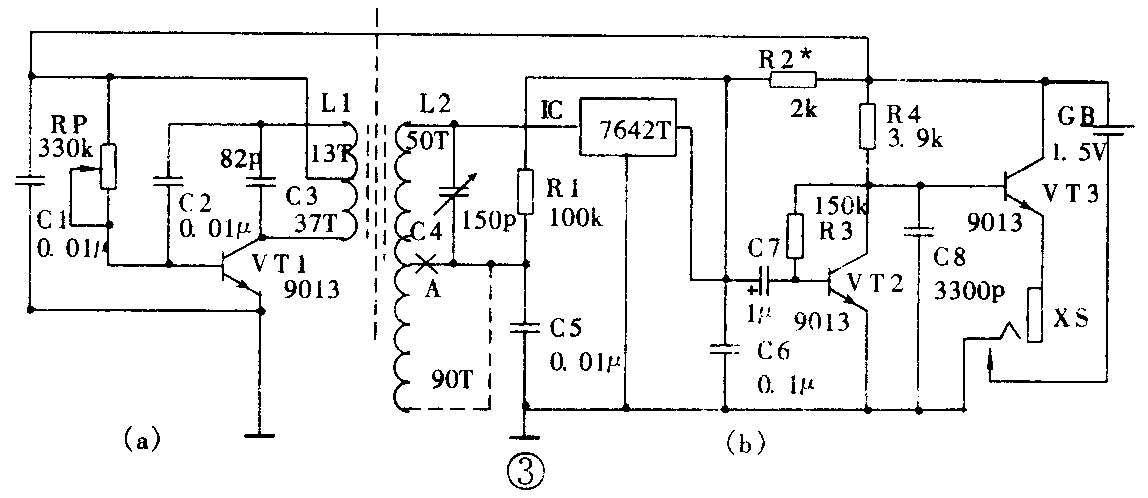
金属雷探测器
电路见图3,其中(a)部分是频率约1.8MHz的电感三点式振荡电路,(b)部分是同频的直放式接收机电路。(a)、(b)两部分在同一块印制板上。制作时先完成(b)部分。将A处断开,把L2尾头接虚线所示接上(实际上是先不接L2的抽头),这部分就是中波收音机。可利用广播信号进行调整,若声小,则减小R3或R4的数值,若啸叫或者音质欠佳则增大R3或R4的数值,也可适当改变C6的数值。调好后恢复A处连通(焊下L2的尾头,焊上抽头)。再制作(a)部分,接入VT1,若接收机耳机内静噪声加大或出现叫声,则说明振荡器已起振。再综合调整RP和C4,使接收机部分处于临界自激状态。方法是:先调整RP,使(a)部分发射强度适中,这时转动C4,在一定角度范围内耳机出现叫声。若转180°叫声不停,说明(a)部分发射太强,可增大RP;若转180°都无叫声,则减小RP。再细细调整 C4,停在叫声刚刚要有但还未有的位置。这时若探到真“雷”,电路板接近了金属,振荡器经过分布电容与接收回路耦合。如果接收回路的谐振频率与振荡频率相近,则接收回路可吸收一部分振荡回路能量,使振荡变弱甚至停振。由于VT1的工作点选得比较临界,停振后,VT1工作点升高,正反馈增强,又满足了振荡条件,振荡器又起振。一旦起振,VT1工作点又下降,振荡器又停振,周而复始就形成间歇振荡,这个信号被(b)部分接收,经放大通过耳机发声,这样真雷被探出。电路中的集成电路IC可用7642T,L1、L2分别用φ0.1mm的高强度漆包线直接绕在3mm × 8mm × 39mm的磁棒上,L1绕50圈,在13圈处抽头;L2绕140圈,在50圈处抽头,L1、L2应平行放在印制板上,距离为20mm左右。VT1、VT2、VT3用9013或9014型,但VT1的β值应为100~300。C4选3p~150p小型密封单连电容。此外,还应配用带开关的耳机插座。

电子雷
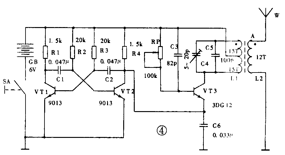
电子雷就是在真雷中装有小发射机电路,探雷者用测向机或收音机探测。发射机电路见图4,由VT1、VT2等组成一个自激多谐振荡器,产生约1000Hz的音频信号。再由VT3等组成电感三点式载频振荡器,频率选为1.8MHz左右。因VT3的发射极接到VT2的集电极,所以只有当VT2间歇导通时才能为VT3提供直流通路,因而实现了音频信号对载频的调制。C6是载频的旁路电容。L1、L2可绕在50mm长的一段中波磁棒上,用7股纱包线,L1绕在内层30圈,中心抽头,L2紧绕在L1外边12圈。装机时要注意它们的同名端。调整时,L2的“A”端接0.3m长的软拖线(可盘在地雷模型内),调RP,使整机电流为15mA~20mA。调C4可改变载波频率。为保证整机抗震动性能,RP最好用实心电位器。整个电路用4节5号电池供电。

由L1、C4、C5组成的振荡回路Q值较小,频带较宽,谐波成份繁多,又因探雷时探测器与发射机距离很小,只有十几厘米,所以各种测向机或收音机都可凭借“窜”进来的信号进行接收。其中接收主频的160m波段测向机效果最好,接收二倍频的80m波段测向机次之。
读者也可以制作专门的电子雷探测器,其电原理图见图3的(b)部分。这是一个以1.8MHz为中心频率的直放式接收机,其制作和调整方法如前所述。探雷活动结束后可同样改制成袖珍收音机。 (陈家庄)