字符式液晶显示模块是用于显示字母、符号和数字的专用点阵液晶显示模块。它一般由多个5×8点阵字符单元组成,每一个单元可显示一个字符或数字。而每一个单元显示的字符或数字可以通过MPU(微处理器)编程控制,比起字段式液晶显示模块更具有灵活性。本文将以16×1字符模块YXM1161为例,介绍字符式液晶显示模块的应用。
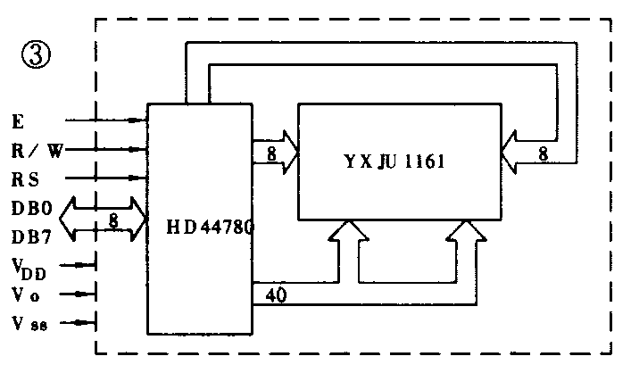
YXM1161型字符式液晶显示模块外形如图1所示,图2为一个5×7点阵字符加一行光标组成的字符单元示意图。YXM1161模块是由一块液晶显示驱动、控制电路HD44780和一块字符式点阵液晶显示屏YXJU1161组成,见图3。下面介绍模块的端口功能及其与MPU的接口关系。



一、引脚(端口)功能如表1所示。
表1 引脚功能
引脚号 符号 名称 功能
1 Vss 地 0V
2 VDD 电源 5V±5%
3 V0 液晶驱动电压
4 RS 寄存器选择 H数据寄存器、L指令寄存器
5 R/W 读/写 H读 L写
6 E 使能 下降沿触发
7~14 DB0~DB7 8位数据总线 数据传输
15 LED LED背光源(+) 5V(+)端
16 LED LED背光源(-) 5V(-)端
二、模块的主要特性
1.内含192种字符、数字点阵字符字模,并且可自定义 8个 5×8点阵的字符,显示一行 16个字符、数字。
2.可与4位或8位MPU相联。
3.单电源+ 5V供电,功耗低(小于10mW)。
4.指令简单、功能较强。
三、模块的接口关系
YXM1161显示一行16个字符,但实际采用的是两行 8个字符的驱动方式。其驱动占空比为 1/16,驱动偏压比1/5。

图4为YXM1161与单片机8031联接原理图。在8位数据总线传送方式下,当MPU置 RS=0/1、 R/W=1后,向模块E端发送一个正脉冲,在脉冲高电平期间,MPU可以从模块中读取数据。当写操作时,则是在正脉冲的下降治,MPU可以将数据写入模块。在4位数据总线传送方式下,当MPU置 RS=0/1、 R/W=1后,向模块E端连续发送两个正脉冲,在第一个脉冲高电平期间,MPU从模块中读取高4位数据;在第二个脉冲高电平期间,MPU从模块中读取低4位数据。在写操作时, MPU置RS=0/1、 R/W=0后,向模块 E端发送第一个脉冲时,MPU向模块写入高4位数据,在发送第二个脉冲时,MPU向模块写入低4位数据。其后由模块输入缓冲器将4位数据合成8位数据。其数据的写入与读取操作时序如表2所示。


模块的接口控制器有11条操作指令,如表3所示。由YXM1161模块硬件所确定的指令是功能设置指令,在8位数据总线传送方式下,其代码为:38H(00111000B);在4位数据总线传送方式下,其代码为:28H(00101000B)。其它指令一般可设为:1、清屏指令代码01H; 2、复位指令代码02H; 3、输入方式设置指令代码 07H(00000111B)或06H(00000110B);4、显示开关控制指令代码OCH(00001110B)。
模块的驱动控制器允许用户自定义8个5×8点阵字符。其字符代码取值为00H~07H或08H~0FH。以“元”字(见图2)为例建立的字符模,如表4所示。字符代码自定义为00H。 (贺松芳)
