3.电感器
电感器也是一种储能元件,它能把电能转变为磁场能,并在磁场中储存能量。它的一些特性恰恰与电容的特性相反,具有阻止交流电通过而易通直流电的特性。电感器用符号L表示。它的电路符号如图7所示。

电感器的种类也很多,如固定电感器、阻流圈、收音机上各种电感线圈等。它们几乎都是用漆包线绕成的空心线圈或在骨架、磁芯、铁芯上绕制而成的。标准的电感器用途并不广泛,它们的外形如图8所示。

电感器的电感量单位是亨利,简称亨,用符号H表示。较小的单位有毫亨mH和微亨μH,它们之间的换算关系是:
1H=1000mH=1000000μH
电感器的另一个参数是最大直流工作电流。国产LG小型固定电感器用字母来表示它的工作电流。A表示50mA;B表示150mA;C表示300mA;D表示700mA;E表示1600mA。
虽然标准的固定电感器应用并不多,但是各种其它电感性的元件在电子电器中都有应用。图9是收音机中都有的天线线圈实物图和电路符号。这也可以认为是一种电感器,它是用漆包线在磁棒上绕制而成的。图10是变压器的实物图和电路符号。变压器的种类也很多。电源变压器是最常见的,几乎所有使用220V交流电的电子设备中都有。它的作用是变换交流电压,把220V交流电压变为设备所需要的电压。音频变压器常用在收音机和扩音机中,其作用是传输音频信号,隔断初次级直流联系以及保证阻抗匹配,以获得最大限度的传送信号功率。此外在收音机中还有中频变压器、高频变压器等等。


三、常用电子器件
1.半导体二极管
(周海)半导体二极管又叫晶体二极管,简称二极管。常见的几种二极管如图1所示。其中有玻璃封装的、塑料封装的和金属封装的等几种。图2是二极管的电路符号。箭头左边是二极管的正极,右边是负极。二极管的极性应标示在二极管的封装上。有的二极管用一黑色色环表示二极管的负极端。金属封装的二极管通常是大功率二极管,以便固定在散热器上。它们的极性有两种可能,使用中应加以区别。


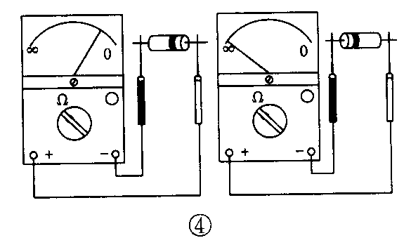
二极管最明显的性质就是它的单向导电特性,如图3所示。如果电路中二极管是正向连接,则小灯泡亮;如果二极管为反向连接,则小灯泡不亮,说明电路中的电流不能流动。由于二极管是一种有极性的器件,所以在使用中应该注意按图连接。判断和检查一只二极管可以用图3所示的方法,但是这种方法不能用来检查一只小功率二极管等,因为过大的电流会损坏二极管。这时我们可以用一只万用电表,用图4所示的方法来判断和检查二极管。使用这个方法时,先将万用电表的开关置于“Ω”挡的“R×100”位置上。红表笔接二极管的负极,黑表笔接二极管的正极时,电阻值越小越好;然后将黑表笔接二极管负极,红表笔接二极管正极,这时万用电表指示的电阻值越大越好。


利用二极管单向导电的特性,可用二极管来作检波器,把高频信号中的有用信号“检出来”;我们还常用二极管作整流器,将交流电流变为直流电流,这些广泛应用在收录机和电视机中。由于用途不同,二极管的型号也不一样。使用时应先查一下有关手册。
此外还有许多种类的二极管,如稳压二极管、开关二极管、变容二极管及光电二极管等。我们最常见的是发光二极管。发光二极管与普通二极管一样都是一种半导体二极管,只是由于使用的半导体材料不一样,它们之间的差异也较大。发光二极管有红色、绿色和黄色等。它们的外形也有很多种,图5是常见的发光二极管和它的符号。通常这类器件都用来作电路的指示灯用,它比小灯泡的耗电低得多,而且寿命也长得多。

使用发光二极管最重要的是辨别它的正负极和控制它的工作电流的大小。用图6所示的方法来判断和检查一只发光二极管的极性和好坏。也可以用眼睛来判断发光二极管的极性,如图5所示。只要你仔细观察发光二极管的内部电极形状,你会看到两个电极一大一小。一般来说,电极较小的一个是发光二极管的正极,电极较大的一个是发光二极管的负极。另外圆形发光二极管的外形也有正负极之分。发光二极管的工作电流依它们的型号有所不同,但一般都为1mA~30mA,所以在使用中一定要加限流电阻,如图6所示。不能将发光二极管直接接到电源两端,这样有可能会损坏发光二极管。另外由于发光二极管的导通电压一般为1.8V~2V,所以一节l.5V的电池不能点亮发光二极管。

2.半导体三极管
半导体三极管也叫晶体三极管,简称三极管。这是一种在电子电路中最重要的器件。它的种类很多,不同用途有不同型号的三极管,不同场合又有不同类型的三极管。图7是一些常见三极管的外观图。三极管目前大都是塑料封装或金属封装。图8是两类不同类型三极管的符号:一种是NPN型三极管,另一种是PNP型三极管。顾名思义,三极管有三个电极:发射极、基极、集电极,分别用字母e、b、c来表示。发射极e有一个箭头,箭头所指的方向是电流的方向,因此可以看出NPN型三极管与PNP型三极管的工作电压和电流正好相反,在使用中要注意。


三极管基极与发射极,基极与集电极之间的特性类似于二极管。因此可以用万用电表电阻挡来区分NPN型与PNP型三极管。用万用电表的红表笔接在某一只管脚上,黑表笔分别接到另外两只管脚上,管脚之间轮流调换,若其中测得二者的阻值都很小,则此管就是PNP型。红表笔所接管脚即为基极。若不能测得这种结果,则用黑表笔与红表笔调换,如上所述,再次测试。若得到上述结果,则三极管为NPN型。
三极管最基本的作用是放大作用。它可以把微弱的电信号转换成一定强度的电信号,这就是我们说的放大作用。三极管有一个重要参数就是三极管在共发射极条件下短路电流放大系数hfe,也就是通称的电流放大系数β。当在三极管的基极上加一个微小的电流Ib时,在这只三极管的集电极上就可以得到一个是Ibβ倍的Ic,这就是集电极电流。较大的集电极电流随较小的基极电流而变化,这就是三极管放大作用的实质。
三极管还可以作电子开关。我们按图9所示连接一个电路。当三极管基极的电阻Rb悬空时,小灯泡EL不亮;当给基极电阻冲上一个正电压时,灯泡亮。这样三极管就在电池与灯泡回路中起到了一个开关作用。

三极管配合其它元件还可以构成各种各样的振荡器,它也是利用了三极管的放大作用和开关作用。
3.音乐集成电路
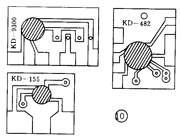
随着电子技术的迅速发展,集成电路已得到广泛应用。为了给同学们一个感性认识,我们在这里介绍一下CMOS音乐集成电路。通常我们把这种集成电路叫作音乐片、语言片或IC音乐片。图10是几种常见的IC音乐片的封装形式。这些音乐片都是将集成电路芯片直接封装在一小块电路板上。有的电路还需要少量外围电阻器和电容器,可直接焊到这块电路板上。

虽然音乐片很小,但是它也是一种含有成千上万个晶体管芯的CMOS集成电路。它的内部有振荡器、节拍器、音色发生器、只读存储器、地址计算器和控制输出电路等。音乐片内可存储一首世界名曲,也可存储几段或十几段音乐,还可模拟各种动物的叫声,模拟人的简短语言等等。
随着技术的进步,大规模语言片的价格越来越低,应用也越来越多。如报时钟表内就有可以合成语言的集成电路。此外会说话的计算器,会说话的万用电表,都是使用了这种技术。除了这些电路外,现在还有许多可录放的语言电路,如会学说话的鹦鹉电路等。
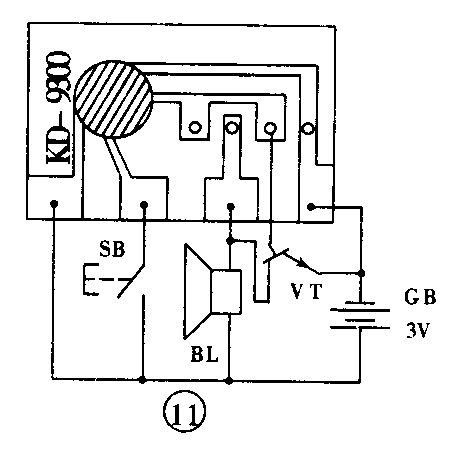
电子音乐门铃是我们最常见的了。它的电路如图11所示。其中SB是按钮开关,每按一下开关,音乐片会自动奏一首曲子,然后停止。VT是一只小功率NPN型硅三极管,由于音乐片的输出能力很小,所以要用三极管将信号进行放大,来驱动小扬声器发声。

图12是音乐贺年卡中的电路。它把开关SA接在了电源上,只要打开贺年卡,开关接通,音乐片奏乐。合上贺年卡,电路断开,音乐片即停止工作。发声元件使用的是压电蜂鸣器,虽然压电峰鸣器的声音较小,但是它体积小,用电也省,装在贺年卡里正合适。贺年卡中的电池一般使用钮扣电池。

图10中的KD-155是一种口哨声控音乐片。它利用压电蜂鸣器作授音兼放音器。当收到特定音频的口哨声时即刻发出一阵清脆的雀叫声。
音乐片的价格信宜,使它在电子玩具及报警等方面得到应用。大部分电路都是在音乐片的触发上进行改进和创新。如用光控、磁控、温控、触摸、敲击等等不同方式的电路来触发音乐片。此外还可以利用它来作延时控制电路等。这里就不一一介绍了。
最后提醒大家一下:音乐片的工作电压为1.3V~5V,典型的工作电压为3V,不可使用过高的电源电压,以免损坏音乐片。
四、无线电波的发射与接收
1.无线电波的发射
(1)无线电波
无线电波是一种在空间传播的电磁波,电磁波是在空间传播的交变电磁场,它是一种高速运动着的物质。无线电波在单位时间内振荡的次数叫频率,用符号f表示,单位为赫兹(简称赫),用Hz表示。1赫兹相当于每秒钟振荡1次。在无线电技术中,常常需要使用较大的单位,如千赫(kHz)、兆赫(MHz)、吉赫(GHz)。它们之间的换算关系是:1kHz=1000Hz,1MHz=1000kHz=1000000Hz,1GHz=1000MHz。电磁波按频率高低排列成电磁波谱,依次为γ射线、X射线、紫外线、可见光、红外线和无线电波。所以,无线电波是电磁波谱中频率较低的部分。习惯上把用天线发射和接收的无线电波称为电磁波,而把红外线、可见光等电磁波统称为“光波”。电磁波在真空中的传播速度约为c=3×10\(^{8}\)m/s(30万千米/秒)。频率的倒数称为周期。周期是电磁波振荡一次所需的时间,单位为秒(s),用符号T表示。电磁波在一个振荡周期内传播的距离叫波长,用希腊字母λ表示,单位是米(m)。根据无线电波的频率f及传播速度c,就可以计算出波长λ,即λ=c/f。无线电波按波长的不同,可划分为超长波、长波、中波、短波、超短波(米波)和微波(包括分米波、厘米波、毫米波)等波段;按频率的不同,可划分为甚低频、低频、中频、高频、甚高频、特高频、超高频和极高频等频段。例如,中央人民广播电台第一套节目的频率为639kHz,相应的波长为469m,属于中波波段(即100m~1000m波段);中央电视台第一套节目(2频道)频率范围为56.5MHz~64.5MHz,属于超短波波段(即1m~10m波段)。我国中波广播波段的频率范围为550kHz~1600kHz,波长为188m~545m。短波广播的频率范围为4MHz~22MHz,波长为14m~75m。调频广播的频率范围为88MHz~108MHz。

根据现代物理学的观点,电磁波是一种物质。无线电波的传播方式与自身的频率、传播媒质(地球、大气等)有关,它有四种主要传播方式,即地波、天波、空间波和散射波。对于长波和中波广播,主要靠地波传播——无线电波在两点之间沿地面传播的方式。这是因为波长越长,无线电波沿地球曲面及绕过地面障碍物的能力也越强,传播损耗也越小。地波传播示意图见图1(a)。短波广播若利用地波传播,由于波长较短,在传播过程中能量会被大地不断吸收,一般只能传播几十千米,它实际上是靠天波传播的。天波就是经过天空中电离层的反射或折射后返回地面的无线电波,如图1(b)所示。电离层就是距地面40km~80km上空高度电离了的大气层。由于大气层中的中性气体分子和原子,受到太阳辐射出的紫外线和X射线的作用被电离,产生大量的自由电子、正离子、负离子。电离层总厚度约30km,中间还分为很多小层,随着季节和昼夜的不同而略有变化。电离层能改变无线电波的传播速度,对电波发生折射、反射和散射。短波无线电波就是靠电离层反射进行传播的。电离层如同一面镜子,无线电波被它反射回地面后,地面又把它反射到电离层,然后再被反射回地面。经过多次反复反射,无线电波便可传播得很远很远。这种传播方式的优点是能以较小的功率实现远距离乃至环球广播。天波传播的缺点是由于电高层受昼夜、季节及太阳活动周期的影响,会使反射到地面的天波时强时弱,短波收音机就会出现声音忽大忽小的“衰落现象”。超短波无线电波主要靠空间波传播,由于空间传播距离一般限于视距范围,因此又叫视距传播,传播距离仅为几十千米到100千米。空间波传播如图1(c)所示。由于这种传播方式信号传播稳定,常用于高质量的电视及调频广播。
(2)高频振荡器
电磁波有个特性,就是它的频率越高,辐射能力越强。只有频率在几十千赫以上的高频电流,它所转换成的无线电波辐射作用才足够强。在无线电发送装置中,用来传送音频和视频信号的高频电波称为“载波”。产生高频载波的电路叫高频振荡器。高频振荡器把直流电能转换成高频交流电能,高频电流被传输到无线电发射机的发射天线,变换成向空间辐射的无线电波。高频振荡器的主要类型有LC振荡器和晶体振荡器。LC振荡器是由电感线圈L和电容器C组成的振荡回路及晶体管(或电子管)组成的放大电路构成的。晶体振荡器是采用石英晶体谐振器代替LC振荡回路构成的高频振荡器。
(3)调制器
人的耳朵能听见的振动频率范围为20Hz~20000Hz,在这种频率范围内的交变电流被称为音频电流。由于音频电流频率低,若通过天线辐射到空中,需要长达几十千米的发射天线,而且发射效率也只有百万分之几,显然无法用作广播信息传送。如前所述,高频电流能够有效地通过天线辐射产生无线电波。能不能利用容易辐射的高频电波来“载驮”所要传递的音频信号呢?只要能使高频无线电波的振幅或频率随所要传递的音频信号而变化,就可以利用这种方式进行信息传递。调制就是使信息载体的某些特性(如振幅或频率)随信息而变化的过程。能够完成调制作用的电路叫做调制器。在调制器中,用于传送信息的载体(即高频等幅电流)叫做载波或受调信号。如中央人民广播电台第一套节目频率为639kHz,指的就是该无线电波的载波频率,也就是未调制的等幅高频振荡电流(受调信号)的频率。所要传送信息的信号叫做调制信号,即上述广播电台语音、音乐等信号。调制后的信号叫做已调信号,它载有调制信号所包含的信息。载波、调制信号、已调信号波形及相互关系见图2。综上所述,调制器的作用就是用调制信号去控制载波,使载波的某些参数随调制信号而变化。调制方式按调制信号不同可分为模拟调制和数字调制两类,前者调制信号为连续变化的模拟量,后者为数据或数字信号。若载波为正弦振荡等幅波,则可分为幅度调制、频率调制和相位调制三种不同的调制方法。调幅(AM)是正弦波幅度调制的简称,即正弦载波幅度随调制信号而变化的调制方法。实现调幅的装置叫调幅器,载波经调幅后成为调幅波,见图2(c)。调幅广泛应用于长、中、短波广播,小型无线电话等。正弦载波的瞬时频率随调制信号的瞬时值而变化的调制,叫做正弦波频率调制,简称调频(FM)。调频波见图2(d)。用调频波传送信号可以减弱干扰的影响而提高传送质量,用于调频广播、电视伴音发送等要求较高的设备中(需要注意的是电视图像是调幅波发送的)。正弦波相位调制是正弦载波的瞬时相位随调制信号而变化的调制,简称为调相(PM)。数字调相主要用于数据传输和数字通信。

(4)无线电通话机电原理框图
在图3框图中,由高频振荡器产生载波,低频放大器放大由话筒输入微弱的育频信号,载波与放大后的音频信号同时被送到调制器,调制后的信号再经高频放大器放大后,传输到发射天线,通过天线向空中辐射出无线电波。

2.无线电波的接收
(1)无线电波接收机
无线电波接收机的功能与无线电波发射机相反,接收天线接收下来的空中无线电波产生的高频电流,通过接收机选择出所需要某一频率的电台信号,在接收机中还原出无线电波所传递的信息。最常见的无线电波接收机有无线电视、收音机等。收音机是一种接收无线电广播的装置。收音机的种类很多,按所用电子器件分类有晶体管收音机、集成电路收音机等;按接收无线电波特点可分为中波调幅收音机,短波调幅收音机,调幅、调频两用收音机等;按电路特点分类的有直放式收音机、超外差式收音机等。
(2)调谐电路
收音机的调谐电路一般是由电感器和电容器并联组成的LC谐振回路。调整电容器或电感器,会使调谐电路的固有振荡频率发生变化,若LC谐振回路的固有振荡频率恰好与天线接收下来的某一电台的载波频率相等时,就会发生并联谐振,使这一频率的载波谐振电流振幅最大,从而选择出这一电台的信号。在收音机中,调谐电路由绕在天线磁棒上的电感线圈L和可变电容器C并联而成。旋出可变电容器动片,其电容量减小,接收电台频率增高;旋入时,可接收低端电台频率。若自制的收音机中,可变电容器全部旋入或旋出时,部分低端或高端的电台仍接收不到,可以适当将线圈往天线磁棒中间或两端位置移动,或增减调谐线圈匝数,直到能覆盖所接收波段的频率范围。若调谐回路中有微调电容器,改变它的电容量大小对高端电台位置影响较大。
(3)检波器
检波与调制的过程相反,它是从携带信息的已调信号中恢复信息的过程,故又称为解调。解调是调制的逆过程,它的任务就是去掉载波取出原调制信号。在无线电接收机中,实现检波作用的电路叫做检波器。由于调制方式不同,解调方法也不同。从已调幅的高频信号中还原出原来的调制信号,是一种幅度解调器,这就是通称的检波器。用于调频信号的解调器,如斜率鉴频器、比例鉴频器等,从广义上来说,也可以称为检波器。检波器必须使用非线性器件,如利用具有单向导电特性的二极管,或非线性放大器等。
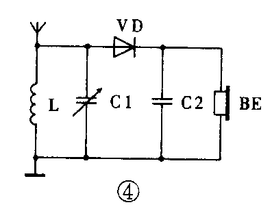
图4是一个最简单的收音机电路。由谐振线圈L与可变电容器C1组成选择电台的调谐回路,谐振后的高频电流经过检波二极管VD检波后,利用旁路电容器C2的充放电作用,滤去残存的载波电流,检出的音频信号通过耳机BE而发声。由于该收音机电路没有放大作用,为多接收无线电波的能量,应架设较长室外天线及与大地接触良好的地线,同时检波二极管要选用高频小信号能正常工作的锗材料点接触型结构的二极管,如2AP或2AK系列锗管。耳机也要采用高阻抗、高灵敏度的耳机。

(4)最简单收音机电原理框图见下页图1。(孙心若)
五、焊接装配基本技能
1.识图

(孙心若)在焊接电子装置之前,必须熟悉所焊接电路的方框图、电原理图及印制线路板图。通过方框图,可以了解电路整体是由几部分组成的,各组成部分的功能和相互之间的关系。如图1所示的最简单收音机的方框图中,可以看出它是由三大部分组成,它们分别完成调谐、检波、功放的功能,方框图之间的箭头表示电信号的流向顺序。焊接时,通常按逆流程方向从末级往前一级焊接。如先从低频放大器焊起,焊完这一级,接上扬声器和电源,就可以检查低频放大级工作是否正常。电原理图是由各种电路符号组成的电路图,它表明构成电路的各种元器件的规格、相互之间连接情况及作用,有助于帮助焊接者了解电路原理、备料及检测,是实施焊接的依据。印制线路板图表明电路中各元器件在线路板上确切的位置及互联的情况,是实施焊接的工艺图。在单面印制线路板上,覆铜箔的一面为焊接面,元器件从另一面插入,有时元器件面上用漆印刷有电路符号或标志,更容易准确无误确定元器件的位置。注意学会区分双面板的焊接面。
2.焊接技术
焊接是电子爱好者对锡焊工艺的称呼,主要是用熔化的焊锡把金属连接起来。焊接技术虽然并不高深复杂,但电子爱好者用手工焊接却需要掌握一定的工艺和技巧,否则会使焊接的电子装置无法正常可靠地工作,甚至造成元器件、印制线路板的损坏。
电烙铁是电子装置焊接的基本工具。它由烙铁头、烙铁芯(发热体)、外壳、手柄及引线等构成。常见的电烙铁有内热式和外热式两种结构,分别见图2及图3。两者区别就在于发热体——用镍铬电阻丝绕制的烙铁芯安装的位置。内热式电烙铁的烙铁芯安装在烙铁头内,因而热效率高(85%~90%),发热快,体积小,重量轻,对交流电感应的屏蔽作用较好。但是,内热式电烙铁发热体的镍铬丝和绝缘瓷管都比较细,因而机械强度较外热式差,不耐冲击,在使用时不要随意敲击、铲撬,更不能用钳子夹发热管子,以免发生意外。内热式电烙铁特别适用于印制线路板的焊接,一般选用20W(标有220V20W)或35W。35W或50W能焊稍大一些的元器件等。初学者宜采用如图2所示带斜面的烙铁头。外热式烙铁规格较多,有25W、45W、75W及300W等。焊接印制线路板可选用25W~45W。


焊料是焊接时用来填充金属结合处的材料。通常的焊料是焊锡——一种熔点较低的锡、镉等合金。焊接印制线路板,特别是含有晶体管、集成电路的线路板,常采用芯内储存有松香焊剂的低熔点焊锡丝,含锡约60%,外径有φ0.8mm~φ2.5mm系列规格。由于焊锡中含有铅、镉等对人体有害的金属,焊接操作时尽可能不要污染人体及环境。
焊剂又叫焊药、助焊剂,它能清除被焊接金属表面的杂质,防止氧化,增加焊锡的浸润作用。印制线路板不要采用酸性焊剂,最方便的就是焊料、焊剂合一的松香焊锡丝。也可以用松香块助焊,但不宜在同一块松香上长期用电烙铁头烫焊,造成松香碳化变黑或带进氧化物等杂质,使焊点不光洁、周围结有污垢等。还可以用松香酒精溶液作为助焊剂。配制方法是用淡黄色优质松香与无水(或灯用)酒精按重量1:3配制。使用时用毛笔蘸取松香酒精溶液少许涂在焊接面上。焊剂使用量要适宜,过少起不到助焊作用,过多会使焊点产生针孔、污垢,甚至过多焊剂流入半封闭的元器件内部,造成接触不良或绝缘性能变差。
电烙铁架如图4、5所示。图5是最常用的一种形式,由放置电烙铁的铁皮支架和盛松香焊剂的小盒等组成。当电烙铁放置在铁皮支架平台面上时,平面上的多余焊锡可以经常保持烙铁头上镀有一层焊锡,以养护烙铁头并帮助烙铁头散热,防止电烙铁头过热氧化而“烧死”。焊接前,先将电烙铁放在铁皮支架顶端凹槽处,以积聚足够热量时再焊。


使用电烙铁的注意事项是:使用电烙铁应注意安全,避免发生触电、烫人或烫物,特别要避免焊剂爆沸或元器件引线反弹时将焊锡渣溅入眼中。新买的电烙铁安装电源引线时,首先要区分接线往哪一对应接电源线,哪一个是与电烙铁外壳相连的保护地线接线柱。由于接电源线的两个接线柱内部与烙铁芯电阻丝相连,可以通过测量电阻的方法判定这两个接线柱。电阻值的大小可以根据电烙铁的额定工作电压(220V)及功率算出。例如20W内热式电烙铁电阻约为2.4kΩ,35W的电烙铁电阻约为1.4kΩ。有的内热式电烙铁外壳接线用短线头引出,注意不要与电源线相连。电烙铁外壳与大地良好接通,可以避免电烙铁芯漏电或接线柱火线头与地线头相碰时的触电危险,此外,在焊接高输入阻抗的场效应管、集成电路时避免感应交流电造成的器件损坏。电烙铁要经常检查插销头上电源头与电烙铁外壳之间的绝缘电阻,在用“R×10kΩ”万用电表挡测量时,指针应不动,热态电阻不能小于0.5MΩ。电烙铁第一次使用,待温度逐渐上升时,在烙铁头端部位烫上松香,接着再镀上一层焊锡,以增加焊接金属面时导热性及防止氧化变黑“烧死”而蘸不上焊锡。烙铁头氧化后,要及时锉去氧化物,并重新镀锡。电烙铁使用一段时间后,要取出烙铁头,清除氧化层。内热式电烙铁更换烙铁头时,先将弹簧夹(环)向手柄方向退下,再用小改锥轻轻撬松铜头取下。长时间不清理氧化物,烙铁头就会被氧化物固定住,增加热阻,使烙铁芯热量不能有效传出,发生过热而减少使用寿命。内热式电烙铁不要使用酸性焊剂,以免腐蚀烙铁头及发热芯。
掌握手工焊接技巧,可以借鉴无线电厂焊接技术工人所归纳的“一刮、二镀、三测、四焊、五查”十个字。
“刮”是将焊接物表面清洁处理,刮去焊接面氧化层直到露出新的表面。所焊元器件引线或导线头端,根据需要弯曲成一定形状后,还要预留5mm左右刮亮。“刮”可用足刀、废钢锯条等,也可以用砂纸打磨代替刮。自制的印制线路板焊接前,需要用细砂纸或水砂纸仔细将覆铜箔面打亮。“刮”是焊接质量的关键步骤,却常常被电子爱好者所忽视,刮不到位,就镀不好锡,也不好焊接。需要说明的是,有些元器件引线已经镀银、金或搪锡,只要没有氧化、没有污垢,就不必去刮它,有些镀金的晶体管管腿,刮去镀层反倒很难镀上一层焊锡。
“镀”是对所焊元器件、导线、印制线路板有关部位在刮亮后,立即涂上焊剂,并用电烙铁头镀上一层焊锡。镀的焊锡层要求又薄又均匀,光亮而无疙疙瘩瘩。手持电烙铁一般采用握笔式,见图6。怕烫的元器件,如二极管、晶体管等,要用镊子或尖嘴钳夹住引线根部帮助散热,再进行镀锡处理。印制线路板只在待焊的部位——焊盘上镀锡,焊盘上的孔不要被焊锡堵住,为此,烙铁头上焊锡量要少,或将线路板竖起,在焊剂作用下加强焊锡流动性,多余焊锡就会从焊盘孔中沿烙铁头流下。必要时用注射器针头等捅通。

“测”是对搪好锡的元器件等进行测试。先目测外观上有无烫损、变形、联焊等。对于二极管、晶体管等,要用仪表测试其是否完好如初,若性能受损,要进行更换,切不要让不合格元器件上板,以免造成隐患或拆卸麻烦。
“焊”是按焊接要求、顺序,把规定的元器件等在指定的位置上焊好。焊接时要掌握好电烙铁的温度与焊接时间,温度过低,时间过短,焊出来的锡面带尾巴,不光滑,甚至是豆腐渣样,有可能由于焊剂没有全部蒸发完,在焊锡与金属之间存留有一层焊剂,冷却后靠焊剂(松香)把焊锡与金属面粘住,稍一用力就能拉开,这就是假焊。反之,电烙铁温度过高,焊接时间过长,造成焊接面氧化,焊锡流散开,使焊接点吃锡量不足,仅有很少焊锡把元器件引线与金属面相联,之间有较大的电阻,一拉就断开,这就是虚焊,严重时造成印制线路板覆铜箔条卷曲脱落,元器件过热损坏等。电烙铁温度是否适宜,可以凭借经验根据烙铁头化锡时间长短及头上附着焊锡量多少来判定。焊接时间长短应保证焊点圆滑光亮,一般为2~3秒,稍大焊点也不要超过5秒。焊晶体管等易损器件,仍同镀锡时一样,用镊子、尖嘴钳等帮助散热,见图7。此外,焊锡用量要适宜,切忌用一大团焊锡将焊点糊住,应从焊点上锡面能隐隐约约分辨出引线轮廓,这就是最佳用锡量,见图8。在手持电烙铁焊接时,不要用烙铁头来回摩擦焊接面或用力接触,实际上只要加大烙铁头斜面镀锡部分与焊接面的接触面,就能有效地把热量由烙铁头导入焊点部分。通常在焊点预热1秒后,再将松香焊锡丝头端与焊点接触,待焊锡完全熔化,由于金属液面张力形成光亮圆点后,迅速将烙铁旋转45°,并沿斜上方移开,就会得到合格的焊点。注意移开电烙铁后,待焊点上焊锡完全凝固后(4~6秒),再松开固定元器件的镊子或手,否则有可能造成焊接件引线脱出,焊点表面呈豆腐渣样。焊接后,发现焊点拉出尾巴,用电烙铁头在松香上蘸一下.再补焊即可消除。若出现渣滓棱角,说明焊接时间过长,需清除杂物重新焊接。印制线路板上的元器件应悬空后焊接,元器件体应距线路板面2mm~4mm空隙,不要紧贴在板面上,三极管还要高一些。较大的元器件,插入线路板孔后,引线可沿电路铜箔条方向弯曲90°,留2mm长度压平后焊接,以增大牢固度,如图9所示。焊接集成电路块等高输入阻抗的器件,如无法保证电烙铁外壳可靠与大地相连,可以采用拔下电烙铁插销头利用余热焊接。在焊接印制线路板时,也可采取先插电阻器,逐点焊接后,统一用桃形钳(偏口钳)或斜口钳剪去多余长度引线,然后再焊电容器等体积较大元器件,最后焊不耐热的易损的三极管、集成电路等。



“查”是对焊好的线路板等进行一次检查,焊点不应有假焊、虚焊及断路、短路,特别是二极管、三极管等有极性元器件管脚是否焊接正确。
在电子制作中,除电烙铁外,还需要一些常用的工具,如镊子、改锥(一字型和十字型)、钳子(尖嘴钳、桃形钳、平口钳、钢丝钳)、什锦锉、钢锯、手摇钻和台钳等。有条件可准备一把吸锡器,用于拆卸印制线路板上的元器件等。