编者按:为了向广大青少年读者普及电子基础知识,从本期开始,我们陆续刊出三级“少年电子技师”认定考核所必需的基础理论知识和基础技能要求,作为初中以下文化水平的青少年读者学习和辅导教师的参考资料。
一、电工基础知识
1.电路和电路图
由电源、用电器以及导线、开关等元件组成的电流路径叫做电路。图1是手电筒的电路。在这个电路中,干电池GB是电源,金属外壳代替导线,小灯泡EL是用电器,按钮SA是开关。当按下开关时,它们形成了一个闭合电路,小灯泡就亮了。

图2是室内照明电路。

为了方便,电路常用简单的图来表示,如图1(b)和图2(b)所示。这种用国家统一规定的符号来代表电路中的各种元器件,画出电路连接情况的图叫电路图。
图3画出了简单电路中用的一些符号。

在画图时一定要画准确,如电池中的正、负极应该用长短不同的线加以区别;表示电池组的虚线不能少;交叉相连接的导线中“点”号不能少等。
电路所处的状态可分为三种:通路、断路和短路。从电路的连接形式上可分为串联电路和并联电路。
通路:电路里有电流通过,电路处在处处连通的状态,称为通路。如图4所示。

断路:电路中某处断开了,电路不再闭合,电路中就没有电流了。图5中的三种情况都是断路。

短路:电路处在不正常(电流不经过用电器)的通路工作状态叫短路。例如,用一根导线把小灯泡的两端连起来,如图6所示。由于导线的电阻值比小灯泡小很多很多,而电流是专拣阻力小的地方走,所以绝大多数电流都通过导线,完成回路,而流过小灯泡的电流极少。这种不正常的工作状态叫短路现象,此时小灯泡不发光,而导线中因流过大量的电流会产生很大的热量,电源也会损坏。

串联电路:把电路元件逐个顺次连接起来的方法叫串联,用串联的方法连接成的电路为串联电路,图7中,EL1和EL2就是串联起来接在电路中的,所以图7就叫串联电路。

并联电路:把电路元件并列接在电路两点间的方法叫并联,用并联方法连接成的电路叫并联电路。图8中,EL1和EL2就是并联在电源两端的,所以图8电路叫并联电路。在串联电路中如果想断开开关熄灭一盏灯,另一盏灯也会同时被熄灭。在非联电路中,EL1和EL2都可以分别用开关控制。在两盏灯都亮时,如断开开关SA1,灯EL1熄灭,灯EL2仍可以照常点亮,反之也是一样。

2.电流
像水管中的水沿着一定方向移动,水管中就有了水流一样,在导体中电荷沿着一定方向移动,导体中就有了电流。所以我们把电荷的定向移动叫电流。
导体中有电流流动时,可能是正电荷在移动,也可能是负电荷在移动。19世纪初,科学家在规定电流方向的时候,还不了解各种导体中是什么电荷在移动,当时就把正电荷定向移动的方向规定为电流的方向。这个规定一直延续到今天。按照这个规定,我们可以从图9中看出,当开关闭合时,电流是从电源的正极流出,经过用电器(小灯泡),流到电源负极。

电流的大小用电流强度(简称电流)来度量,每秒种通过导体横截面的电量越多,电流强度就越大。电流强度用符号I表示。电流强度的单位是安培,简称安,用符号A表示。安培是一个较大的单位,比安培小的单位有毫安(mA)。微安(μA)。它们之间的换算关系如下:
1A=1000mA
1mA=100
测量电路中电流的大小可用电流表。电流表在电路中的符号是“—”。按所测电流的大小又分为毫安表和微安表(在电子技术中通常用一块万用表通过转换开关起到以上三种电表的作用)。
在使用电流表时,一定要把电流表串联在被测电路中,如要测量流过小灯泡的电流,图10的连接是正确的,图11的连接是错误的,有可能造成电流表损坏。


在使用直流电流表时,一定要注意“+”、“-”接线柱不能接反,如图10所示,电流表“+”接线柱一定要靠近电源正极,“-”接线柱要靠近电源负极。总之,使被测量的电流从电流表“正极”接线柱流入,“负极”接线柱流出。
在使用电流表时还要注意以下两点:一是被测电流不得超过电流表的量程,若不知被测电流大小,应先选用电流表最大量程,进行试触(即把开关快速接通后就断开),如果表针偏转较小,再换用较小的量程;二是绝对不允许把电流表直接接在电源的两极上,否则有可能烧坏电流表。
电流表的读数方法:根据所选电流表的量程(挡位)确定表盘刻度线的最小分度代表的数值。如图12所示,电流表有0~0.6A和0~3A两个量程,如选用0~0.6A这个量程(用“-”和“0.6A”两个接线柱)此时可看刻度线下边的一行数字,即满度为0.6A的一行,整个刻度线分了30个小格,则每个小格表示0.02A。若此时表针停在图12所示位置,则表针所示读数为0.26A。

常见电流有三种:直流、交流和脉动直流。电流强度和方向不随时间变化的电流叫直流;电流强度和方向随时间周期性变化的电流叫交流;电流方向不随时间变化而电流强度随时间变化的电流叫脉动直流。这三种电流的波形图分别如图13(a)、(b)、(c)所示。

3.电压
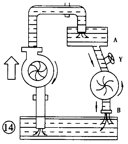
在谈电压的产生以前,我们先拿水压的产生做个比喻,如图14所示。左边水泵从水池中把水抽到A处,这时A点的水位就高于了水面B点的水位,由于有了水位差就有了水压,当打开阀门Y时,水就从A点流到B点形成了水流。在水流带动下,右边水轮机就可以转动了。

电位与水位的意思相近。在图15的电路中,由于电池的作用,电源的正极(A点)电位(势)高,负极(B点)电位(势)低,这样在闭合电路里就产生了电流,电流流过小灯泡时,小灯泡就发光。我们把A、B两点的电位(势)差就叫电压。电压用符号U表示。电压的单位是伏特,简称伏,用符号V表示。此外还有千伏(kV)、毫伏(mV)、微伏(μV)。它们之间的换算关系如下:

1kV=1000V 1V=1000mV 1mV=1000μV
一节干电池的电压是1.5V,1号、2号、4号、5号、7号干电池的电压都是1.5V,只不过在相同的放电电流时,l号电池比其它电池使用的时间长。如两节1.5V电池串联(图16),串联后电池组正、负极间的电压等于每节干电池电压之和即3V。如两节1.5V电池并联(图17),并联后的电压仍旧是1.5V。一节铅蓄电池的电压是2V,一块电子表上用的氧化银钮扣电池为1.5V。


平时我们家庭照明或家用电器用的电源是由发电厂发出经变电站供给的,它是一种城市共用的电源,所以叫市电,市电是一种交流电。我们平时所说的市电电压是220V,指的是交流电的有效值。所谓交流电的有效值,是指在两个相同的电器上,分别通以交流电和直流电,如果在同一时间内它们产生的热量相等,就认为直流电的电压(或电流)值就是交流电的电压(或电流)的有效值。有效值(U\(_{有效}\))和最大值(Um)之间的关系是:
U\(_{有效}\)=Um/\(\sqrt{2}\)≈0.707Um
Um=U\(_{有效}\)×\(\sqrt{2}\)≈1.4U有效
市电的频率是50赫兹(Hz),1Hz就是1秒钟刚好产生1个完整交流电波形。图18中,在1秒钟内有两个交变电流的波形产生,我们说这个交变电流的频率就是2Hz。

测量电路两端的电压用电压表。电压表在电路中的符号用“-3”表示。每种电压表也有一定的测量范围。在测量电压时要把电压表并联在被测电路两端。如要测量图19中小灯泡EL1两端的电压,就要把电压表并联在小灯泡EL1两端,而且要注意电压表的正、负接线柱不要接错。在使用电压表时还要注意被测电压的数值不得超过电压表的最大量程。

4.电阻
当电流流过导线、用电器等导电体时,由于电子在导体中移动时会遇到阻力,我们把电流在流动时遇到的阻力叫电阻,用符号R表示。
电阻的单位是欧姆(简称欧),用希腊字母Ω表示。此外还有千欧(kΩ)、兆欧(MΩ)。它们之间的换算关系如下:
1MΩ=1000kΩ 1kΩ=1000Ω
在一般电路中,我们总选用电阻较小的铜、铝等做导线,我们把它们叫做导体。如果某些物质对电流的阻力特别大,我们就把它们叫做绝缘体,如橡胶、塑料。纱线、玻璃等。导电性能介于导体与绝缘体之间的叫半导体,如锗、硅、硒等。
导体的电阻大小与导体的长度成正比,与导体的横截面积成反比。
5.欧姆定律
欧姆定律论述了电路中的电流强度、电压和电阻之间的关系:电路中的电流强度I,与电路两端的电压U成正比,与电路中的电阻R成反比。用公式表示,即为I=U/R。当U的单位为伏特,R为欧姆时,I为安培。
6.电功和电功率
在日常生活中,我们可以看到电流通过电灯会使电灯发光,电流通过电动机会带动机器运转,电流通过电烙铁会使烙铁发热,这些现象表明,电流作了功。在电流作功的时候,电能转变成其它形式的能(热能、机能、化学能等)。电流作多少功,实际上就是有多少电能转变成其它形式的能。
电流通过用电器所作的功,叫做电功,用符号W表示。单位时间内电流所作的功,叫做电功率,用符号P表示。用公式表示:P=W/t。某一用电器的电功率与电流强度、电压有关,用公式表示:P=IU。如果式中电流强度的单位用安培,电压的单位用伏特,那么电功率的单位是瓦特(简称瓦),用符号W表示。实际应用中,电功率的单位还有千瓦(kW)和毫瓦(mW)。它们之间的换算关系如下:
1kW=1000W 1W=1000mW
用电器上一般都标有额定电压和额定功率。例如:电灯泡上标有“220V25W”表明这盏灯在220V电压下工作时,它的功率是25W。
由电功和电功率的关系可知,在单位时间t内,电功W=IUt。如果式中电流强度的单位用安培,电压的单位用伏特,时间的单位用秒,那么电功的单位就是焦耳,简称焦。
在实际用电中,电流作功的多少用电度表(也叫瓦特小时计,用符号“4表示)来量度。通常说用了多少“度”电,就是说消耗了多少电能,或者说电流作了多少功,“度”是电功的单位,l度就是电功率为1kW的用电器工作1小时所消耗的电能。照明电路中用的单相电度表的外形和接线方法如图20所示。

7.安全用电和正确使用家用电器
人们经常要和市电打交道,如果不注意用电安全,就可能发生触电事故,严重时将危及人的生命。市电的用户电路如图21所示。电源线火线和零线之间的电压为220V,其中零线已同大地连通,也就是说它同我们脚踩的大地是同一电位(势)。当人体接触到带电体,例如电源线裸露部分,并与带电体构成回路时,电流通过人体就发生触电。在日常生活中最常见的有两种触电形式:

(l)单线触电:人体一部分触及一根火线,而另一部分与大地有较好的接触时(如踩在较潮湿的地面上),电流从火线流过人体入地,发生触电事故。如图22(a)所示。(2)两线触电:人体触及两根导线时,电流从一根导线通过人体流入另一根导线,如图22(b)所示。这种触电是最危险的,往往危及人的生命。为了防止这种触电现象发生,一般在带电操作时,都应该用单手操作,并保持人体与地绝缘。

为了正确、安全地用电应采取以下措施:(1)事先核查电器设备的绝缘电阻。例如,使用电烙铁前,应测量一下插头两端和金属外壳之间的电阻,这个电阻应在10MΩ以上。(2)保持人体与地的绝缘。例如在工作台上垫上胶皮或干燥的木板,工作时双脚应踩在这类绝缘板上。(3)安装合适的保险丝。例如电源总配电盘应安装双刀电闸,并安上合适的保险丝。保险丝的选取应根据总用电负荷而定,但最大也不能超过电度表的容量。切忌用普通金属丝代替保险丝。此外,电灯开关或单插保险盒必须接在火线上,如果误接在零线上,那么即使在开关断开或保险丝熔断的情况下,负荷线路中仍有危险的高电压。(4)注意接好安全地线。在使用三线插座时,应注意接好安全地线。三线插座内部的结构如图23所示。上方的接地符号表示接地端。左方的N表示接零线端,右方的L表示接相线(火线)端。三线插头的字母标志与三线插座含义一样,而且接地端的插脚比其他两个插脚长些(扇形)或粗些(圆形)。特别提醒注意的是,若室内两线插头上没有地线头时,不能随意将地线端接到电源零线上去。关于用电设备的外壳接地,可以通过三线插头与室内墙壁上三线插座上的安全地线相联。应特别注意,煤气管道不能用作地线,否则可能因电线接触点的火花而引起煤气爆炸事故。取暖的暖气管道也不适合用作地线,因为它不能可靠接地。经验证明,给所有带金属外壳的电器(如电烙铁、仪器、仪表等),外壳接上与大地接触电阻很小的地线,是一项非常重要的安全措施。

在安装或维修市电电路时,应先拉闸切断电源,同时在操作前用试电笔或交流电压表再进行一次测试,证明确实无电,才能开始工作。
正确使用家用电器要注意:(1)首先要认真、细致地阅读产品说明书,比较一下产品的额定电压是否和家庭所在地的供电电压(市电)相符。(2)要注意电器的额定功率不能超过你家的电度表、保险丝和导线所能承受的功率。(3)家用电器不要安置在潮湿、有热源、易燃物、灰尘多的地方。(4)使用家用电器时,如电视机。计算机等不要频繁开关机器,一般关机后需等三、五分钟后再开机,否则很容易损坏电器设备。(5)闲置的家用电器,若长时间不通电,会使电器内部发潮、发霉或发生其它故障。(6)在使用与人体直接接触的电器,如吹风机、手持照明灯等,最好购置使用36V以下的安全电压的用电器。
以上介绍了有关电工的基础知识,青少年读者在实习中涉及触碰到220V市电危险时,一定要有电工等有经验的人现场指导,避免发生触电事故。(沈征)
二、常用电子元件
1.电阻器
当你打开收音机或录音机、电视机的后盖时,你会看到许许多多的电子元件和器件。其中最多的一种约占元件总数35%~50%的就是电阻器了。图1是部分常用电阻器的实物图。电阻器常用符号R来表示。由于电阻器的种类很多,材料不同,用途不同,功率不同,因此它们的外形和体积都有很大差异。

在无线电和电子设备中为了控制电路中的电压大小,或者为了限制电路中电流的大小,人们制造了这样一种元件——电阻器。电阻器不仅有以上的作用,在电路中它还有许多作用,如将电流以电压降的形式表现出来;控制一些电容器的充放电时间等等。
在学习电工基础知识时我们知道,电压的计量单位是伏特,电流的计量单位是安培,而电阻器的电阻值基本计量单位是欧姆,简称欧,用希腊字母Ω表示。
电阻器的种类很多,这里我们只介绍常用的几种。电阻器在电路图中的符号如图2所示,其中(a)为固定电阻器;(b)为可变电阻器;(c)为电位器或微调电阻器。

图2(a)是最常用的固定电阻器。它的种类主要有碳膜电阻器RT和金属膜电阻器RJ。碳膜电阻器是在高温下把含碳有机化合物热分解产生的碳沉积在瓷管或瓷棒上,用刻槽的方法控制电阻值,然后在它的两端引出接线而制成。碳膜电阻器有良好的阻值稳定性,价格低廉,在无线电及电子设备中广泛应用。金属膜电阻器是在陶瓷骨架上,用真空蒸发法生成的一层很薄的金属或合金膜。由于电阻膜是金属材料,所以耐热性好,温度系数小,能在125℃的温度下长期工作。它的体积小,噪声低,精度高,适用于性能要求很高的通信设备和电子仪器等电路中。以前的金属膜电阻器的外表一般涂有红色保护漆,而现在的小型色环电阻器很难从外观上来区分金属膜电阻器和碳膜电阻器了。
现在电阻器常用标志方法有直标法和色标法。常用的固定电阻器都用色标法来标志它的标称阻值和允许偏差。用四条色环(带)来标志普通精度的电阻器,它的标志规律如表1所示,第一个色环表示第一位有效数字;第二个色环表示第二位有效数字;第三个色环表示有效数字后零的个数;第四个色环表示允许偏差。如某一电阻器色环依次为红、黑、棕、金,则此电阻值为200Ω,误差为5%;如一电阻器的色环依次为黄、紫、橙、银,则此电阻值为47kΩ,误差10%;又如色环依次为蓝、灰、绿则电阻值为6.8MΩ,误差20%。精密度电阻器用五条色环来标志,它与四色环标示法很相似,只是多加了一位有效数字,共有三位有效数字。

为了便于工厂大量生产,国家规定了一系列的标称阻值标准。在使用中我们应该选择标称的电阻值。普通电阻器的标称阻值系列如表2所示。

电阻器是一个耗能元件,当过大的电流通过它时,电阻器就会发热烧坏。所以电阻器的额定功率是它的一个重要参数。在电路图中如果不作说明,电阻器的额定功率一般为1/16W~1/8W。对于较大功率的电阻器,电路中都要有文字说明,或用图3所示的符号表示。

电路中还常用一些微调电阻器和电位器,它们的外观如图4所示。这类电阻器的阻值可连续调整,使用较为方便。这类元件符号中的箭头对应的是微调电阻器或电位器的滑动电刷。

2.电容器
电容器是一种储存电荷的容器,是在电子电器中大量使用的另一种主要元件。电容器的外形、材料和性能有很大的差异。图5是一些常用电容器的实物图。图6是电容器的符号。电容器常用字母C表示,它在电路中可以起到隔直流电流、通交流电流、储存电能等作用,在振荡电路中是必不可少的元件之一。


电容器的电容量单位是法拉,简称法,用符号F表示。在实际使用中由于法拉的单位太大,所以常用毫法mF、微法μF、纳法nF和皮法pF来表示。其中后三个单位应用较多。它们之间的换算关系如下:
1F=1000mF=1000000μF
1μF=1000nF=1000000pF
电容器电容量的标志方法比较多,这里介绍几种常见的标志方法:(1)直接标出容量和单位。如47μF、0.33μF、100pF、2.2pF、68nF。由于元件体积较小,大多数情况下都省去了字母F。对于带小数点的容量,常把字母放在小数点的位置上,而省去小数点。如4μ7表示4.7μF,3n3表示3.3nF即3300pF,5pl表示5.lpF等。(2)只标容量不标单位。这时数字为整数的,其单位是pF。如300表示300pF。数字为小于1的小数,则单位是μF,如0.047表示为0.047μF。(3)数码标志法。电容量的数码标志法一般也用三位数来表示,其单位为pF。前两位数字表示电容的有效数字,第三位数字表示有效数字后面要加多少个零。如223表示22000pF即0.022μF,474表示470000pF即0.47μF。这种标志方法比较简捷,使用的越来越多。
电容器的标称容量偏差常用文字符号标示,如表3所示。其中常见到的有J、K、M、N等。

电容器的另外一个重要参数就是它的额定电压,也叫耐压,通常用直流电压表示。使用时不允许超过这个电压值,否则电容器有可能被击穿。
涤纶电容器是我们常用的一种电容器,它的型号为CL。涤纶电容器的体积小,漏电少,重量轻,在低频电路和频率不是特别高的振荡电路中使用。云母电容器的型号为CY,它的高频特性好,常用在高频电路中,但它的价格较贵。瓷介电容器中有CC型瓷介电容器,它的性能稳定,耐高温,但容量较小,一般用在高频振荡电路中。瓷介电容器的另一类是CT型瓷介电容器,这种电容器体积小,容量大,但温度系数不好,常用于低频傍路电路。
还有一类电容器也是我们经常碰到并使用的,它就是电解电容器,型号为CD。这种电容器和其它的电容器在使用方面有很大的不同。从它的符号中我们看到一个“+”号。这表明电解电容器有正、负极之分,称为有极性电解电容器。使用时极性不能接错,否则电容器会有很大的漏电流,导致电容器损坏。常用的铝电解电容器的容量大,漏电也大。在电路中通常用来作低频信号的耦合和电源电路的滤波。
微调电容器和可变电容器在传统的收音机中一般是离不开它们的。用它可以方便地改变调谐谐振回路的频率,选择电台信号。(周海)