本文介绍的趣味彩灯模拟器是笔者专门为第二课堂动手做而设计的。该电路结构简单、取材容易、成本低廉、工作可靠、无需调试、一装就成。整机由信号源自动产生电路和发光二极管两部分组成。同时还配备了手动信号推动电路,供同学们慢拍观察光点的流动走向。全电路的主要元器件为CD4017和CD4069两片常用CMOS集成块和20只发光二极管。
工用原理
先让我们重温一下CD4017十进制计数译码集成块。CD4017为进口的双列直插16脚CMOS集成块,与国产的CC4017完全相同。其引出端功能及外型如图1所示。该集成块有三个输入端R、CP、EN。其中R为复位端。当R上加高电平或正脉冲时,计数器中各计数单元全部复位至“0”状态。在译码器中只有对应“0”状态的输出端YO为高电平。CP和EN是两个不同边沿计数的时钟输入端。用脉冲的上升沿计数,信号由CP端输入(EN端必须接低电平);用脉冲的下降沿计数,信号由EN端输入(CP端必须接高电平),设置两个时钟输入端是为级联时提供方便条件。CD4017有十个译码输出端(Y0~Y9),每个输出端的状态与输入计数器的脉冲个数相对应。例如,输入5个脉冲时,如果计数器从0起步计数,则此时输出端中只有Y5为高电平,其余输出端均为低电平。为了级联,电路里还设有进位输出端,每输入10个脉冲,就可在CO端得到一个进位输出脉冲。

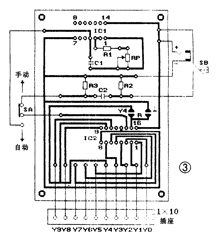
图2为彩灯信号源产生电路,图3为印制电路板图。IC1A、IC1B、Cl、R1和RP组成频率可调振荡电路。振荡频率f=\(\frac{1}{2.2(R1+RP)·C1}\),当R1、RP的单位为兆欧(MΩ),C1的单位为微法(μF),则频率f的单位为赫兹(Hz)。IC2为十进制计数译码集成块。10个输出端的信号可灵活地跟发光二极管连接。SB为轻触式自复按钮,用于人工产生慢拍脉冲。SA为“自动”和“手动”方式转换开关。向上为“自动”工作状态,向下为人工信号输入。电路中R复位端有两组半圆焊盘,用于选择计数循环方式。下面焊盘连通为十进制循环;上面焊盘连通为四进制循环。上、下两组焊盘,既不允许同时连通,亦不允许同时断开。


假设SA拨在“自动”位置,且将下面焊盘连通时,IC2的CP端在振荡脉冲的作用下,Y0~Y9输出端将依次输出高电平,并往返循环。当SA拨在“手动”位置时,则Y0~Y9将随SB按动速度的快慢进行工作。你可以随时停按SB,观测Y0~Y9的输出状态,如将上面焊盘连通(下面焊盘断开),则只有Y0~Y3往返循环输出高电平。
彩灯流动光点的模拟实验
1.追逐式光点移动实验
发光二极管依图4排列连线。箭头处标注的Y0……Y9等字符接至图2相同字符的各点。当S开关拨至左侧时,追逐光点自左向右(左边10只发光二极管);当S拨至右侧时,追逐光点由右朝左(右边10只发光二极管)。通过改变RP的阻值,可以变换流动光点的移动速度。

2.收缩式光点移动实验
发光二极管依图5排列连线。工作时,光点从左、右两侧对称地向中间方向并拢移动。

3.伸胀式光点移动实验
发光二极管的排列顺序见图6,连线方式跟图5全一样。唯有不同的只是改变了发光管接入Y0~Y9的位置。工作时,光点从中间位置对称地向左、右方向分散伸胀。

4.流水式光点移动实验
将图1上面焊盘接通,下面焊盘断开,再依图7连接发光二极管。当振荡频率较低时,光点流动如潺潺流水。“流水”速度可通过调节RP来改变。

在图5实验中,如果将发光二极管的引入信号顺序:Y0~Y9,改成顺序为:Y0、Y2、Y1、Y3、Y5、Y4、Y6、Y8、Y7、Y9或Y0、Y2、Y3、Y1、Y4、Y6、Y7、Y5、Y8、Y9等等,大家会发现许多有趣的光点移动实验。其中有跳跃式、回旋式……,真可谓千姿百态,趣味盎然。(金有锁)