中学的物理和小学的自然教学中都要用到手摇静电发生器作实验,但常常因空气湿度大而导致实验失败。为此,本文提供一种替代装置即雷电示教板供学校课外兴趣小组等制作参考。经多年使用,在墙上淌水的还潮天气,使用本装置也能使实验百分之百成功,且效果大大胜于手摇静电发生器。
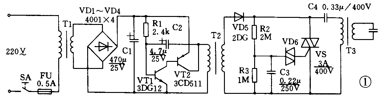
电路见图1。T1为电源变压器,它把220V的市电降为8V左右,经VD1~VD4桥式整流,在C1上形成约10V的直流电压。以VT1、VT2、T2为核心组成一个音频振荡器,其特点是制作容易,元件易购,输出功率大。经T2升压,VD5整流,在C4两端形成几百伏的高压,这个电压还经R2、R3分压,加在触发二极管VD6上。当VD6导通时,双向可控硅被触发导通,C4放电,T3的次级可感应出几万伏的高压,能在相距2cm多的电极间产生拉弧放电现象,配合恰当的面板装置及教师讲解,就能起到很好的教学效果,使学生记忆犹新。

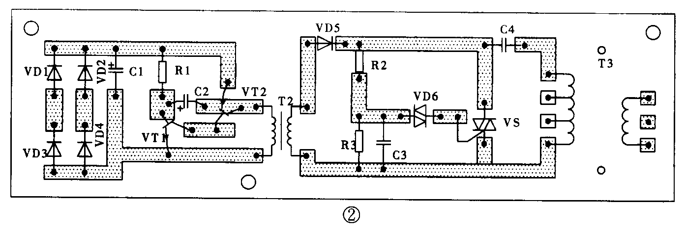
图2为印制板图。T1可用20W以上的9~12V变压器,若自制,有关数据为:铁芯19mm×24mm,初级用φ0.15mm线绕2400匝,次级用φ0.72mm线绕90匝。T2需自制,选用晶体管收音机的音频输出变压器改制,数据为:铁芯7mm×9mm,初级用φ0.35mm线绕15匝,次级用φ0.09mm线绕2300匝。注意绝缘处理,这是制作的关键。T3选用44cm黑白电视机的分立式行输出变压器(一体化行输出为直流输出,效果差些),初级视放电效果而定相关引脚。另外,VD5最好使用高频二极管,VD6用任意触发二极管,其它元件要求不高,见图1中所标数值。

对于经常停电的地区,如果想用直流供电,则在C1两端接上12V直流电即可(电流1A以上)。如果想用220V市电经整流滤波成300V直流供电,虽也可以,但安全性将降低,故不提倡。
面板设计参见图3。在约长1m、宽0.7m的长方形面板的中间开一窄斜缝,做一块像云朵似的活动块,四周用铁丝围起来作为一个电极,另在底板上画几块云块,几棵大树,一个带避雷针的烟囱等。在云块的边缘,大树的顶端及避雷针等处相应连接作为另一个电极。通过拉线使中间的活动云块移动,并在活动云块与底板上云块、大树、避雷针之间放电,则可说明什么是打雷,为什么雷雨天不能在大树下避雨及怎样预防雷击等。适当美化整个板面,一块雷电示教板就做成了。(叶建平)
