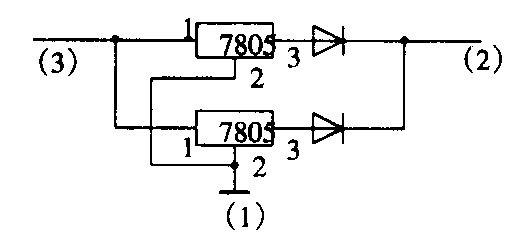
山东 刘文平:四通(STONE)MS-2401打字机中电源稳压块ST-3052V损坏,买不到同型号件,怎么办?
维修实践表明,可用两只价廉易得的7805按下图组合代换之,两只隔离二极管可用1N4001等代换。

上海 叶昌荣:东芝(TOSHIBA)V-288K录像机的开关电源调整管TP34(TE2537)损坏,无法买到同型管,怎么办?
维修实践表明,可用极易买到的塑料大功率管D1403或BU508A等同类管直接代换TE2537,代换效果很好。
甘肃 巩文达:三洋CTP3940彩电的行输出管2SD995损坏,买不到同型号管,怎么办?
三洋79P机心彩电的行输出管集电结要承受高达1900V左右的峰值电压,故采用了超高反压管2SD995,其BVcbo≥2500V、 P\(_{CM}\)=50W、ICM=3A、h\(_{FE}\)≥8,国内市场无法买到2SD995。维修实践表明,可用易得的BUY71直接代换之,并在原行逆程电容上并联一只3kV/300~500pF的电容,使行反峰电压有所下降,BUY71则可正常工作。
同样, 2SD838、BDX31、2SD2125、2SD621、BU225等均可如此代换。
江西 李文邦:富丽(FUNAI)V-35录像机磁鼓损坏,买不到同型号(PSP8G1CM)磁鼓,怎么办?
型号为PSP8G1CM的磁鼓实际上与富丽VIP-3000HC(3000I)和VIP-3000HCMK Ⅱ(3000 Ⅱ)放像机用的磁鼓(型号为PSPOE30AS、 PSP3B081N、PSP4Y212A、PSP1B091S等)完全一样,因而可以直接代换。
广西 李先:一台夏普C-5407CK彩电中放集成块IX0711CEN1损坏,造成无图无声,买不到同型号IC,怎么办?
夏普新型平面直角彩电9R-CK1机心的C-5407CK,9P-SV1机心的CV-2162CK,7P-SR1机心的SV-2142CK、CV-2121DK、CV-2121CK及C-2101V、C-2101W、C-1850CK等均采用IX0711CEM作为中放集成电路。查有关资料可知IX0711CEM可用价廉易得的M51346SP直接代换,电路不必作任何改动。
广东 凌宁:一台富丽VIP-7000卡拉OK放像机的磁鼓不慎损坏,购不到同型号件,怎么办?
维修实践证明,富丽VIP-7000型卡拉OK放像机用的磁鼓与富丽VIP-3000HCMK Ⅲ(3000-Ⅲ)放像机用的磁鼓完全相同。可取极易购得的30000-Ⅲ型磁鼓代之。代换后若无彩色,取下磁鼓转动180°再装上即可使放像机工作正常。
山西 黄文彬:一台皇冠51cm彩电出现一条水平亮线的故障,经查系场输出集成块KA2131损坏,无法购到KA2131,能否用其它IC直接代换?
KA2131是韩国三星(SAMSUNG)公司的产品,市场不易购得。但它可用常见的AN5512直接代换,电路不必作任何改动。
陕西 刘克:松下TC-2188S彩电一视放管2SC3083RL损坏,买不到同型号管,怎么办?
视放管2SC3083RL可用最常见和最易买到的彩电视放管2SC2068或2SC2688等直接代换。
广西 李之明:日立CEP-1668彩电无伴音,查得伴音IC LA1363已损坏,买不到同型号集成电路,怎么办?
CEP-1668彩电属早期日立产品,LA1363已难于买到,但可用HA1124直接代换,电路可不必作任何改动。
广东 王茂富:夏普彩电C-2101V1中的IX0712 CEN1损坏,买不到同型号IC,怎么办?
夏普SV-2142CK、CV-2162CK、C-5407CK1、CV2121DK、CV-2101V1等新型彩电均采用IX0712CEN1,它起行、场振荡和推动及同步分离等作用。IX0712CEN1损坏后,国内不易买到,但它与M52016SP功能及引脚排列完全一样,可用M52016SP直接代换IX0712CEN1。
甘肃 戴勇:SUNIX K9121S彩电中型号为UVE7-C51F的高频头损坏,买不到同型号件,怎么办?
UVE7-C5lF与国产高频头TDQ-2外形尺寸和引脚排列完全一样,内部电路也差不多,故可用TDQ-2直接代换UVE7-C5lF。
顺便说一句,UVE17-C5lF也可以用TDQ-2直接代换。
贵州 王忠义:三星(SAMSUNG)CD-518F彩电的彩管5120B22损坏,买不到同型号管,可用什么彩管代换?
5120B22的技术参数为:偏转角90°、管颈29.1mm、阳极高压25kV、聚焦电压4.7~5.5kV、灯丝电压6.3V、灯丝电流0.68A、加速极电压460~820V、截止电压60~115V。因此可用510SY22直接代换,但必须把510SYB22上场偏转线圈由串接改为并联。必要时可调节场幅、白平衡和聚焦,使图像最佳。(汤志成解答)