爱华HV-3030MK5型放像机是日本爱华公司在K3030系列基础上推出的又一种改进型机种。由于重放画质优良,功能较齐,价格较低,国内拥有量较大。虽然它也使用了16只集成电路,但选用的集成电路与K3030型机有所不同,电路也有所改进。如原机型的微处理器μPD78134现改为CXP80720,驱动块BA6219改为TA7219lS,原电源电路只用了3只三极管,现在改为用6只。目前尚无详细资料,给维修带来了一定困难,现介绍三个检修实例,供维修人员参考。
例1故障现象:电源指示亮,但电源无法启动。
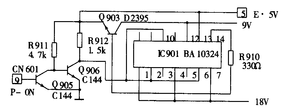
分析与检修:该机型的电源有4路电压输出:E·5V为非受控制电压; R· 12V、M· 12V、R· 5V为受控制电压。测得受控电压均无输出,E·5V电压正常。由于18V绕组整流输出电压正常,而IC901(BA10324)的②、⑥、⑩脚无5V高电平,故造成电源输出管Q901、Q902(B1370)的c极与Q904(D2395)的e极无电压输出。由于IC901的供电正常,其内部的运放不可能全部损坏,故有可能是微处理器IC601(CXP80720)的开机信号有问题或是受控控制电路工作异常。测得IC601的有5V的高电平输出,按理控制管Q905(C144)的b极得正偏而导通,Q906则因Q905导通后的箝位作用由导通转为截止,E·5V通过R912提供IC901的②、⑥、⑩脚的高电平,有关电路如附图所示,但现测得Q906的c极始终为低电平。那么只有两种原因:(1) R912开路;(2)Q906的c与e极之间击穿短路。结果查得R912(1.5k)确已开路,更换该电阻试机,放像机恢复正常工作。

例2 故障现象:像带不能入带仓。
分析与检修:通电电源红指示灯亮,启动后指示灯能熄灭,并可转为AUTO与PAL指示,由于电源启动受微处理器控制,故说明系统控制电路的工作基本正常。试入盒发现入盒电机不动作,检查机械传动部分发现各齿轮定位标记对应均正确,不存在齿轮错位问题,采用手动模拟入仓、加载动作,正常无阻,说明机械传动良好。拆下入盒电机机座,用500型万用表R×1挡并接于电机插头两端,电机能稳速旋转,故障可能在驱动电路,卸下机心发现驱动集成块I602(TA729)塑料表面已有烧坏裂痕,由于没有发现其他异常现象,故没有必要进一步检查该集成块的各极电位,换上新块试机,入盒良好,放像机工作均正常。
例3故障现象:用户反映该机在放像过程中突然出现无声无图像,各功能均不起作用。
分析与检修:开机盖发现像带仍处在加载状态;通电启动电源无反应。测得电源输出插座CN601的⑤脚E·5V电压正常,其他各脚均无电压,其⑨脚亦无开机高电平,说明系统控制电路有问题。先检查微处理器IC601的工作状态,发现IC601无工作电压,测其对地电阻值正常,无短路存在,顺该块供电支路查得三端稳压块IC603(T600D)的③脚无电压,而①脚电压正常,说明 IC603内部开路。采用78L05三端直接代换试机,放像机恢复正常工作。(唐广徽)