以轻、小、薄片状元器件为基础和自动化安装为核心的表面组装技术SMT,正以崭新的姿态在整个电子工业掀起一场技术革命。片状元器件在电子产品中的应用得到进一步普及,而它的维修与焊接技术,早已是广大业余爱好者关注的内容。
片状元器件的焊接是SMT的关键技术,它是产品质量和可靠性的保证。表面组装技术就是将片状元器件的焊接端子对准印制板上的焊盘,利用粘接剂或焊膏的粘性,把片状元器件贴到印制板上,然后通过波峰焊或再流焊实现焊接。SMT的典型工艺流程如下:印制板设计→涂布粘接剂或印刷焊膏→贴装片状元器件→波峰焊或再流焊→清洗→测试。对应的SMT设备有点胶机或印刷机、贴片机、波峰焊机或红外再流焊机、返修工作台、清洗机和测试设备。
以上是专业工厂的生产方法。对于业余爱好者和维修人员来说,一般只采用电烙铁手工操作,故要求操作者应具有熟练使用电烙铁的基础。手工焊接在无专业设备的情况下,对产品的开发试制和产品维修,都有着积极的补救意义。
一、片状元器件的贴装方式与焊盘
表面贴装一般有四种方式,参见图1,其中a、b分别为单、双面纯片状元器件贴装,c、d分别为单、双面片状元器件与插装元器件混装。

片状元器件的焊盘形状对焊盘强度和可靠性有着重要的影响。其基本要求为:①同一元件的相邻焊盘间的中心距离应等于对应引脚间中心距离;②焊盘宽度等于引脚或端焊头宽度加上或减去一个常数,数值大小可在实践中进行调整;③焊盘长度取决于端焊头或引脚高度和深度。一般地说,焊盘长度较宽度更为重要。附表列出了三种常用片状元器件的焊盘。
二、片状元器件的拆除
片状元器件的拆焊去除与插装元器件不一样。插装元器件通孔板上熔融的焊料可通过吸锡器逐个吸走,或利用金属引脚的柔性,先后去除各引脚,即可取下元件,而片状元器件必须所有引脚同时加热,在焊料全部熔化之后才能取下,否则将损坏焊盘。
1.用电烙铁拆除 电烙跌对片状矩形阻容元件、二极管、晶体管和小型集成电路的拆除尚比较有效,但对大外形、多引线的片状元器件拆除就很困难了,甚至不可能。为提高拆除质量,可以给普通电烙铁配上特殊的烙铁头,如图2所示:a用于拆除矩形和圆柱形片状元件,b用于拆除小型集成电路SOP。电烙铁拆卸片状元器件的方法多样,但目的一样,使被拆元器件的所有焊点同时熔化,才能成功取下元器件。

拆卸时,先用小毛刷在焊点上刷涂助焊剂,以去除氧化层,并给特殊形状的烙铁头上锡,使之能与焊点接触紧密,利于导热,加快熔化过程。然后用烙铁头同时对所有焊点直接加热,一旦焊点全部熔化,立即用镊子取下元件,或推离焊盘区。注意加热时间不宜超过5种最后改用一般烙铁头和由细铜线编织的吸锡带或吸锡器,去除焊盘上剩余的焊料,为下次焊接做准备。

2.用手持袖珍式热风枪拆除 这种方法是利用热空气来熔化焊点,通常热风枪温度高达400℃。为了能准确地控制并引导热气流至所需的焊盘和元器件引脚,需给热风口加上与元件对应的特殊专用管嘴,以避免影响邻近其它元件。热风枪除了用来熔化焊点拆除元器件外,还可用于焊盘热风整平,以及使焊膏再流焊,完成片状元器件的贴装。这样的方法,一般为企业或专业维修站所采用。
热风枪重量轻,使用方便,可拆装大外形、多引线、任意形状的元器件,局部加热不接触工件,与电烙铁相比成功率较高,但需要一整套与不同元器件配套的管嘴,故成本高;使用电烙铁,既经济又简便,但受元器件引脚数量和形状的限制,且对操作的要求较高,需经过多次练习和试验才能掌握,否则拆卸时易损坏焊盘。
三、片状元器件的业余焊接
片状元器件的焊接与插装元器件的焊接也不一样,后者通过引线插入通孔,焊接时不会移位,且元器件与焊盘分别在印制板两侧,焊接较容易。片状元器件在焊接过程中容易移位,焊盘与元器件在印制板同侧,焊接端子形状不一,焊盘细小,焊接要求高。因此,焊接时必须细心谨慎,提高精度。
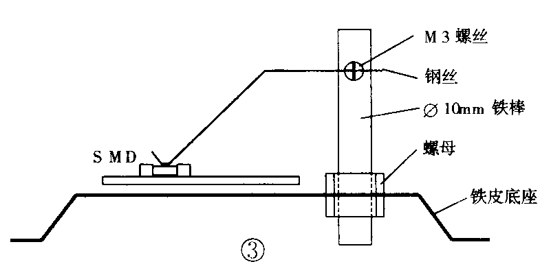
1.一般片状元器件的手工焊接 电烙铁功率采用25W,最高不宜超过40W,且功率和温度最好是可调控的,烙铁头要尖,带有抗氧化层的长寿烙铁头为佳,焊接时间控制在3秒以内,焊锡丝直径为0.6~0.8mm。焊接时,先用镊子将元件放置到印制板对应的位置上,然后用电烙铁进行焊接。为防止焊接时元件移位,可自制夹具固定元件。辅助夹具如图3所示,其制作可采用稍厚的铁皮(厚度为1.5~2.0mm)作底座,直径10mm左右的铁棒作支架,铁棒底部开有螺纹,两个螺母将其固定在底座上,在铁棒上部钻有一Φ1.2mm通孔,使之可装上Φ(1.0~1.2)mm的钢丝,钢丝弹性应选择大一些的。在小孔侧面开有一孔内攻M3螺纹,用螺丝固定钢丝,钢丝可参照图3成型。使用时,用手指轻轻抬起钢丝,再将要焊接的元器件及印制板放置其下,放下钢丝夹住元件,使元件不出现移位,确保焊接准确。此法对矩形片状元器件和小型三极管的焊接特别适用。

2.翼形引脚SOP的焊接 可采用烙铁拉焊。选用扁平式烙铁头,宽度为2.0~2.5mm,锡丝也可略粗一点为1.0mm。焊接前先检查焊盘,如有沾污可用无水乙醇擦除,再检查器件引脚,若有变形,用镊子谨慎调整。为提高易焊性,也可先刷上助焊剂,然后将器件安放在焊接位置上,先焊接其中的一两个引脚将器件固定。当所有引脚与焊盘位置无偏差时,方可进行拉焊。即用擦干净的烙铁头蘸上焊锡,一手持电烙铁由左至右对引脚焊接,另一手持焊锡丝不断加锡,如图4所示,拉焊时,烙铁头不可触及器件引脚根部,否则易造成短路,并且烙铁头对器件引脚的压力不可过大,应处于“飘浮”在引脚上的状态,利用焊锡张力,引导熔融的焊珠由左向右徐徐移动,只往一个方向,切勿往返,同时目视每一引脚焊点的形成和锡量的均匀。若发生焊接短路,可用烙铁将短路点上的余锡引渡下来,或采用不锈钢针头,从熔融的焊点中间划开。

3.浸锡焊接 采用简易锡炉即可替代波峰焊机,焊锡温度为240~260℃,浸锡时间应小于5秒。浸锡前先用环氧树脂胶将元器件粘贴在印制板上的对应位置。胶点大小与位置可参见图5,待固化后,刷上助焊剂,用不锈钢镊子夹起,送入锡炉浸锡。

焊接完成后,及时清洗干净,并借助放大镜检查焊点质量,图6中a和b为理想焊点,c和e为桥接现象,无论电气性能上是否连通,都不宜出现桥接现象,可用电烙铁修复,否则因应力不一,易造成元器件裂纹,导致可靠性下降。d为焊锡过量,但影响较小。

四、注意事项
1.焊接前,首先注意元器件是否有特别要求,如焊接温度条件、装配方式等。有些元器件不能用浸锡的方法,只能用电烙铁焊接,例如片状电位器和铝电解电容。
2.所采用的电铬铁和焊锡炉,都应有良好的接地装置,防止静电损伤元器件。
3.维修中尽量降低元器件拆装次数,多次拆装将导致印制板的彻底报废。对混装的印制板,如有碍于片状元器件拆装的插装元器件,可先行拆下。
4.对于浸锡焊接,最好只浸一遍。多次浸锡将引起印制板弯曲、元器件开裂。
5.印制板应选择热变形小的,铜箔覆着力大的。由于表面组装的铜箔走线窄、焊盘小,若抗剥能力不足,焊盘易起皮脱落。一般选用环氧玻纤基板。
6.对短形片状电容来说,采用外观较大的,如1206型,焊接时容易,但因焊接温度不匀,容易出现裂纹和其它热损伤;采用外观较小的,如0805型,虽焊接较困难,但不易出现裂纹和热损伤,可靠性较高。
片状元器件的业余焊接并不十分复杂,但它直接体现了产品的质量,并影响产品的可靠性。因此,焊接时应谨慎细致,认真观察,在实践中不断摸索总结经验,以适应片状元器件的发展。(蔡伟智)