浴室的玻璃镜面常常因凝结一层水气而影响使用,给人们带来不便。本文介绍的水气自动清除器,当检测到玻璃镜面有水气时,自动加热玻璃板,直至水气蒸发,从而保证镜面一直清晰明亮。它可广泛应用于家庭、公共浴室和高级宾馆等诸多场所,给人们带来更为舒适的环境。

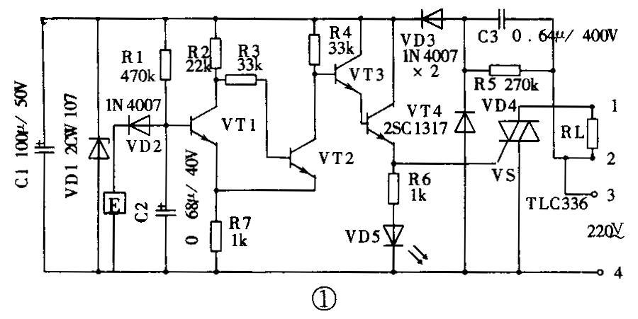
电路原理 电路见图1。E为家用磁带录像机内的结露传感器,用来检测水气。VT1和VT2组成施密特电路,根据结露元件的阻值变化,实现两个稳定的动作。当玻璃镜面周围空气湿度变低时,结露元件的阻值变小,大约为2kΩ,此时VT1的基极电位约0.5V,VT2的集电极则为低电位,VT3、VT4均截止,双向可控硅VS的控制极无电流,加热器中没有电流通过。如果镜面周围的湿度增加,则结露元件的阻值增大,VT1的基极电位上升。当结露元件的阻值增大到50kΩ时,VT1导通,VT2截止,VT2的集电极变为高电位,VT3、VT4均导通。双向可控硅VS的控制极有控制电流,VS导通,指示灯VD5变亮,电流通过加热器,使玻璃镜面受到加热。随着镜面的温度逐步升高,镜面的水气即被蒸发,从而使镜面清晰明亮。
控制电路的电源由C3降压、VD3整流、C1滤波和VD1稳压后提供。由于采用电容降压,安装调试时应注意安全。
电路的安装 可自选一塑料盒作为控制盒,将电路板水平安装固定好,注意线路中的电源、电加热器、发光管、结露元件需在盒上开口引出,见图2。结露元件、电加热器应安装在玻璃镜子背面,用导线将它们和电路联接。使用时,通过改变电阻R1的阻值,可使加热器的通、断预先确定在某相对湿度范围内。

电加热器的安装 选取电热褥的高绝缘电热丝作为电加热器,其长度可根据镜面的大小来确定。参照图2的形状缝制在一块普通布上。用801胶将布粘在镜子背面。粘接时,只需在布的4个角上涂胶,胶量不宜太大,固定住即可。此外,固定结露元件也可用此法,注意粘接元件时不能粘污感湿膜面。

元器件选择 C3选耐压大于350V的0.68μ电容,结露元件选用HDP-07型结露传感器,其外形见图3。VT1、VT2和VT3均选2SC1684,VT4选2SC1317,其它元件按图1标注值选用即可。(何鹏 李凤琴)