编者按:康佳高画质、多功能、大屏幕国际线路彩电已投放国内外市场,其中绝大多数彩电,采用了新型多制式解码集成电路TA8759BN及多制式系统开关集成电路TA8615N,而国内一些名优的大屏幕国际线路的彩电也多采用这两种集成电路,为此,本刊约请康佳集团公司的张传轮、黄荣富编写了这两种集成电路的内部接口电路的资料,希望能对从事彩电设计、生产及维修的人员有所帮助。
一、多制式解码集成电路TA8759BN

①B-Y
SECAM去加重
③R-Y

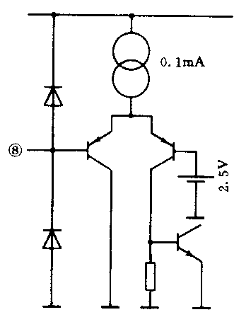
⑧、⑨:SECAM R-Y鉴频器,4.406MHz谐振回路。
⑥:色度级V\(_{CC}\)典型的电源电压为12V。旁路电容与接。

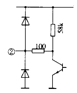
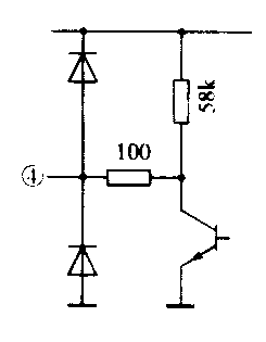
②:R-Y
色差信号输出。
B-Y
将8.2kΩ的负载电阻接地。

⑦:色饱和度控制。
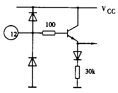
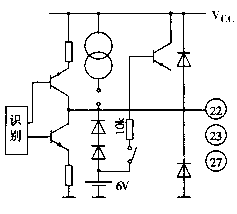
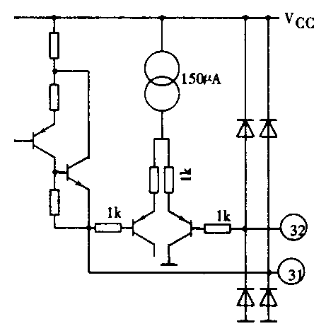
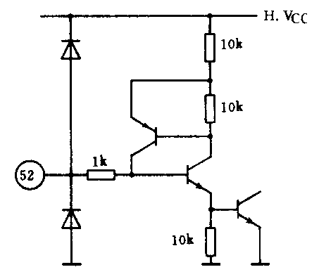
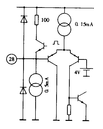
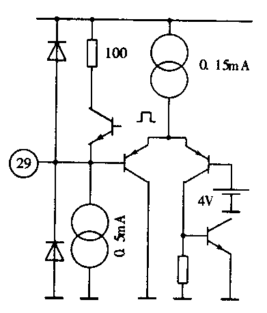
⑩、、系统逻辑(输入/输出)。
这些脚是系统识别逻辑电路输出,同时也是“手动选择方式”的输入。⑩:SWⅠ、:SWⅡ、:SWⅢ。

④、⑤:SECAM B-Y鉴频器,4.25MHz谐振回路。

PAL/SECAM制式延时1行的色度信号输入脚。④与之间的相移小于5°。
该1H延迟线信号衰减约为16dB。

:旁路,外接偏置电路的旁路电容。

延迟线驱动器输出。
PAL/SECAM色度信号输出到1H延迟线。将一个2kΩ负载电阻接地。

色调控制(NTSC制式)。
在NTSC制式时,由该脚控制色同步信号的相位。
对312/313行图文电视,脚上直流电压设置小于2.0V。并且该同步系统锁定于312/313行图文电视信号。接收普通TV或VCR信号时,脚电压大于直流电压2.0V。对于PAL/SECAM制式,脚应交流接地。

:ACC滤波器,外接ACC滤波器电容。

:旁路滤波器,外接偏置电路电容。

SECAM色度信号输入。
SECAM色度信号通过钟形滤波器接到该脚。
根据50Hz/60Hz识别逻辑电路的识别,该脚输出不同的直流电压;
7.4V对应60Hz
4.4V对应50Hz
此识别输出可用于在屏幕上改变场输出幅度和行中心位置。
色度级接地。

PAL识别滤波器。
SECAM识别滤波器。
NTSC识别滤波器。

PAL/NTSC色度信号输入。
PAL/NTSC色度信号通过带通滤波器电路引入该脚。SECAM识别方式由此脚直流电压决定。
开路:行识别
15kΩ接地:行+帧识别

SECAM识别(鉴相器)。
接SECAM识别的4.328MHz调谐电路。调节回路线圈,使信号为4.328MHz时直流电压最大。

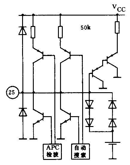
APC滤波器。
当消色电路动作时,自动搜索电路也动作,以拓宽APC电路的频率牵引范围。外接时间常数电路也能确定搜索的速度。

4.43MHz晶振输入端。
4.43MHz晶振连接在和之间。不需调整。在彩色系统识别期间,每4次APC扫描周期切换一次晶振。
3.58MHz晶振输入端。
3.58MHz晶振连接在和之间,不需要3.58MHz制式时,将接5.6kΩ电阻到地。

场输出端。

晶振驱动。

锯齿波发生器。
场负反馈电路。

同步分离输入端。
注:为同步分离器输入,(同步头向下的复合视频信号输入)。由于接口内第一只晶体管为NPN型(共基电路),第二只为PNP型(共射电路),因此从第二只晶体管集电极输出的是已分离出的同步脉冲(同步头向上)。由于第二只晶体管错画为NPN型管,所以教材和文章中常将输出的同步脉冲画成同步头向下。

选通脉冲滤波器。
注:为外接选通脉冲滤波器,根据内接口电路可知,是在第一只晶体管的集电极接第二只晶体管的基极中引出,滤波器的时间常数τ应在4.7~12μs之间选取。康佳T2910A型机有时会出现接收某个CATV台信号时,彩色时有时无的不稳定现象,即选取的滤波器时间常数不合适。现将电容C319由240p改为330p(τ=RC=27k×330p=8.9μs)就可以满意的收看所有CATV台的彩色信号了。

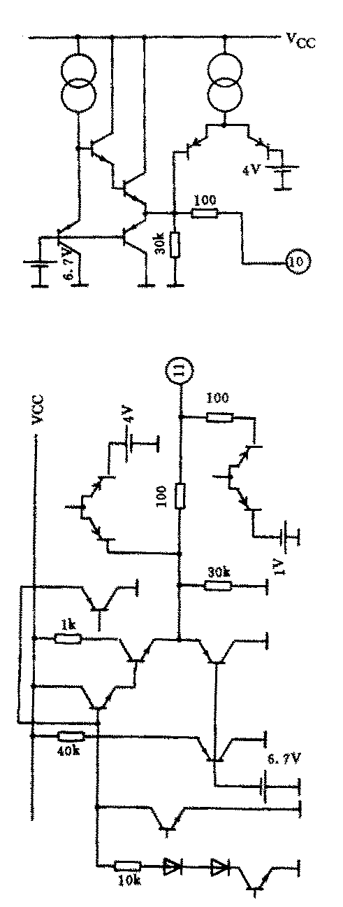
回扫脉冲输入端/同步脉冲输出端。
注:当调谐电压连续变化,并使高频调谐器接收到图像信号时,从TA8759将有同步脉冲输出到CPU,CPU识别为同步信号时,调谐电压将变大慢速搜索。只有当中频集成电路TA8611的AFT鉴频器的输出附加电压为零时,说明高频头输出的图像中频信号已为准确的38MHz,此时CPU输出片选信号到存储器,并将此时的频段、调谐电压数据存入存储器中,然后进行下一个台的搜索。
行同步脉冲,叠加行、场消隐脉冲即所谓的“沙堡脉冲”,作为CPU搜索选台的识别信号,如果在彩电出现搜索不能停台故障时,不仅要考虑AFT电路(包括中频调谐回路)是否有故障,同时应考虑输出的同步脉冲是否前送到CPU(MN15287)的。从内接口电路可以看出即是回扫脉冲输入(T3的基极),又是同步脉冲输出(T2的集电极)见上图。

:AFC滤波器。注:脚进入的是经过积分后的行逆程脉冲(锯齿波),只有在行同步信号到来期间,电流源I\(_{0}\)导通,使鉴相器工作。T1和T2组成镜向恒流源,作为T3和T4的集电极负载。以镜向恒流源作负载可以使差分电路单端输出的信号幅度增大一倍,提高了鉴相器的灵敏度。外接AFC滤波器,它的时间常数也反映了行AFC电路的响应速度,在行同步信号到来期间,如脚的锯齿波为正时,则T1、T3这路的电流增大。T2、T4这路电流减少,电位上升,由于T3集电极电位下降,使T1和T2基极电位降低、促使T2的动态电阻rce2减小,加大了电位上升量。反之,脚的锯齿波为负时,T1、T3电流减小。T2、T4这路电流增大,电位下降,由于T3集电极电位上升,使T1和T2基极电位上升,促使T2的动态电阻rec2增大,加大了电位的下降量。如若在行同步期间电位的上升量与电位下降量相等,则经积分滤波后电位不变,说明此时本机行频与信号行频同步。注意T1与T2的集电极(或发射极)之间不会有横向的电流。

32倍行频压控振荡器输入端,32倍行频压控振荡器无需调整。外接陶瓷谐振器。具有宽的频率牵引范围,覆盖行频15.625kHz和15.734kHz。

行驱动输出。
行前置驱动器的射极跟随器输出端。需要外接负载电阻。
行电源V\(_{CC}\)。
行振荡电路的电源供给端。
参考电源电压为9V(需要9V的稳压二极管),旁路电容连接至。

红基色输出。
绿基色输出。
蓝基色输出。

恢复直流分量的箝位电容器。

R输入
G输入
B输入
外部RGB信号输入。输入信号电平的峰值是0.7Vpp。

亮度控制。

X射线保护装置的输入脚。当此脚的输入电压超过指定的阈值电压时,行驱动脚电压将会降低(典型值为1.3V)。

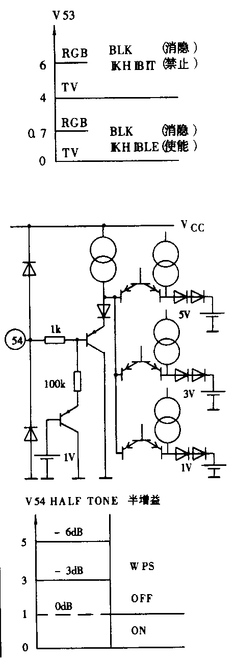
2EXT/TV(外部/电视)开关信号输入。可接入高速消隐脉冲,切换阈值电压如下图所示。

半增益/全增益切换信号输入。当半色调电路有效时,TV视频信号幅度小于通常的电平。WPS(白峰值抑制)开关,此脚也是切换白峰值抑制电路,当此电路动作时,可避免RGB输出电压高于7.5V。通过集成电路内部来降低对比度控制脚的电压。固定的时间常数是由6外接电容和改变电阻的阻值来决定。

5图像清晰度控制/静噪开关。当5电压小于0.7V时,静噪功能动作。亮度控制电路的情况与为3V电平时相同,EXT/TV开关转换为TV状态,并切断视频信号和色差信号。

二次微分视频信号输入脚。

黑电平箝位。外接黑电平箝位电容器。

2视频输入。应使用同步头向下的视频信号。

6对比度控制。对比度与色饱和度同步控制,视频增益和色度增益同时控制。典型增益控制范围是-20dB。外部RGB信号的对比度控制脚。典型增益控制范围是-12dB。

7视频电路和场偏转级的电源V\(_{CC}\)(12V)。旁路电容器连接至。
8RGB输出级电源V\(_{CC}\)(12V)。RGB输出级的VCC旁电容器连接至。
二、系统开关集成电路TA8615N

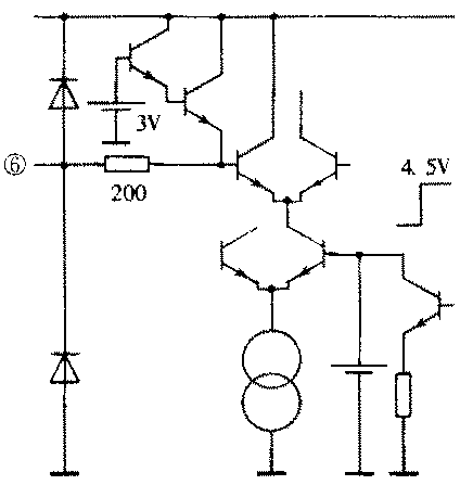
①:显示屏输出Ⅰ端。由TA8759识别的制式信号,在解码后,通过TA8615N输出,作为屏幕显示(OSD)信号。PAL制式为低电平。高=9V,低=0V。

②:显示屏输出Ⅱ端。由TA8759识别的制式信号,在解码后,通过TA8615N输出,作为屏幕显示(OSD)信号。SECAM制式为低电平。高=9V,低=0V。

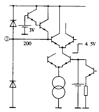
③:在伴音中频4.5MHz被搜索到以后的视频输入端。视频信号中的同步头箝位是在本部分实现的。

⑥:在伴音中频5.5MHz、6.0MHz、6.5MHz被搜索到以后的视频输入端。
视频信号中的同步头箝位是在本部分实现的。

④:显示屏输出Ⅲ端。
由TA8759识别的制式信号,在解码后,通过TA8615N输出,作为屏幕显示(OSD)信号。NTSC制式为低电平。高=9V,低=0V。

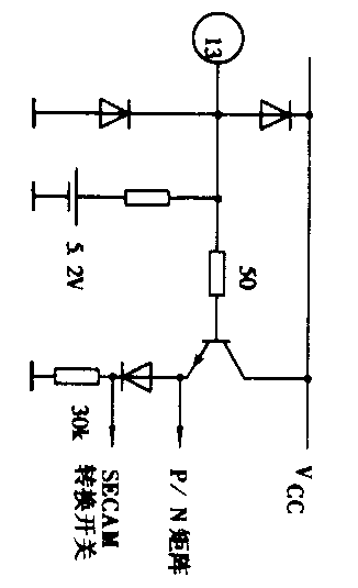
⑦:PAL制式输入端。
“自动识别”方式时,该脚为低电平,以被动(强制)制式状态(PAL)制式时为高电平。
高=5V,低=0。

⑧:SECAM制式输入端。
“自动识别”方式时,该脚为低电平,以被动(强制)制式状态(SECAM)制式时为高电平。
高=5V,低=0。

⑨伴音中频输出端。在4.5MHz/其他频率鉴别器控制下,选择或输入的伴音中频信号,由⑨脚p输出。

⑩:4.43NTSC制式输入端。
“自动识别”方式时,该脚为低电平,以被动(强制)制式状态(4.43NTSC)制式时为高电平。
高=5V,低=0。

:3.58NTSC制式输入端。
“自动识别”方式时,该脚为低电平,以被动(强制)制式状态(3.58NTSC)制式时为高电平。
高=5V,低=0。

:伴音中频(SIF)信号为5.5MHz、6.0MHz、6.5MHz的输入端。在与500kHz振荡器输出信号混频后,将转换为6.0MHz的伴音中频(SIF)信号。

:SIF频率(4.5MHz/其他)鉴别器的触发脉冲(场同步脉冲)输入端。只有在场同步脉冲到来时(场逆程消隐期间),鉴别器功能有效。

:在脚之间连接500kHz晶体振荡器。

:6.0MHz谐振器。在输出端与(交流)接地之间连接谐振网络,以便选出6.0MHz的伴音中频(SIF)信号。

:混频器输出端。在SIF为5.5MHz、6.0MHz或6.5MHz输入并与500kHz振荡信号混频后,转换为6.0MHz伴音中频输出。

4.5MHz/其他频率鉴别器的取样与保持端。

地

4.5MHz谐振回路(LC)连接到SIF鉴别器,以便确定SIF输入频率。

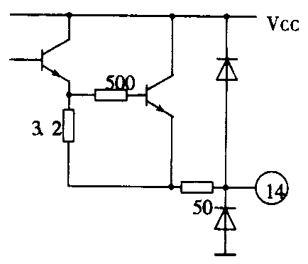
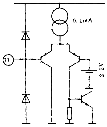
连接TA8759的,输入/输出(I/O)接口。输入阈电平为1.0V。输出电平:高=2/3V\(_{CC}\),低=地。

V\(_{CC}\)=9V(典型值)。

6.0MHz伴音中频输入端。

4.5MHz/其他伴音中频(SIF)鉴别器输出端。4.5MHz=低(0.2V),其他=高(5V),最大电流负载能力为10mA。

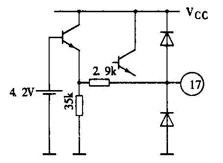
3.58MHz/4.43MHz切换开关控制输出端。高=9V,低=0V,输出端的电流容限为±5VmA。

4.5MHz伴音中频输入端。

连接TA8759的脚,输入/输出(I/O)接口。
输入阈电平为4.0V,输出电平:高=2/3V\(_{CC}\),低=地。

连接TA8759的⑩脚,输入/输出(I/O)接口。
输入阈电平为4.0V,输出电平:高=2/3V\(_{CC}\),低=地

视频输出端。
在4.5MHz/其他伴音中频鉴别器控制下,选择③或⑥脚视频输入信号。(张传轮 黄荣富)

