一、简介
随着电子科学理论的发展和工艺技术的改进,以及电子产品体积的微型化、性能和可靠性的进一步提高,电子元器件由大、重、厚向小、轻、薄发展,出现了片状元器件和表面组装技术。那么,什么是片状元器件呢?片状元器件(SMC和SMD)是无引线或短引线的新型微小型元器件,它适合于在没有通孔的印制板上安装,是表面组装技术的专用元器件。SMT是表面组装技术的缩写,其特点是将电子元器件直接安装在印制板上。目前,片状元器件已在计算机、移动通信设备、医疗电子产品等高科技产品和摄录一体化录像机、彩电高频头、VCD机等家用电器中得到广泛应用。
与传统的通孔元器件相比,片状元器件有以下优点:①尺寸小、重量轻,安装密度高。体积和重量仅为前者的6O%左右。②可靠性高,抗振性好。引线短,形状简单,能牢固地贴焊在印制板表面,可抗振动和冲击。③高频特性好。减少了引线分布特性影响,降低了寄生电容和电感,增强了抗电磁干扰和射频干扰能力。④易于实现自动化。组装时无需在印制板上钻孔,无剪线、打弯等工序,降低了成本,易形成大规模生产。
二、常用片状元器件的特点
片状元器件按其形状可分为矩形、圆柱形和异形三类。按功能可分为片状无源元件、片状有源器件和机电元件三类,见表1。片状机电元件包括:片状开关。连接器、继电器和薄型微电机等。多数片状机电元件属异形结构。下面介绍几种常用的片状元器件:

1.矩形片状电阻(图1)矩形片状电阻是开发较早和产量最大的表面安装元件之一,具有片状元器件的所有优点。它有两种类型:厚膜片状电阻和薄膜片状电阻。目前常用的是厚膜片状电阻。

与所有片状元器件一样,片状电阻的命名尚无统一规则,各生产厂商自成系统,以下介绍两种常见的方法:

代号中的字母表示矩形片状电阻,4位数字给出电阻的长度和宽度。如:3216表示32mm×1.6;对应英制代号:1206表示 0.12in×0.06in。表2所列为常见的规格尺寸。矩形电阻厚度较薄,一般为0.5~0.6mm。

阻值一般直接标志在电阻其中一面,黑底白字,见图1。通常用三位数表示,前两位数字表示阻值的有效数,第三位表示有效数后零的个数。如:100表示10Ω,102表示1kΩ。当阻值小于10Ω时,以*R*表示,将R看作小数点,如:8R1表示8.1Ω。阻值为0Ω的电阻器为跨接片,其额定电流容量为2A,最大浪涌电流为10A。
允许偏差部分字母的含义:D为±0.5%、F为±1%,G为±2%,J为±5%,K为±10%。
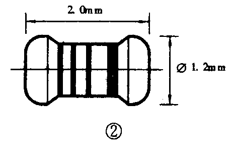
2.圆柱形固定电阻(图2)该类电阻是通孔电阻去掉引线演变而来,可分为碳膜和金属膜二大类,价格便宜,并且不用编带即可供自动贴片机贴装。额定功耗有1/10w、1/8W和1/4W三种,对应的体积分别为φ1.0mm×2.Omm、φ1.5mm×3.5mm和φ2.2mm×5.9mm,体积大的功耗也大。其标志采用常见的色环标志法,与带引脚的圆柱形电阻一样。其0Ω电阻无色环标志,参数与短形片状电阻相近。

与矩形片状电阻相比,圆柱形固定电阻的高频特性差,但噪声和三次谐波失其较小。因此,多用在音响设备中。短形片状电阻一般用于电子调谐器和移动通信等频率较高的产品中,可提高安装密度和可靠性,制造薄型整机。
3.片状电位器(图3)包括片状的、圆柱形的或其它无引线扁平结构的各类电位器。主要采用玻璃釉作为电阻体材料,其特点如下:①体积小,一般为4mm×5mm×2.5mm;②重量轻,仅0.1~0.2克;③高频特性好,使用频率可超过100MHz;④阻值范围宽,10Ω~2MΩ;⑤温度系数小,可达100ppm/℃;⑥ 额定功率一般有1/20W、1/10w、1/8W、1/5W、1/4W和1/2W六种;⑦最大电刷电流为100mA。

4.矩形片状陶瓷电容器(图4)片状陶瓷电容有矩形和圆柱形两种,其中矩形片状陶瓷电容应用最多,占各种贴片电容的80%以上。它采用多层叠层结构,故又称之为片状独石电容。同普通陶瓷电容器相比它有许多优点:①比容大,达10μF/cm\(^{2}\),易实现小型化;②无引线,内部电感小,损耗小,高频特性好;③内电极与介质材料共绕结,耐潮性能好,可靠性高。

矩形电容命名方法有多种,常见的有

与矩形片状电阻相同,代号中的字母表示矩形片状陶瓷电容器,4位数字表示其长宽,参见表3。厚度略厚一点,一般为1~2mm。

温度特性由介质材料决定。介质材料有3种:NPO(COG)、X\(_{7}\)R、Z5U。NPO的主要成份是氧化钛(TiO\(_{2}\))构成的非铁电材料,其线性特征基本上不受温度影响,在八种材料中电气性能最稳定,适用于较高要求的电路。X7R由钛酸钡(BaTiO\(_{3}\))构成,具有非线性的特征,但变化不显著,适用于隔直、耦合、旁路与对容量要求不高的鉴频电路。Z5U的温度系数变化很大,但介电常数也很大,容易制成大电容。
容量的表示法也与片状电阻相似,前两位表示有效数,第三位表示有效数后零的个数,单位为pF。如:151表示150pF,1P5表示1.5pF。
允许误差部分字母的含义: C为±0.25pF,D为±0.5pF,F为±1%,J为±5%,K为±10%,M为±20%,I为-20%~80%。
电容耐压有低压和中高压两种,低压为200V以下,一般分50V、100V两挡,中高压一般有200V、300V、500V、1000V。另外,片状矩形电容都没有印标志,贴装时无朝向性。
5.片状固体钽电解电容(图5)片状电解电容分铝电解电容和钽电解电容。铝电解电容体积大,价格便宜,适于在消费类电子产品中应用,但使用液体电解质,片状化技术难度大,其外观和参数与普通铝电解相近,仅引脚形式变化。钽电解电容体积小,价格贵,响应速度快,适合在需要高速运算的电路中使用。钽电解有多种封装,使用最广泛的是端帽型树脂封装,见图5。额定电压为4~50V,容量标称系列值与通孔元件类似,最高容量为330μF。标志直接打印在元件上,有横标端为正极,容量表示法与矩形片状电容相同,如:107表示10×10\(^{7}\)pF,即100μF。

6.片状矩彩电感器 包括片状叠层电感和绕线电感器。片状叠层电感器外观与片状独石电容很相似,尺寸小、Q值低、电感量也小,范围为0.01~200μH。额定电流最高为100mA。具有磁路闭合、磁通量泄漏少、不干扰周围元器件,也不易受干扰和可靠性高的优点。绕线电感器(图6) 采用高导磁性铁氧体磁芯,以提高电感量,可垂直缠绕和水平缠绕,水平缠绕的电性能更好。电感量范围为0.1~1000μH,额定电流最高300mA,它的应用与通孔插装电感器相似。

7.片状二极管和晶体管,圆柱形无引线二极管(图7),外形尺寸有φ1.5mm×3.5mm和φ2.7mm×5.2mm两种,其封装结构是将二极管芯片装在具有内部电极的细玻璃管中,两端装上金属帽作正负极。片状二极管为塑封矩形薄片,常见用SOT-23形式封装复合二极管,参见表4。


表4列出3种常用封装形式的片状塑料晶体管。
片状二极管和晶体管,与对应通孔器件比较,体积小,耗散功率也较小,其它参数变化不大。电路设计时,应考虑散热条件,可通过给器件提供热焊盘、将器件与热通路连接,或用在封装顶部加散热片的方法来加快散热。还可采用降额使用来提高可靠性,即选用额定电流和电压为实际最大值的1.5倍,额定功率为实际耗散功率的2倍左右。
8.片状小型集成电路SOP(图8) SOP是飞利浦公司70年代初期的产品,是双列直插式的变形,早已被其它半导体公司所采用。引线一般有翼形和钩形两种,也称L形和J形。引线数多在28根以内,最高不超过56根。引脚间距有1.27mm、1.0mm和0.76mm。SOP应用十分普遍,大多数逻辑电路和线性电路均可采用它,但其额定功率小,一般在1W以内。厚度一般为2~3mm,与双列直插形式相比,安装时占用印制板面积小,重量也减轻了1/5左右。

电阻网络也常用SOP这种封装,具有高密度和便于屏蔽的特点,一般有独立型和并列型。
下面谈谈片状元器件的包装。片状元器件的包装形式有三种:①散装,或称袋装,用字母B表示,可供手工贴装、维修和大数量漏斗贴装使用。②盒式包装,用C表示,将片状元器件按一定方向排列在塑料盆中,适合夹具式贴片机使用。③编带包装(图9),用T或U表示。将片状元器件按一定方向逐只装入纸编带或塑料编带孔中并封装,再按一定方向卷绕在带盘上,适合全自动贴片机使用。

片状元器件是表面组装技术的物质基础,它的开发及品种的增多,大大推动了SMT的发展,使电子产品进入了一个崭新的时代。在下一期里,我们将介绍业余条件下片状元器件的拆除和焊接方法。(蔡伟智)