本数字式定时器定时范围宽,可以在1s~8.5h内任选,并且通过显示器可随时了解定时的进程。定时器输出端,可以根据需要,加接其它电路,开发出更多功能或用途。
工作原理
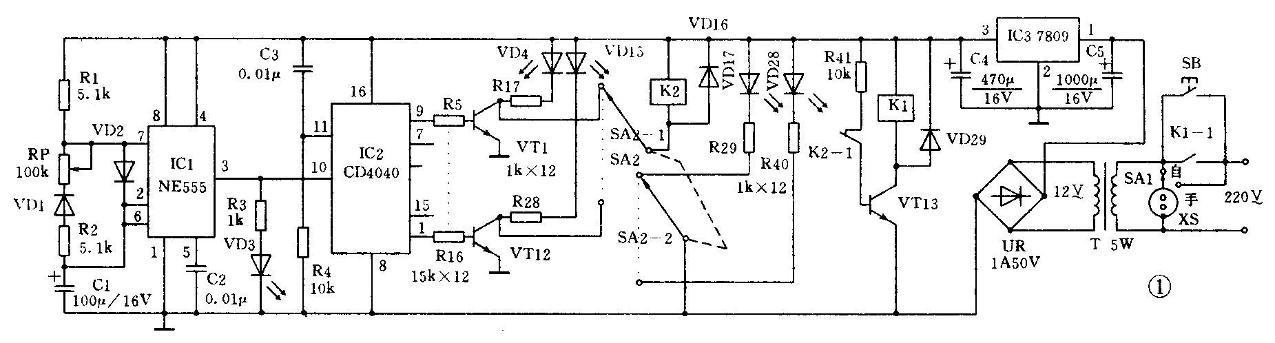
图1是定时器电路原理图,图2是其外观图。定时器电路由以IC1为核心的多谐振荡器、IC2组成的计数器、计时显示电路、执行电路和电源电路五部分组成。为了使计时定时范围宽,由时基电路555构成的多谐振荡器设计成振荡周期可变型。当RP阻值调到最小时,其周期最短,约为1s;调到最大时,其周期最长,约为15s。本定时器定时计数可达2\(^{11}\),故最长定时为15×211s约8.5h。由IC1的3脚输出的脉冲信号,一路经R3限流后送给VD3,每个脉冲的到来都使VD3点亮一次;另一路送给IC2的10脚作为计数脉冲。IC2是二进制计数器,脉冲不断送入输入端后,计数器的12个输出端以二进制的规律,分别出现高电平。其管脚排列见图3,其中Q12为高位,Q1为低位。IC2的12个输出端分别通过限流电阻与三极管基极相连,发光二极管VD4~VD15用来显示定时进程。C3、R4组成的微分电路在每次接通电源时给IC2清零,使计时工作程序从零开始。SA2是一只双刀十二掷开关,用来确定定时位置,并由发光二极管VD17~VD28中之一来显示。SA1是手动自动转换开关,当拨向手动位置时,电源插座XS接220V市电,可直接使电器得到电源而工作。若想切断电器电源,只需将SA1投向自动位置即可。



为了计时定时准确和以后使用方便,需要在RP调节钮处作一些测量后的刻度。先将RP调节到阻值最小,此位置刻“1”,表示脉冲周期为1s;把RP调大一些,用秒表测量VD3点亮两次的时间间隔,当是3s时,刻度刻“3”,直到RP阻值最大时,最后一刻度刻“15”,表示脉冲周期为15s。定时控制前,先将准备定时的时间折合成秒,再根据RP的取值和SA2的位置来进行计算。SA2所在位置表示脉冲个数,RP位置表示脉冲周期。将脉冲周期乘以脉冲个数,使表示RP与SA2所在位置能定时的时间。例如:欲定时1min20s,折合成80s(5s×16),则将RP调到5s处,SA2调到5位置(脉冲个数为2\(^{5}\)-1=16)。将SA1拨到自动位置,只要按一下SB按钮开关,定时器便投入运行。当按下SB后,XS接通市电,变压器次级得到12V电压并经UR整流、C5滤波、IC3稳压、C4再滤波后输出直流9V,VT13导通,K1吸合,K1-1常开触点闭合。SB放开,市电仍加在XS上,定时器各部分电路开始工作。预置时间显示器的5应发光二极管VD21点亮。定时器运行中,计数器不断计数,计时显示器的发光二极管在不断点亮熄灭中,从右逐渐向左移动。当计时显示器与预置时间显示器相同位的发光二极管同时点亮时,继电器K2导通,常闭触点K2-1断开,故K1断开,其常开触点K1-1也断开。定时结束。
元器件选择
R1和R2用金属膜1/8W精密电阻,其余电阻都用1/8W碳膜电阻。电容C1质量的好坏,决定了定时精度,有条件用或电容最好,选用漏电小的进口电解电容也可以。RP选用线性精密电位器。VD1、VD2、VD16、VD29用1N4001,VD3~VD15用Φ5发光二极管,VD17~VD28用Φ1发光二极管。VT1~VT12用9013或9014 NPN型三极管,VT13用8050 NPN型三极管。K2用4098或4100小型继电器,线圈电压选9V,K1用22F两组以上触点,因K1触点工作时为市电220V,所以绝缘要选高于220V的。如果输出端要接其它电路,则应考虑触点容量及组数。IC3要加配2W散热器。SB用绝缘高于220V常开触点按钮开关。电源滤波电容C4和C5,除注意选漏电小、耐压高的外,容量不宜选得过大,防止定时时间到时电源切断又接通现象的发生。其余元器件要求如图1所示。(李楷)