本仪器测量范围为-50~200℃,测量误差为±1℃,可用于冰库、冰箱等制冷设备的温度自动显示控制,也可用于茶水炉等制热设备的温度自动显示控制。
工作原理
本仪器由数显电压表头、电阻电压转换电路、电源电路三部分组成。
数显电压表头见图1,它由大规模数字集成电路模数转换块A/D 7107配合四枚数码管组成3\(\frac{1}{2}\)数显电压表头,其数显精度和速度都是比较高的。当千位数码管显示“1”而其余三位数码管全无显示,表示该电压表头输入信号已超过量程上限;反之,当显示“-1”时,表示输入信号已超过量程下限。

电源+5V通过R7向共阳数码管供电,改变R7可改变LED的显示亮度。4位数码管(LED)并排装在一块印制板上,其余元器件装在另一块板上OLED和IC1之间的对应连接用细线或线排一一焊上,最好再用704胶固定。
C1为外接积分电容,R1为外接积分缓冲电阻,C2为自动调零电容,C4为基准电容,C5、R6为内时钟外接电容电阻。
31脚为外信号输入端,30脚为输入基准信号零点,36脚为输入基准信号量程。当基准输入信号调到0~2V(一般情况下都是将其调为0~2V),外信号输入也为0~2V时,LED对应显示0~1999,相当于1mV对应显示一个数字。
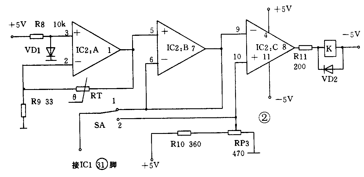
电阻电压转换电路见图2。

RT将温度的变化转换成电压信号的变化。RT选用工业用标准热敏电阻Ptl00,其温度与阻值之间的关系见附表。从附表中可知,温度和阻值之间有一定的非线性误差。由于转换电路设计得较讲究,所以前面提到的±1℃误差主要是由非线性误差引起的,电路误差几乎为零。
附表:
温度(℃) -50 -25 0 25 50 75 100 125 150 175 200
阻值(Ω)80.31 90.19 100 109.73 119.40 128.98 138.50 147.94 157.31 166.61 175.84
转换电路由四运放LM324中的2个运放(IC2:A,1C2:B)及VD1、R8、R9、RT组成。+5V电源通过限流电阻R8及VD1的稳压给IC2:A提供0.275V的基准电压源(VD1为普通二极管,可选用2AP,2AP正向压降为0.3V左右,笔者所用的2AP正向压降为0.275V)。热敏电阻Pt100充当运放的负反馈电阻,其阻值的变化通过IC2:A转换成约1~1.9V的电压信号。为了提高带负载能力又加了一级缓冲放大IC2:B,用以消除切换开关放在不同挡位引起的测量误差。
比较电路由IC2:C构成,切换开关SA置1挡,仪表显示测量值,置2挡显示设定值。当测量值低于设定值时,运放8脚输出4V左右的高电平,再通过R11使继电器K吸合,反之则释放。VD2为放电二极管,用来消除K释放时产生的感生电动势。当需要控制的负载电流较大时,可加接交流接触器。
电源电路如图3所示,考虑到+5V电源还要供给共阳数码管显示,所以C6的容量要比C7大,保证正负电源电压平衡。

元器件选择与调试
图1中的电容要选择高精度、漏电流小的电容,如CBB(聚丙烯)电容。图2中的电阻R11最好选用精密电阻以提高转换精度。继电器K选用6V左右微功耗的继电器,如 JRX-13F,其功耗约60mW,它完全可以用运放直接驱动。其余元器件的选择无特殊要求。
仪器由于采用两线制,线路电阻的补偿未加考虑。如果温度测量点和仪表之间的距离较远,必须将线路电阻和热敏电阻叠加起来作为热敏电阻的阻值进行校验。找一多圈电位器,将阻值调到80.31Ω(最好用4\(\frac{1}{2}\)数字万用表测量,如果有标准电阻箱更好),再将它接到运放1、2两端,调RP1使表显示-50为止,然后调电位器使其阻值为175.84Ω,调RP2使表显示200为止。这样反复调整几次使误差最小即可。(吉同根)