这里介绍的“一点通”节水控制器,是采用霍尔元件作传感器,利用按钮上永磁体的位移变化,产生输出信号,有效地实现了壳体内电子元件与外部环境的隔离。和采用红外、超声波等其它类型传感器的控制器相比,具有无干扰、防水防潮的性能强、成本低廉和简单可靠等特点。使用时,只要轻轻按一下开关,电磁阀即可打开放水,延时一段时间自停。仍需用水时,再按一下开关。只要选配不同的电磁阀,即可用于不同的节水领域,如:替代浴池脚踏阀,控制厕所冲洗,作自动洗手器,用于拖布冲洗池的节水控制,太阳能热水器节水开关等等。

图1是“一点通”节水控制器的电原理图。变压器提供的24V或36V电源经C1降压、VD1稳压、VD2整流和C2、C3滤波之后,给霍尔元件E及5G7555(其它品牌亦可)等组成的单稳态电路供电。当霍尔元件有永磁体接近时,输出一脉冲,经电容C4及电阻R3微分之后,使单稳态电路触发翻转,可控硅导通,电磁阀打开放水。单稳态电路复位后,阀闭水停。经验证明,用于控制淋浴节水时,单稳态电路的延时时间以1min左右为宜。当定时电容C5取220μF时,定时电阻R4取220kΩ。

全部元件固定在一块65×70mm的线路板上,封装在如图2所示的专用塑料盒内。其中图2(a)为明装盒,(b)为暗装盒,(c)为按钮结构图。盒盖与壳体的缝隙采用三氯甲烷溶剂粘接。Φ12.5×3mm的钕铁硼永磁体用树脂灌封在按钮内,以防水蚀。电子元件必须严格筛选,特别是电解电容,不仅耐压应有余量,而且漏电流一定要小,弹簧必须选用耐酸碱的不锈钢材料。霍尔元件与永磁体存在极性关系问题,安装时应注意。
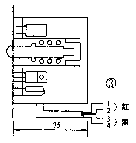
控制盒内部电路与外部的连接通过一根四芯RVV护套线来实现,见图3。其中两根红线(l、2)接电源,两根黑线(3、4)接电磁阀F。

选用什么样的电磁阀,对于系统的可靠性至关重要。除了电压指标外,介质工作压力参数绝不可忽视。一般说来,直接用于自来水管道时,可用工作电压为24V或36V、压力为0.03MP-0.8MP的DF-15型电磁阀;用于单管恒温淋浴系统时,可用工作电压为24V或36V、压力为0~0.15MP的DDYF-15型电磁阀,由于水温较高,不宜使用ABS塑料材质阀;用于厕所水箱,可用DCF-50型膜片式电磁阀。在安装时,电源的接头用黑胶布包好,外面滴以蜡烛或703胶,有接线盒更好。不论使用哪种阀,都必须注意杂质堵塞问题,最好在系统中加排污阀和过滤器。

图4是用于替代浴池脚踏阀实现淋浴节水时的系统安装示意图。若干个控制器由同一变压器供电。一个控制器驱动一个DDLF-15型低功耗电磁阀(见图5)。此系统不仅解决了脚踏阀经常损坏需频繁维修的问题,而且洗浴时不必脚踩踏板,使用者感到轻松方便,由于靠磁力线作用于霍尔元件,所以可实现高度密封,使之在公用浴地这种恶劣的环境下,能够可靠地工作。一般一只500W变压器可带动20~40只喷头。


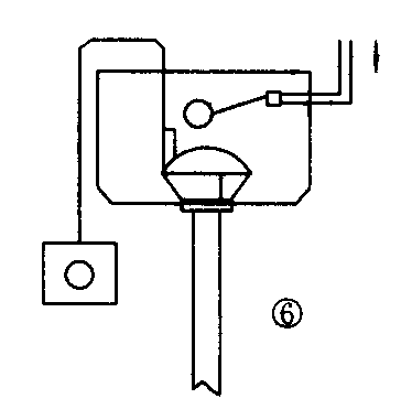
图6是用于控制厕所冲洗时的安装示意图,其目的是解决单蹲位高水箱的拉杆经常损坏的问题。在原水箱基础上配以DDCF-50型膜片式电磁阀(见图7),控制器固定在墙壁上,当水箱中的水达到一定水位时,浮球阀自动将进水管关闭,按动开关,电磁阀打开将水排出。浮球阀再次将进水管打开注水。优点是没拉杆损坏问题,水压低也可照常工作。


图8是用于控制水龙头,作自动洗手器时的安装示意图。按动固定在墙壁上的控制器按钮,电磁阀打开放水,延时15s~20s自停。电磁阀可用DYE-15型。(许世祥)