在工业生产中,压力测量及控制是极为广泛的。利用压力测量还可以间接测量很多其它物理参数。例如,飞机的飞行高度、飞行速度、大型储液罐的液位、海洋的水深、气体管道的流量、人体的血压及呼吸压等。
目前,应用最多的是指针式压力仪表。但若要对压力参数进行遥测、记录、集中监控、自动控制,则需用到压力传感器,由它将压力参数变换成电信号输出。
压力的种类及测量单位
压力有绝对压力、表压力、负压力(真空度)及差压之分。绝对压力是指被测介质作用在容器单位面积的压力,用Pj来表示。地面上的空气柱产生的平均压力称为大气压力,用Pq表示。绝对压力与大气压力之差称为表压力,用Pb表示(Pb=Pj-Pq)。当绝对压力值小于大气压力时,表压力为负值,此负值的绝对值称为真空度,用Pz表示。两个压力P1及P2的差的测量称为差压,即△P=P1-P2。
压力的国际单位是帕(Pa),l帕=1牛/米\(^{2}\)。由于帕的单位太小,一般采用手帕(kPa),1kPa=1000Pa或兆帕(MPa),1MPa=1000kPa来表示。
工作原理与结构
目前使用较多的压力传感器是硅压阻式压力传感器。生产时先利用腐蚀工艺在单晶硅片上制成硅杯,其中间部分即形成硅膜片(弹性元件),然后在硅膜片上用扩散工艺或离子注入工艺制成一定形状的应变元件(如电桥)。当硅膜片受到压力作用时,压阻效应应变元件的阻值发生变化,使电路中输出相应的电信号。
美国IC传感器公司生产的传感器的应变元件是硅膜片上四个等值的电阻,它们连成电桥电路。当受到压力作用时,一对桥臂电阻变大,而另一对桥臂电阻变小,电桥失去平衡,有一个与压力成正比的电压输出。此种传感器的符号见图1。IC传感器公司生产的很多压力传感器中还带有一个增益电阻(13/23/33/43/83/84/96/97/154/1210型),用增益电阻的大小来补偿电桥灵敏度的离散性,使传感器具有互换性。因此这种传感器就有6个引脚。图2为IC传感器公司的一种压力传感器结构图的一部分,外壳为不锈钢。此传感器中采用带波纹的不锈钢隔离膜的作用是可用于有腐蚀性的介质的压力测量。压力经隔离膜后作用在硅油上,再由硅油将压力递到硅膜片上。采用带螺纹接头可以直接安装在测量压力的螺纹孔上。这种结构可测几十MPa压力。


摩托罗拉公司生产的压力传感器采用单个应变片的结构,如图3a所示,单个应变元件与膜片边缘成45°角倾斜安置,当压力垂直施加于硅膜片上时,产生最大的剪应力,从而电阻变化也较大。此种传感器的符号见图3b。图4为摩托罗拉公司生产的MP×2100型传感器结构图,它由基本元件及两个半壳组成。基本元件的剖视图见图4b。硅膜片的上面是由硅胶组成的保护层,其作用是将内部引线与外界环境隔开,但压力可通过硅胶传递到膜片上。左右半壳可根据测量表压(GP)、真空压(GVP)、或差压(DP)不同,采用胶接方法与基本元件组合而成。由于它的外壳由塑料制成,最大的压力为1MPa。工作的介质为干净的空气。另一种有6个管脚的压力传感器,内部带有放大器,外形见图7b,它的输出电压为0.5~4.5V。



压阻式压力传感器的特点
压阻式压力传感器的核心是个半导体器件,随着半导体工艺技术的发展,性能不断提高、成本不断降低。它的主要特点有:1.工作可靠性高。2.体积小、重量轻。3.高度集成化。可将温度补偿电路、传感器和放大电路做在同一芯片上,输出为0.5~4.5V,可直接与单片机接口。4.测量压力范围宽,从测10Pa微小压力到测100MPa的高压。5.在较大的温度范围内得到较好的温度补偿。6.精度高(线性度、迟滞重复性)。7.可测几十kHz的脉动压力。8.过压可达2~3倍。
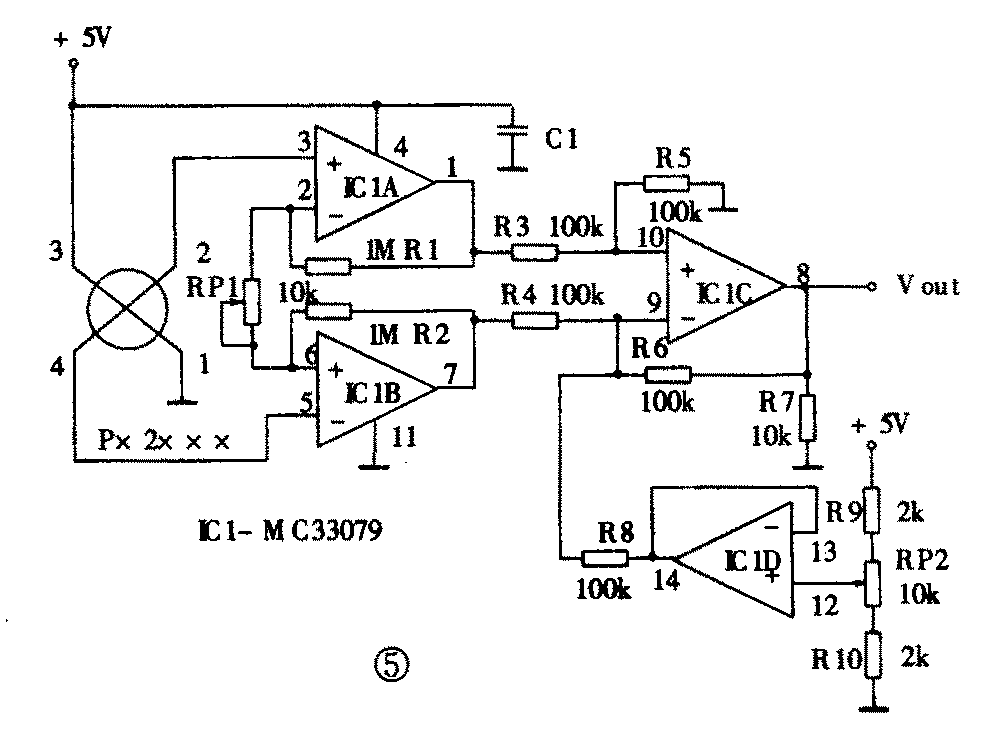
典型应用电路
1.MP×2100应用电路如图5所示。图中RP1为调整满量程电位器,RP2电位器为调整零压力时输出为零用。

2.带增益电阻的压力传感器的典型应用电路如图6所示。采用1.5mA恒流源为传感器提供电源,外电阻为100k时,输出满量程为2V,无需再进行调整。

几种压力传感器的主要参数
附表列举了几种压力传感器的主要参数及外形,供读者参考。(方佩敏)
