箱体的装饰:
(l)PVC木纹或其它颜色粘贴,方法是将PVC皮裁成比箱体侧面宽约5mm的纸卷,在开始贴的面上涂少量的乳胶,从底边开始,揭下背纸像贴壁纸似的贴在箱体上,一边贴,一边用布赶使其表面平整,若局部有气泡时,用小针将气泡处扎一小孔将空气放出,再用布赶使表皮紧密贴在箱体上,贴完一个侧面顺向贴顶面、另一个侧面和箱底面,在接口处要十分小心使其平整对纹,多余处用美工刀裁掉,前障板和后背板如果也要木纹的用上述同样办法粘贴。在接缝处特别注意,待贴好后将多余的裁掉。扬声器孔、倒相管孔和后背板的接线端子板孔,要从里面向外裁以免裁大露出底面,在孔的四周如有少量边也可将其贴在孔边。完成后最好用硝基亚光清漆喷涂几遍,使箱体外面有一定的强度,并不易受潮也更加美观。
(2)用真木皮粘贴的箱体表面,木皮的种类很多,有桦木的、楸木的、水曲柳的、柚木、红木、花梨等很多种。根据客观条件和个人情况来选择。一般木皮厚度为0.6mm。将买来的木皮加以挑选,有节疤最好裁掉,箱体侧边的木皮最好要顺纹的,使人看到后就像原木本身一样。将木皮按箱体的各个面的尺寸裁开。木皮各边要大于所贴的面约10mm左右。如果宽度不够时需要拼接,将两块要拼接的木皮重叠在一起在中间用尺子按住,用壁纸刀割开。将两部分用胶条贴好(注意要严丝合缝,以免在粘贴时有缝。胶纸最好用牛皮纸的胶带)。
将接好的木皮在凉水中浸泡一下拿出,把木工胶粘剂涂抹在粘贴面上,然后把木皮在粘贴面来回拉动使其粘上胶液,比好尺寸用手按住,从一边开始粘贴比较好。
把电熨斗(要调温的、500W左右,调到丝绸档,大约80℃左右)轻轻放在垫布上,然后慢慢按住,在木皮上一块块熨烫把空气挤出,水分烘干。如果在木皮上有淤积的乳胶,要及时将胶液用湿布擦掉,(如不擦掉,该部分的木皮会随着熨斗浮动),如此这般,木皮和箱体的面就紧紧的贴在一起了。如果在贴的过程中边缘部有无胶的地方,用竹刀将胶液抹入,继续熨烫直至粘合。在粘贴的过程中,难免有局部没有粘住的。用壁纸刀45°切一个口,用竹刀将胶液抹入再继续熨烫。直到全部粘牢。(检查时用手指敲打箱面,粘牢的部分是当当的声音,没有粘上的地方是扑扑的声音。)
用大一点的裁刀将木皮伸出的部分裁掉。先粗略裁剪一下,然后再仔细地进行修整。在贴细小的部分时,要注意千万不要使胶液溢出过多。拐角的地方木皮粘贴结合处,使两面木皮重合在一起,用壁纸刀按45°切割,乳胶用薄竹刀从后面涂抹进去即可。如是圆弧过渡角的要注意均匀的熨烫,使木皮牢固的粘在圆弧边上。箱体六个面如此这般,全部贴完后,将扬声器孔、倒相孔和后背板的端子孔上的木皮由中心向四周小心裁掉,然后用400号至1200号砂纸打平磨光。还可以沾上少量水再用砂纸打磨。这样会更光滑。底子打好后,再用95%的酒精在箱体表面涂抹一遍,用火点着,把木纹皮的毛刺烧掉这样处理两次后就可以喷漆了。喷涂方法是,用喷雾器使喷嘴距离箱体表面30cm,以一定的速度慢慢进行喷涂。直到整个箱表面均匀喷好后为止。喷涂时要注意防止喷雾器的喷嘴向下时喷不出来,所以要使箱体稍稍倾斜一些进行喷涂,待漆干后,再进行第二次、第三次喷涂,如此反复喷涂达到要求即可。
根据个人的要求和偏爱,结合实际情况可以给音箱上颜色、喷漆。漆的种类有很多,例如硝基亚光清漆、亚光聚胺脂漆、树脂漆、不饱和树脂漆和清喷漆等等。
网罩的制作。根据前障板的要求,如果是倒角边的,网罩板的尺寸和倒角后的前障板边一致再倒斜边(见图1)。用MDF整体下料,掏空中间。如采用圆弧角过渡的,网罩板的尺寸和前障板的内弧边吻合,圆弧的R上下一致。把网罩板和音箱前障板上下左右对齐。用钻在四角的预定位置先钻φ3mm的孔各一个,这是为了上下一致,然后拿下,在箱体的四角用φ13.5mm的钻头扩孔。孔深12mm注意不要钻透。将网罩塞的下半截抹上401胶,用橡胶锤轻轻钉入。注意要保持垂直将网罩架四角的孔用φ8.5mm的钻头扩孔。把网罩塞的上半截的上端抹上401胶照前同样钉入。用黑尼龙布绷在网罩架上,不要有折绉。将401胶抹在网罩架的接触音箱障板的那一面上,把尼龙布按平、粘上、直至四边粘好,待干透即可。

组装音箱
(1)先把海绵裁成箱体内两个侧面的长×宽的块,在一面上抹上401胶,将海绵从大扬声器孔塞入,均匀的粘在侧面板上,等两面粘好后再粘顶部和底面。倒相箱的吸音海绵一般为2~3cm厚。密闭箱的吸音海绵一般为4~5cm厚。
(2)把分频器板的输出、输入端用音箱线焊牢并作好高、低音+、-极标志。接后背端子板的标记。找四节塑料铅笔杆,每节约l0mm长6~8mm粗细,按预先攻好的位置用φ4mm×φ20mm自攻螺丝,把分频器板固定在后背板上,板和后背板之间用切好的塑料笔杆或竹管作支架,线路板上螺丝端要加弹簧垫和垫圈拧紧以防音箱工作时松动引起共振。
(3)如果做的是倒相箱,将倒相管一端抹上401胶,从箱体内轻轻用小锤钉入。
(4)安装扬声器时,要在高音头安装孔的一圈贴上一块厚2~3mm的音响毡或呢毡,焊好扬声器线注意正负极用黑色φ4mm的内六角螺栓固定,箱体内那端要加垫圈和弹簧垫。低音扬声器要在安装孔的位置垫上橡胶圈(可用高压锅圈或是用内胎剪制)。安装设计图将分频器到扬声器端的线按标志焊在扬声器正负极上,检查连接正确后,用φ5mm的内六角螺栓固定在箱体预定的孔上,并用玻璃密封胶在扬声器橡胶垫间涂抹,使各处不漏气。
(5)最后安装接线端子,从后背板的方孔中将预留的分频器输入端的音箱线拉出,按高低音的标记用电烙铁焊好。将端子板放在孔上,用φ3.2mm钻头在四角的孔钻约15mm深(注意不要钻透)用φ4mm×φ16mm长的黑色自攻螺丝拧紧(端子板要比较高级的、24K镀金,双线分音并在四边框下面有毡条的)。
到此自制HiFi音箱已经全部完成了,下一步是对音箱的测试、调整了。检测是否达到设计的预期标准和要求。进行煲试,使音箱稳定下来。
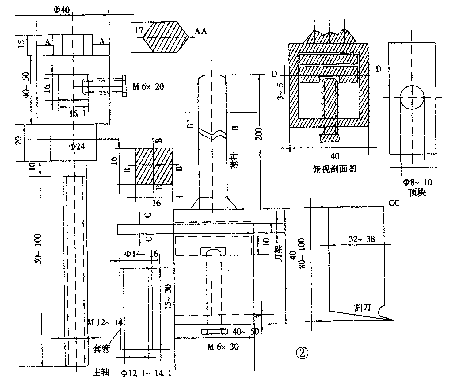
(附)自制割圆器
取φ40×200mm圆钢一截,照图画线(见图2),上端铣一个S17六角以便将来用套管卡在台钻上开圆。在中间段钻16mm孔一个,锉成正方形(16.1×16.l)。方孔的侧面取中钻φ5.2mm孔套M6螺扣装顶丝用。在中下部车成一个φ24mm的台,下端车成φ12~14mm的圆杆,距台15-30mm处不套扣,装套管用。长度由一块板或二块板的厚度决定。其余下部套成M12~14螺扣。滑臂取16×16mm的方钢200mm长,一端用电焊焊在40×40mm方钢套上,钢套中卡割刀、顶块和顶丝。方钢套的另一端中间钻φ5.2mm的孔,套M6螺扣装顶丝用。

使用时将要割圆的板画好线,中心钻一个φ14~16的孔,将套管敲入,装好主轴把滑臂杆放入中心方孔,调好半径距离用顶丝固定。把刀按所需高低调好拧紧顶丝。把主轴用螺母拧紧在板上,一手扶住主轴,另一手按装刀架向前转动,即可割圆。(王伟)