“帝王”大屏幕彩电卡拉OK功能有以下特点:(1)话筒输入与两个歌手相对应,可男女对唱。(2)回声效果,相当于大型剧场音响效果。(3)自动消除原声装置。当话筒不输入声音时,唱片上歌手的歌声自动降低,乐器声不变。(4)集成化程度高,采用BBD(斗链式器件)产生回声效果。
一、工作原理
工作原理方框图见图1。

当话筒没有声音输入时,电平传感器无输入信号,SW2001处于断开状态,IC2005的输出14脚与12脚接通,输出4脚与1脚接通,经过IC2007输出的是完整的唱片信号。当话筒有声音输入时,电平传感器IC2006有输入信号,第6脚有输出,吸合电磁开关SW200l于ON的位置,IC2005的输出第14脚与3脚接通,输出4脚与13脚接通,经过IC2007输出的信号是由变声后的唱片信号叠加上经过回声电路处理过的话筒输入信号,达到卡拉OK的效果。
二、回声原理
回声效果实际上是产生一定延时的返回声音与原声音混合的结果,延迟时间愈长,产生回声的空间就愈大,其原理如图2所示。

话筒声音经过低通滤波器IC2001、延迟电路IC2002、IC2003后,同没有延迟的声音加在一起,经过缓冲器Q2008、Q2009加到输出放大器IC2007。
延迟电路是使用斗链式器件(BBD)来产生延迟时间的。图3是本机使用的BBD集成电路MN3208的等效电路。时钟CP1和CP2反相,这样偶数的MOS晶体管和奇数的MOS晶体管导通和截止交叉进行,前段的电荷送入下段就需要一定时间。若有N段MOS管,则输出信号与输入信号延迟时间将为:t=\(\frac{N}{2Fcp}\)

Fcp是互相反相的时钟CP1和CP2的频率。图3使用的段数N=2048,时钟由IC2003(MN3102)产生,Fcp=10kHz,则延迟时间t=102.4ms。
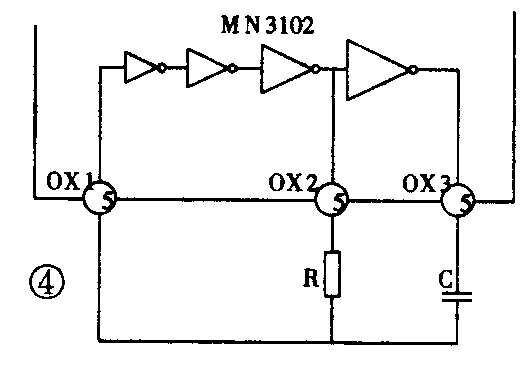
MN3102振荡器的构成如图4所示,它是一个外接RC振荡器。

三、自动变声原理
自动变声由IC2004(CXA1642)完成。它的内部构成如图5所示。

矩阵电路是加减法运算器。当矩阵电路的两个输入端同时加入一对振幅相等、相位相同的信号时,输出端的输出为零,两个信号(R右声道和L左声道)被抵消。如果两端输入信号的幅度、相位不相同,则输出端就将输出一个叠加后的信号。音像公司在录音时,往往将歌手定位在舞台中央,因此,歌声的强度在录音带的L、R声道上分布是均匀的,而乐队的各乐器却是离散地分布在舞台的各处,反映在音像带上就是R、L声道上各乐器声音的强度和相位是不等的。把这样的立体声信号输入到CXA1642电路中,消除的首先是歌手的歌声。当然,也不排除一部分振幅相位在R、L声道上分布基本相同的乐器声也被衰减,特别是乐器的低音成份。为了解决此问题,CXA1642中还设置有低通滤波器。第2脚是话筒输入信号,与乐器信号在混音电路混合后输出,完成卡拉OK功能。“帝王”彩电没有使用第2脚功能,混音电路只起放大作用,输出仍然基本上是乐器声。
四、电平传感器LA2000
电平传感电路LA2000内部构成如图6所示。

第1脚输入的信号,在第2脚连接的电容处积分,若积分电压比基准电压(第3脚)超过3.5V(典型值),输入晶体管截止,输出端第6、7脚接近电源电压9V,使继电器开关SW2001接通到“ON”位置(参见图1)。IC2005控制脚9和11处于“H”态,其输出脚4和14选择输入脚3和13,输入到IC2005的是变声器输出信号,完成卡拉OK功能。(彭定武)