一 基本功能和原理
一般电视机是采用改变显像管阴极调制电压大小的方法,来改变电子束流大小,通过亮度分布的差异来显示图像。为了提高电视图像的清晰度,经常在视频电路设置频率补偿电路。例如使用二次微分方法,对亮度信号进行预冲和过冲处理,通过改变电子束流强弱的方法,达到对图像轮廓进行“勾边”的效果,这是传统的亮度调制法。当亮度提升过分时,将在高亮度区发生电子束流过强的现象,使电子束流直径过粗,发生散像现象,图像信噪比变坏或轮廓模糊等。在许多大屏幕彩色电视机和一些大屏显示器内,除设置上述亮度调制电路外,还要配置扫描速度调制电路(简称VM电路)。后者是通过调整电子束水平扫描速度的大小,来达到图像勾边的效果。将适量的亮度勾边与扫描勾边结合起来,可以进一步提高图像的清晰程度。
我们知道,以一定强度的电子束流轰击显像管荧光屏时,若水平扫描速度比较快,束流扫过荧光粉的速度也较快,轰击时间就较短,荧光屏显示比较黑暗;相反,若水平扫描速度比较慢,束流扫过荧光粉的速度也较慢,荧光屏显示比较明亮。可见,如果控制电子束的扫描速度,就能够控制图像的明暗分布,这就是扫描速度调制的基本原理。速度调制电路就是控制电子束扫描快慢的电路,它可以按照亮度信号的不同来控制电子束的扫描速度,它取出亮度信号迅速变化的边缘成分来加速或减速电子束,同样能够增强图像轮廓的作用。该电路具有突出优点,可有效地避免亮度调制法引起的散像现象,图像的亮度越高,提高鲜明度的效果越明显,进一步提高了图像的清晰程度。速度调制电路在大屏幕彩电当中得到广泛应用,例如夏普9AW1、日立CPT2901和CPT3300、三洋CMX25l0C、松下大屏幕“画王”和“新画王”、长虹C2919P和C3418PN等,都设置了这种电路。
二 电路组成及波形
各生产厂家的扫描速度调制电路的具体结构有些差别,但其基本电路程式相似。通常,速度调制电路是由微分电路、微分放大及整形电路、推动电路和推挽功率放大输出电路等组成。其负载是特制的套在显像管颈部的扫描速度调制线圈,它与原有行偏转线圈相配合,来达到增强图像轮廓的目的。

图1是速度调制电路的有关波形。图1(a)是正极性亮度信号(通常信号幅度约1.4~1.5V\(_{pp}\))波形。将亮度信号经微分电路进行微分处理,得到图1(b)所示的正、负相间的脉冲信号,正负尖脉冲的位置分别对应于原亮度信号的上升沿和下降沿,将该正负脉冲再进一步放大和整形,并将该信号送推动级放大,再经推挽功率放大后,便可以驱动位于显像管颈部的速度调制线圈。速度调制线圈流过的电流波形与图1(b)波形相同。该脉冲性电流也要产生磁场,原有行偏转线圈的行频锯齿形电流产生行频偏转磁场,在原行偏转磁场上又叠加上新的扫描速度调制磁场,形成图1(c)所示合成磁场,其中新附加的磁场可自动调整电子束水平扫描速度。理论证明:电子束的扫描速率与磁场变化率(即电流变化率)成正比。图中线性上升部分是原来正常行频锯齿电流产生的磁场,它使电子束作匀速水平偏转运动;正负向脉冲电流产生的磁场,使电子束扫描速度变化。脉冲电流上升部分产生的磁场使电子束流加速扫描,荧光屏对应的画面变得黑暗;脉冲电流下降部分产生的磁场使电子束流减速扫描,荧光屏对应的画面变得明亮。电子束扫描速度的变化规律可用图1(d)来表示。它是图1(c)合成磁场波形的再次微分波形。在T1期间加速扫描,T\(_{2}\)期间减速扫描,其余时间为等速扫描。该电子束扫描速度波形可产生图1(e)所示亮度变化曲线,它对图像的勾边效果与亮度调制法增强图像轮廓的效果一样,在图像由黑到白或由白到黑的突变处,波形前后沿变得十分陡峭,使黑处更黑,使白处更白,取得图1(f)所示图像,显然该图像轮廓清晰而鲜明。
三 实用电路举例

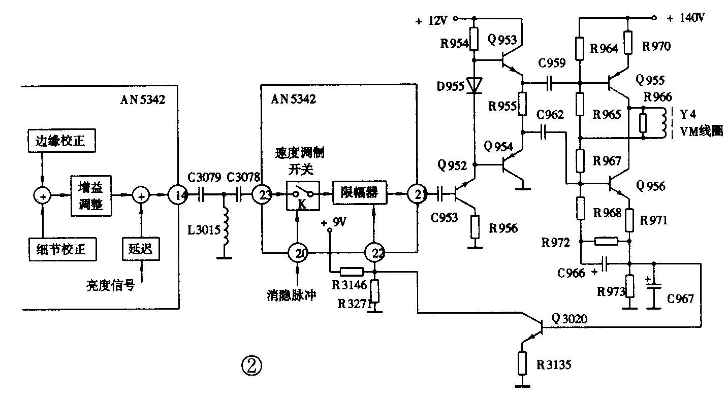
图2是松下M16M机心采用的VM电路原理图,许多松下大屏幕彩电和国产大屏幕彩电使用了这种电路。集成块AN5342是松下公司生产的图像清晰度增强集成电路,其中包括扫描速度调制电路小信号处理功能。
在该集成电路内,设置了轮廓校正(又称边缘校正)电路和动态清晰度校正(简称细节校正)电路,可分别校正图像轮廓和动态细节。两电路输出的信号进行相加,并进行增益控制,其增益大小随图像细节而变化。然后,再与原来未校正亮度信号相叠加。经过校正的亮度信号由输出。由输出的已校正亮度信号,经过C3078、C3079、L3015组成的高通滤波器。该滤波器具有微分作用,可以滤除干扰信号,滤除亮度信号的低频成分,取得高频分量,该输出信号可反映亮度信号的上升沿和下降沿。所得微分性信号由再进入集成电路,进行VM开关控制和限幅放大。最后由输出如图1(b)所示VM脉冲信号。其中,限幅器的作用是限制VM信号大小,若该信号过大,经输出级回授的负反馈电压再经Q3020直流放大,将使输出的VM信号幅度适当减弱。设置负反馈环路,是为了提高VM电路对图像轮廓勾边效果的稳定性。是限幅电平控制端,该脚电压由9V经电阻R3146、R3271分压值决定,调节该电压值可调节限幅电平,从而调节输出信号大小,即调节速度调制量的大小,本机采用不可调的固定限幅电平。另外设置了VM开关电路,可以人为地或自动地控制VM信号通路。为了防止在高亮度时出现散像现象,设置了VM开关控制端,可以输入控制电平,当控制电平超过一定值时,可使VM开关断路,使W电路失效。通常,输入信号是来自遥控系统微处理器的消隐脉冲。当输入高电平时,VM开关断路,没有VM信号输出;当输入低电平时,VM开关电路接通,VM电路正常工作。这种控制功能,可延长显像管的寿命。由于遥控电视机屏幕显示字符或数字时,画中画电视机显示子画面边框时,有关信号幅度可达到白峰电平,若仍以强电子束流慢速扫描,显像管局部荧光粉将被加速老化,利用微处理器输出的消隐电平来控制VM开关电路,可起到保护显像管的作用。
VM电路的输出部分由Q952-Q956等组成。由集成块输出的VM信号经Q952倒相放大,送到由Q953、Q954组成的互补推动级,其工作状态接近于乙类,利于消除小脉冲干扰,提高画质。后面又连接了由Q955、Q956组成的互补推挽功率输出级。当VM信号位于图1(b)的①处时,Q954导通,O955导通,VM电流流经VM线圈Y4,流向是由上向下;在图1(b)的②处时,Q953导通,Q956导通,而Q954、Q955截止,VM电流流经VM线圈Y4,但流向相反。上述VM电流产生的附加磁场,与原有行偏转线圈的磁场相结合,就得到图1(c)之合成磁场,使相应于图1(b)的①、②处电子束偏转速度增加或减小,电子束扫描速度增减规律如图1(d)所示,该曲线可形成更清晰、鲜明的图像轮廓。(董政武)