接近开关中的另一大类是光电接近开关,简称光电开关。它是通过把光强度的变化转换成电信号的变化来实现控制的。光电开关没有机械磨损,不产生电火花,是一种安全、可靠和长寿命的无触点开关。
一、分类和工作方式
光电开关按结构和工作方式可分成下列几种:
1.沟式光电开关
把一个光发射器和一个光接收器面对面地装在一个槽的两侧的是沟式或开槽式光电开关,见图1。发光器能发出红外光或可见光,在无阻挡情况下光接收器能收到光。但当被检测物从槽中通过时,光被遮挡,光电开关便动作,输出一个开关控制信号,切断或接通负载电流,从而完成一次控制动作。沟式光电开关的检测距离(见后面介绍)因为受整体结构的限制一般只有几厘米。

2.对射式光电开关
若把发光器和收光器分离开,就可使检测距离加大。由一个发光器和一个收光器组成的光电开关就称为对射分离式光电开关,简称对射式光电开关,见图2。它的检测距离可达几米乃至几十米。使用时把发光器和收光器分别装在检测物通过路径的两侧,检测物通过时阻挡光路,收光器就动作输出一个开关控制信号。

3.反光板反射式光电开关
把发光器和收光器装入同一个装置内,在它的前方装一块反光板,利用反射原理完成光电控制作用的称为反光板反射式(或反射镜反射式)光电开关,见图3。正常情况下,发光器发出的光被反光板反射回来被收光器收到;一旦光路被检测物挡住,收光器收不到光时,光电开关就动作,输出一个开关控制信号。

以上3种开关都是在光从有变无或从亮变暗时动作的,因而称为“暗态”接通(Dark ON)。
4.扩散反射式和聚焦式光电开关
图4是扩散反射式光电开关的原理图。它的检测头里也装有一个发光器和一个收光器,但前方没有反光板。正常情况下发光器发出的光收光器是收不到的;当检测物通过时挡住了光,并把光部分反射回来,收光器就收到光信号,输出一个开关控制信号。它是在光从无变有或从暗变亮时动作的,所以称为“亮态”接通(Light ON)。

在检测头的端面上装一个透镜,使光聚焦在特定距离的某一点上。只有被检测物通过这一点时光电开关才动作,见图5。这种光电开关是扩散式的一种变型,称为聚焦式光电开关。它发出的是可见光,常用来识别产品的标志,标志一般为几毫米大小的色点。

5.光纤式光电开关
把发光器发出的光用光纤引导到检测点,再把检测到的光信号用光纤引导到光接收器就组成光纤式光电开关,见图6。按工作方式的不同,光纤式光电开关也可分成对射式、反光板反射式、扩散反射式等多种类型。使用的光纤有玻璃光纤和塑料光纤两种。

光纤式光电开关的优点,一是能检测非常细小、用其它方法很难检测的物体;二是可以在强腐蚀性、高温度等恶劣的环境下工作,使用玻璃光纤还可以在200多度的高温下工作。
二、对几个技术指标的说明
1.检测距离 光电开关的检测距离是指在无尘的洁净环境中最大的可靠检测距离。对聚焦式光电开关则指从检测头到透镜聚焦点的距离。它是用标准检测物测得的。因此对于对射式和扩散反射式光电开关来讲,被检测物的材料、透明度、色差、表面反射率等都会使检测距离发生变化;对反射板反射式光电开关来讲,检测距离还和反光板的面积大小和表面反射率有关。使用时应参照手册给出的修正系数进行修改。
2“亮通”和“暗通”光电开关输出负载有动合型(NO型)和动断型(NC型)两种。此外,光电开关本身还有“亮通”(Light ON)和“暗通”(Dark ON)两种不同的使用方法。对于数字电路来讲,它们正好是“1”和“0”的关系。在电路上可以用“反相”的办法很容易地使“1”变成“0”,或使“0”变成“1”。光电开关上一般都有“亮通”和“暗通”的转换开关,用户可自行选择转变。
其它技术指标,如负载电流、静态电流、开关频率等和电容式、电感式接近开关中的说明基本相同。
三、产品介绍
光电开关产品一般都是按结构系列分类的,下面以台湾和可公司产品为例予以介绍。
光电开关产品除沟式、光纤式自成系列外,其它各个产品系列中包含有对射式、反光板反射式、扩散反射式等各种工作方式。为了便于区别,使用了专用的符号和标记。对射式使用字符“SP”,并在发光器和收光器的侧面分别画有一个向外和向里的箭头,见图7(a)。扩散反射式用“CR”表示,并在光电开关侧面画有一对一正一反的箭头,见图7(b)。反光板反射式用“SR”表示,并在标记的一对箭头前加画一条短竖线表示反光板,见图7(c)。

1.圆柱型 型号为“XP”型,外形为带M18螺纹的圆柱体,外壳材料为工程塑料。一种是检测端和引线在同一轴线上的,见图8(a)。另一种是检测端和引线成直角状,或称是弯头的,在型号中加符号“S”以示区别,见图8(b)。用红外光作光源,SP、CR、SR三种工作方式产品都有,用直流或交流电源,检测距离10厘米到10米不等。这是一种通用性很强的产品,可在各种自动控制场合使用。

2.薄型型号有“KB”型、“XPE”型,外形为很薄的矩形方盒,外壳有金属壳和塑料壳两种,见图9。光源有红外光和红色可见光两种。检测距离为2厘米到10米不等。适宜于在窄小的检测现场使用,特别是在多个并列使用时更为方便。

3.扁方型 型号有“KF”、“KG”、“KI”、“XPF”、“XPG”等,外形是比KB型略大的立方体,外壳材料为塑料,见图10。光源都是红外光,检测距离从几厘米到10米不等。这种产品适应性强,电源有直流、交流和交直流两用,可在各种自动控制现场使用。

4.长方型 型号有“KE”型和“N”型,外形比KF型更大,外壳材料为塑料,见图11(a)。光源为红外光,检测距离从50厘米到10米。适用于检测较大的物体,如车辆、集装箱等。

N型中有一个系列是聚焦式光电开关。外型和N型其它产品相同,但从检测端看到有一个透镜,因此很容易识别,见图11(b)。它的光源是红色或绿色可见光,在型号中分别用“ER”和“EG”来表示。检测距离有10毫米和25毫米两种。适宜于在食品、医药、轻工等行业的流水线上识别彩色标记,进行计数、封装、分类、传送等工作。
5.沟型 型号为“KP”型,外壳材料有金属和塑料两种,见图12。光源有红外光和红色、绿色可见光,检测距离就是槽的间距,有10毫米和50毫米两种。可用来检测薄形板材,也可用于识别产品标记。

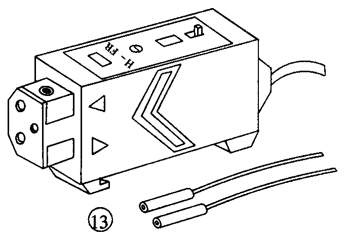
6.光纤式光电开关有“H”、“E”、“N”3个系列,外形为长立方体,和N型相似,塑料外壳。光纤为塑料光纤,有带套管的、螺纹管的和插头的多种,长度最长为1米。光电开关的检测端有接插光纤的孔、螺纹管或插座,见图13。光源有红外光和红色可见光两种,检测距离2mm到15cm不等。由于光纤很细,且可以任意弯曲(曲率半径应大于25mm),所以光纤式光电开关适宜于检测细小的物品,特别适合在窄小和复杂的检测现场中使用。

四、使用注意事项
1.对射式和反光板反射式光电开关的检测距离是以不透明的物体作标准检测物测得的。而扩散反射式光电开关的标准检测物是规定尺寸大小的白纸。因此对扩散反射式光电开关来讲,被检测物的颜色、尺寸大小、表面反射率等的变化都会使实际检测距离增大或减小。使用时应根据现场的具体情况参照手册给出的修正系数来确定实际的检测距离。
2.光电开关的工作和光照以及环境的明暗有关。它在无尘埃的洁净环境中和在有烟雾、尘埃的环境中工作,性能有很大差别。也就是说,光电开关的实际检测距离还和环境的洁净度有关。因此使用时还应该根据检测现场的环境洁净度,从手册给出的修正系数、曲线以及计算方法来求出实际的检测距离。
3.光电开关使用的电源和输出方式有:直流3线式、直流4线式、交流2线式、交流3线式和交直流两用5线式等多种。品种多,适应性强。直流电源产品的负载电流最大为300mA;交流电源产品的负载电流最大为3A(250VAC)完全可以应付一般电机电器控制的需要。
用户在选用直流3线式时要根据输出电路的要求决定选用N型还是P型。而新颖的直流4线式则不分N型或P型,它可以有“NPN-NO”、“NPN-NC”、“PNP-NO”等6种不同接法,可和任何一种电路连接。用户使用时不必考虑是选用N型还是P型。因此通用性更强,使用更方便。
其它注意事项,如电路的连接,安装、调整方法,维护要求等,可参阅使用说明书。
五、应用举例
下面我们举一个技术革新应用的实例。某厂的点焊机原来因安全防护装置不完善曾发生过电极冲手的事故。后来使用光电开关制成了简单的防护装置,防止了事故的发生。
点焊机的工作原理是:脚踏开关(动断型)和电磁阀串接在动力电源中,通电后电磁阀得电,气压把点焊机触头顶起。工人踩下脚踏开关,电磁阀断电,触点靠重力下滑完成一次点焊工作。工人操作时用右手握镊子夹住工件推入点焊机,右手一般是安全的。但有时工人会不慎用左手去协助做辅助操作,这时如踩下脚踏开关,触头就会下滑压伤左手。
把扩散反射式光电开关装在点焊机操作台左侧适当位置上,把光电开关的输出动合接点(NO型)并联在脚踏开关的接点上,就做成了简单的安全防护装置,电路连接图见图14。正常工作时光电开关不动作,不影响点焊机的操作。如工人不慎将左手伸进危险区,光电开关就动作,接点闭合。这时即使工人不慎跌下脚踏开关,电磁阀仍得电,触头不会下滑,保障了工人的安全。

点焊机电磁阀的工作电流不大时,可选用KF-CR-30A型交直流两用电源的光电开关。如电磁阀工作电流大,可选用XP-CR-15A型光电开关,用光电开关的输出接点控制交流接触器,把接触器的动合接点并联到脚踏开关的接点上。
最后需要指出的是,电感式接近开关的检测对象必须是金属物,电容式接近开关则还能测非金属,但它的检测距离有限。光电开关的检测对象几乎没有什么限制,它的检测距离小到几毫米,大到几十米都行。如果用光纤在光反射器和光接收器之间建立起低损耗的连接链路,就可以形成一个高品质的几乎不受干扰的控制系统。它的性能显然比电感式、电容式接近开关优越得多(有关邮购消息见本刊今年第9期第41页)。(于鹤飞)