电感式接近开关是一种动作灵敏、稳定可靠的无触点电子开关。它不需要接触检测物,用感应的方法把接受到的信号转换成电信号去控制机器或系统工作,没有机械磨损,没有电火花,是一种安全长寿的控制器件。和电容式接近开关相比,它的检测对象只限于金属物,但它的响应频率高,品种系列多,价格也较低,因此,在计数、定位、限位和检验等方面得到广泛的应用。下面我们以台湾和可公司的产品为例予以介绍。
一、电感式接近开关的外形结构
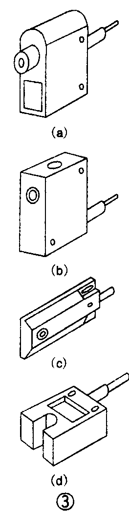
电感式接近开关的外形有圆柱形、方形和特殊形等几种,外壳材料为金属或塑料。图1(a)是金属壳圆柱形结构,外带固定螺母,有TLX型和XP型;图1(b)是塑料外壳圆柱形,用固定架固定,有ABS型和XPB型。方形的都是全塑料外壳,图2(a)是TL型和XPC 型;图2(b)是TL型。特殊形的也都是塑料外壳,图3(a)和3(b)是TL型和XPD型;图3(c)是TL型和XPD型;图3(d)是TL型和TLC型。这些接近开关,一端为电源和输出引线,或带固定接头或不带接头,有3根引线(棕、黑、蓝3色)或2根引线(棕、蓝2色)。与其相对的一端即为检测面。当端面是长方形,需要特别指出检测头的具体位置时,往往用突出的探测头来表示,见图3(a)。也有的检测头不在与引线相对的端面上,这时就用圆圈图形标记指出具体位置,见图3(b)和图3(c)。



二、电感式接近开关的型号和性能
(1)型号
电感式接近开关的型号如下

①:用2或3个字母表示外形结构系列。“TLX”和“XP”为金属壳圆柱形结构,“ABS”和“XPB”为塑壳圆柱形结构;“TL”和“XPC”为塑壳方形结构;“TL”、“XPD”和“TLC”为塑壳特殊形结构。
②:用2位数字表示检测面的尺寸,圆形的即是指它的外径,方形的指其一个边的长度,长方形的则指其较长一边的长度,单位为mm。特殊形的有时就不给出数字。本例中“12”表示金属圆柱形接近开关的检测面外径是12mm。
③:用1个字母表示接近开关的长短。“L”为加长型;“G”为超短型;无字母则为标准型。本例中“L”即指加长型。
④:用1个字母表示所用电源和输出电路的类别。“N”为直流电源3线式,NPN型晶体管输出;“P”为直流电源3线式,PNP型晶体管输出;“A”为交流电源2线式,晶闸管输出;“D”为直流2线式。
⑤:用2位数字表示接近开关的检测距离,单位为mm。
⑥:用字母和数字表示外部电路的通断情况。“E1”为动合(常开)型;“E2”为动断(常闭)型。
⑦:用数字表示输出引线的长度,单位为m。本例中“4”表示输出引线长4m;无数字则为标准长度2m。
⑧:用字母C表示引线带快速接头;无字母则不带接头。
(2)主要技术性能
电感式接近开关的技术性能的意义与电容式接近开关相同,见上期“电容式接近开关的应用”一文。
电感式接近开关的检测距离可从1mm到20mm。最大负载电流,直流电源的产品为200mA;交流电源产品为300mA。直流电源产品的响应频率较电容式开关高,一般为几十次到1千次,特殊的最高可达4万次;交流电源产品的响应频率和电容式开关相同,也是每秒25次。
三、电感式接近开关的连接方法
电感式接近开关使用的电源和输出引线有直流3线式、交流2线式和直流2线式3种。前2种的连接方法见上期“电容式接近开关的应用”一文。
直流2线式使用10V~30V DC电源。负载应该串联在开关和电源之间。如果负载是没有极性要求的,则串接在电源正极性一侧或负极性一侧都可以。对有极性要求的负载,如晶体管电路等就必须按下述方法连接:NPN电路的负载应串接在1(棕)端和电源正极之间,如图4(a)所示;PNP电路的负载应串接在2(蓝)端和电源负极之间,如图4(b)所示。

四、电感式接近开关的使用注意事项
1.手册给出的检测距离是用规定尺寸大小的标准检测物测出的。如被测物尺寸较小就应减小检测距离。使用时应在现场实地调整和修正,找出实际的检测距离,经反复试验动作无误后方可正式使用。
2.产品给出的检测距离是以标准检测物(铁)测得的。如被测物是非铁金属,实际检测距离应按给出的修正系数修改。例如使用TLX-18-NO8E1接近开关去检测黄铜材料,原给的检测距离ds是8mm,手册给出修正系数是0.4,所以实际检测距离应该是:ds'=8×0.4=3.2mm。
3.交流2线式和直流2线式都不允许不串负载而直接和电源相连。
4.接近开关的电源线应敷设在独立的管道内。
5.如负载是大功率电机电器,可用继电器或接触器作接近开关的负载,再用继电器或接触器的触点去控制大功率电机电器。
6.如检测现场较远,可选用长引线的产品。但延长线的长度不得大于100m,并应考虑线路电压降和采取抗干扰措施。
7.接近开关的使用环境应符合规定。
五、应用举例
传送带在运转过程中,有时因受异物卡阻使主电机过载时间过长而烧毁。用接近开关可以组成主电机保护电路。接近开关的安装及整机保护电路如图5所示。

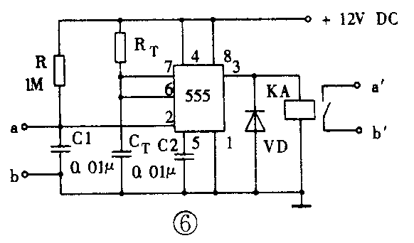
图中PS1、PS2是台湾和可公司的TLX系列电感型接近开关。它的特性是当有金属接近时便动作。在传送带的某个滚轴(从动轮)上加装一个“金属检测块”,使之随滚轴同步转动。在滚轴两侧正对着金属检测块的位置,安装两个互成180°的接近开关PS1、PS2。由PS1、PS2带动继电器KA1、KA2。KA1和KA2的触点经延时电路控制继电器KA3、KA4。KA3和KA4的触点和按钮开关SB串接在交流接触器K的供电回路内。KA1~KA4可用一般的直流继电器。延时电路要求延时时间T应略大于滚轴转动一周所需的时间。图6给出一个用555集成电路组成的延时电路以供参考。其中BT和GT的数值应按T=1.1R·C(秒)选用。例如RT为10MΩ,C为1μF时,T为11秒。

保护电路的工作原理如下:首先按下按钮开关SB,电机转动。在电机带动滚轴转过一周之后,PS1、PS2动作,KA1、KA2动作。滚轴又转过一周多之后,KA3、KA4动作,使KA3、KA4的接点闭合后即可放开按钮,电机便正常运转,传送带就正常传送。滚轴每转动一周,就使PS1、PS2动作一次,使KA3、KA4接点保持闭合,保证主电机不停地转动。
传送带在传送过程中如因受异物卡阻而使传送带不能移动时,滚轴就再也无法转动了。当滚轴停止时间超过延时时间T时,继电器KA3、KA4释放,切断电机的电源,主电机即停止转动,保护了电机。
本电路必须使用2个接近开关。如只用1个接近开关,当检测块正好停在接近开关的检测点上时,就不能切断电源,达不到保护的目的。现在用2个接近开关,不管检测块停在什么位置上,总有1个接近开关会检测不到金属块而复原,切断交流接触器的供电以保证电机的安全。
利用继电器的多余接点组,还可以在本电路中加入告警电路,使电机停止后立即发出声光告警信号,以便工作人员及时排除故障。(有关邮购消息见本刊今年第9期41页)(于鹤飞)